Главная Случайная страница


Полезное:

Как сделать разговор полезным и приятным Как сделать объемную звезду своими руками Как сделать то, что делать не хочется? Как сделать погремушку Как сделать так чтобы женщины сами знакомились с вами Как сделать идею коммерческой Как сделать хорошую растяжку ног? Как сделать наш разум здоровым? Как сделать, чтобы люди обманывали меньше Вопрос 4. Как сделать так, чтобы вас уважали и ценили? Как сделать лучше себе и другим людям Как сделать свидание интересным?


Категории:

АрхитектураАстрономияБиологияГеографияГеологияИнформатикаИскусствоИсторияКулинарияКультураМаркетингМатематикаМедицинаМенеджментОхрана трудаПравоПроизводствоПсихологияРелигияСоциологияСпортТехникаФизикаФилософияХимияЭкологияЭкономикаЭлектроника






Линии зарубежных фирм





 

Наиболее известными за рубежом фирмами, выпускающими оборудование для макаронных фабрик, являются фирмы «Брайбанти», «Паван» (Италия), «Бюлер» (Швейцария), «Бассано» (Франция).

 

 

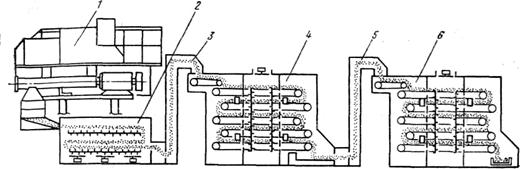
Рис.11. Схема автоматической линии фирмы «Брайбанти» для производства длинных макаронных изделий

 

1 - пресс, 2 - саморазвес, 3 - камера термообработки (предварительной сушки), 4 - камера окончательной сушки, 5 - охладитель, 6 - накопитель-стабилизатор, 7 - упаковочный автомат

 

На этих линиях вырабатывают широ­кий ассортимент макаронных изделий. На рис, 11 и 12 приведены схемы моделей поточно-автоматизированных линий той же фирмы для производства длинных изделий с сушкой в подвесном состоянии и короткорезаных изделий с сушкой их в ленточной су­шилке.

Автоматическая линия для производства длинных изделий марки АТН включает макаронный автоматический пресс модели «Кобра» с саморазвесом, сушилку с накопителем и набор фасовочно-упаковочного оборудования.

Сушильная установка состоит из камеры предварительной тер­мообработки сырых изделий, камеры окончательной сушки, охла­дителя и накопителя-стабилизатора.

Особенностью обеих линий является применение принципиаль­но новой для макаронной сушильной техники технологии сушки. Фирма «Брайбанти» применила сушку изделий всех видов при высоких температуре и относительной влажности воздуха и вклю­чила в линию аппарат-охладитель для быстрого снижения тем­пературы высушенных изделий.

 

Рис.12 Схема автоматической линии фирмы «Брайбанти» для производства короткорезанных изделий

 

1 – пресс, 2 – камера для термообработки изделий, 3 и 5 – элеваторы, 4 – камера предварительной сушки, 6 – камера окончательной сушки

 

Особенностью линии фирмы «Бюлер» (рис.13) с аэрозольной подачей муки является применение специальных смесителей для муки. Крупка из производственных силосов через шнековые затво­ры с пневмоприводом, автоматические контрольные весы и систему аэрозольтранспорта подается непрерывным потоком в мукосмеситель, который позволяет смешивать одновременно до пяти партий муки. После непрерывного смешивания крупка поступает в надпрессовые накопительные бункера, вмещающие её суточный запас.

 

Рис. 13 Cхема макаронной фабрики, оснащенной линиями фирмы «Бюлер»

 

1 – пункт разгрузки муки, 2 – силосы мучного склада, 3 – мукосмесители, 4 - рассевы, 5 – фильтры, 6 – макаронные прессы, 7 – сушилки трехзонные для длинных и двухзонные для коротких изделий, 8 – силосы-накопители







Date: 2015-05-09; view: 2778; Нарушение авторских прав



mydocx.ru - 2015-2026 year. (0.392 sec.) Все материалы представленные на сайте исключительно с целью ознакомления читателями и не преследуют коммерческих целей или нарушение авторских прав - Пожаловаться на публикацию