Главная Случайная страница


Полезное:

Как сделать разговор полезным и приятным Как сделать объемную звезду своими руками Как сделать то, что делать не хочется? Как сделать погремушку Как сделать так чтобы женщины сами знакомились с вами Как сделать идею коммерческой Как сделать хорошую растяжку ног? Как сделать наш разум здоровым? Как сделать, чтобы люди обманывали меньше Вопрос 4. Как сделать так, чтобы вас уважали и ценили? Как сделать лучше себе и другим людям Как сделать свидание интересным?


Категории:

АрхитектураАстрономияБиологияГеографияГеологияИнформатикаИскусствоИсторияКулинарияКультураМаркетингМатематикаМедицинаМенеджментОхрана трудаПравоПроизводствоПсихологияРелигияСоциологияСпортТехникаФизикаФилософияХимияЭкологияЭкономикаЭлектроника






ЭЛЕКТРОСТАТИЧЕСКИЕ ПРЕОБРАЗОВАТЕЛИ 5 page





подвижная часть поворачивается и закручивает пружину 9 (рис. 8-25, а). Внутренний конец пружины закреплен на.оси, а наружный — на неподвижной части ИМ. Момент спиральной пружины возрастает прямо пропорционально углу а поворота подвижной части, т. е. Мпр = ^сс, где W — удельный противодействующий момент. Поэто­му при токе /i подвижная часть отклонится на угол аг (рис. 8-26), при котором Мвр1 — Л4пр, а при токе /2— на угол а2 > ах.

В магнитоэлектрических ИМ противодействующий момент соз­дается двумя растяжками 5, которые выполняют одновременно две функции, заменяя пружину и ось.


г)
Рис. 8-25, в, г

Подвижная часть любого ИМ представляет собой колебательную систему (см. § 2-4, 2-5), вследствие чего после включения ИМ, а также при изменениях входной величины подвижная часть будет совершать затухающие колебания около положения равновесия. Чтобы увели­чить затухание и уменьшить время установления показаний, в ИМ при­меняются специальные устройства — успокоители. В электромагнит­ном ИМ, приведенном на рис. 8-25, а, в качестве успокоителя при­менено крыло /2, которое при повороте подвижной части расходует энергию, перегоняя воздух в камере 13 из одной части в другую. Такой же воздушный успокоитель использован в электродинамиче­ском ИМ. В ферродинамическом механизме применен магнитоиндук- ционный успокоитель, представляющий собой тонкое крыло 12 из ал ю-


мини я, перемещающееся в зазоре постоянного магнита 13, показан­ного дополнительным видом (рис. 8-25, в). В крыле индуктируются токи, которые, взаимодействуя с полем постоянного магнита, тормо­зят движение крыла.

В магнитоэлектрическом ИМ успокоителем служит каркас рамки и, кроме того, сама обмотка, если она включена в измерительную цепь с конечным сопротивлением; поэтому специального успокоителя не требуется.

К вспомогательным деталям ИМ относятся токоподводы к рамке, противовесы, пружинящие стрелочные упоры, корректор. Токопод- водами обычно служат пружины или растяжки, поэтому, по крайней мере, одна из них должна быть изолирована от корпуса. Противо­весы 8 в виде стержней с гайками предназначены для уравновешива­ния подвижной части, т. е. для перемещения ее центра тяжести на ось вращения, так как в противном случае возникает дополнительный момент, вызывающий погрешность меха­низма. Пружинящие упоры служат для ограничения перемещений подвижной части при ее отклонении за пределы шкалы. Кор­ректор, предназначенный для установки подвижной части в нулевое положение, со­стоит из поводка 10, к которому прикреп­лен внешний конец пружины 9У и винта 11 с эксцентрично расположенным пальцем, ко­торый входит в прорезь поводка.

Как видно из рассмотрения конструк­ций, ИМ содержит следующие основные узлы: устройство, создающее вращающий момент, зависящий от электрической величины; устройство, создаю­щее противодействующий момент, зависящий от угла отклонения; отсчетное устройство, успокоитель и ряд вспомогательных деталей.

Погрешности ИМ. В измерительном механизме осуществляются этапы преобразования: преобразование тока во вращающий момент, преобразование момента в угол поворота подвижной части и преоб­разование угла поворота в отсчет по шкале прибора.

Каждый из этапов преобразования характеризуется своими по­грешностями, совокупность которых определяет погрешность ИМ. Погрешность измерительного прибора обычно больше погрешности ИМ (исключение составляют миллиамперметры и ЭМ амперметры, для которых YnP " Уи.м)» так как в приборе имеется еще преобразователь измеряемой величины (напряжение, мощность, частота и т. д.) в ток.

Структурная схема ИМ представлена на рис. 8-27, а. На этой схеме указаны также основные составляющие погрешности нуля ИМ и основные причины погрешности чувствительности.

Погрешность преобразования угла поворота а в отсчет N по шкале, характеризуемого коэффициентом /<шк, определяется погрешностью отсчета (Даотсч), погрешностью* градуировки шкалы (Досгр), погреш­ностью от смещения градуированной шкалы при ее установке (Дауст) и погрешностью опрокидывания (Аа0пР) Для приборов, подвижная
часть которых закреплена на оси в кернах. Последняя составляющая иллюстрируется рис. 8-27, б, из которого видно, что при наличии за­зора (около 20 мкм), необходимого, чтобы ось не защемило при темпе­ратурных деформациях, ось при нормальной температуре занимает одно из двух крайних положений, наклоняясь от гипотетического

2 Ад

среднего положения на угол ея«±-р1/ -у R, где /0 — длина оси;


А — зазор и R — радиус закругления подпятника. При этом стрелка, условно показанная на рис. 8-27, б точкой и направленная перпенди-

с

а) да.

гр

^кМнеураВн

1/W


 

 


Act
\rw
уст

Температура, Вибрация, Внешнее магнитное поле, собственное магнитное поле
А а.
Температура, усталость от нагрузок} старение --
>олр

ff(zrnfirecfi)j AM3t



 

 


Рис. 8-27

кулярно плоскости чертежа, смещается по шкале. Смещение равно Да ~ ±га, где а — расстояние от нижней опоры до стрелки. Соот­ветствующий этому смещению угол поворота Ааопр = =hsa//CTp, где 4тр — длина стрелки.

Погрешность преобразования вращающего момента определяется как возможной нестабильностью противодействующего момента W, так и действием «паразитных» моментов. Эти моменты вызываются трением в опорах (ДЛ4тр), если прибор на кернах; неуравновешенно­стью подвижной части (ДЖнеуравн), если центр тяжести горизонтально расположенной подвижной части не совпадает с осью прибора, как показано на рис. 8-27, в (эта составляющая меняется при повороте подвижной части, т. е. вдоль шкалы прибора, так как центр тяжести перемещается из точки А в Л'), и дополнительными электромагнит­ными силами, которые можно определить для каждого конкретного случая на основании уравнений, приведенных в § 8-1. Например, для
ферродинамического ИМ, кроме основного момента, могут действовать следующие составляющие сил: электромагнитная, стремящаяся раз­вернуть рамку так, чтобы ее индуктивность была максимальной, ин­дукционная — при работе механизма на переменном токе и наличии индуктивного сопротивления и емкости в цепи рамки, магнитоэлектри­ческая, вызванная воздействием магнита успокоителя на ферромагнит­ные элементы подвижной части. Погрешность, вызванная 2 А/И', будет, очевидно, тем больше, чем меньше вращающий момент механизма.

Точность преобразования тока во вращающий момент определяется главным образом стабильностью характеристик магнитной цепи пре­образователя, эта погрешность для МЭ преобразователя подробно рассмотрена в § 8-4.

Динамические свойства измерительных механизмов определяются

собственной частотой подвижной части /и u = ^VrW/J, где J — мо­мент инерции подвижной части. Время установления показаний даже при оптимальном успокоении не может быть меньше периода собствен­ной частоты, и поэтому оно тем меньше, чем выше собственная частота.

Вращающий момент ЭМ, ЭД и ФД измерительных механизмов содержит, кроме постоянной составляющей (см. рис. 8-6), перемен­ную составляющую, частота которой в два раза выше частоты вход­ного тока. ИМ должен быть фильтром для этой составляющей, поэтому рабочий частотный диапазон ИМ ограничен снизу частотой /изм ^ ^(5 4- 10) /илй. При меньших частотах стрелка заметно Колеблется вокруг некоторого среднего положения.

Вращающий момент магнитоэлектрических ИМ пропорционален току. В этом случае угол а (имеется в виду шкала с нулем посредине) пропорционален мгновенному току, пока частота изменения тока намного меньше собственной частоты ИМ, т. е. fmzii ^ 0,1 fll M. Если частота измеряемого тока повышается, отклонение подвижной части увеличивается до максимального при /изм = /и>м (при степени успо­коения меньше единицы), а затем уменьшается и, наконец, при /изм


f„м наблюдается просто дрожание стрелки, стоящей на нулевой отметке;

Область применения и технические характеристики различных ти­пов ИМ представлены в табл. 8-2. Электромагнитный ИМ (см. рис. 8-25, а) не имеет токоведущих частей на подвижной части, что повышает технологичность и надежность прибора. Неподвижная ка­тушка может быть намотана достаточно толстым проводом, и поэтому

1 dL,

ЭМ амперметры не содержат шунтов. Угол отклонения а = 2w ^ да

принципиально нелинейно зависит от тока. Некоторая линеаризация шкалы достигается специальным выбором формы сердечника. Маг­нитное поле электромагнитного ИМ относительно слабое, так как си­ловые линии замыкаются в основном по воздуху. Поэтому ЭМ преоб­разователь обычно помещается в экран, защищающий его от внешних магнитных полей. Вращающий момент ЭМ преобразователя также сравнительно мал, так как мала его индуктивность L = ^2/(ZM<B03fl + + ZM серд) и ее производная dL!da\ поэтому увеличение момента до

Таблица 8-2
Разно­видность ИМ Род тока и частота Уравнение преобразования Макси­мальная чувст­витель­ность, рад/А Мини­маль­ный предел измере­ния, А Выс­ший класс точ­ности Область применения
Электро­магнит­ный Постоянный, переменный 40 Гц—8 кГц I dL 2W да. ' 0.15 • 10» 10-2 0,2 Амперметры, вольтметры
Электро­динами­ческий То же 40 Гц—20 кГц 1 дМ12,, а= и/ 0а /1/г Cos* 0,15 • 10» Ю-2 0,1 Амперметры, вольтметры, ваттметры, фазометры
Ферроди- н амн че­ски й ц> То же 40 Гц—1.5 кГц 1,, а= W <?а 0.3 - 10® 0,5 • 10-2 0,5 Самопишущие и щитовые амперметры, вольтметры, ваттметрм
Магнито­электри­ческий Постоянный 1 1,5. 10' 10-' 0.1 Амперметры, вольтметры, гальвано­метры
Индук­ционный Переменный 50 Гц ff -^r fill2 sin t|) - - 0,5 Счетчики

Примечание. В формулах для переменного тока / —действующий ток, я))— угол сдвига между токами h и /2.

 

нужного значения (5—20 мкН-м) достигается увеличением тока и числа витков, т. е. потребляемой мощности. Электромагнитные ИМ применяются главным образом в щитовых амперметрах.

Электродинамический ИМ вообще не содержит ферромагнитных элементов. Благодаря этому его момент Мвр = IJ^dM^lda опреде­ляется чисто геометрическими параметрами катушек и преобразование тока в момент осуществляется с очень высокой точностью. Но момент, создаваемый электродинамическим ИМ, очень мал по значению, по­этому существенно сказываются на точности преобразования все «паразитные» моменты (рис. 8-27, а). Для того чтобы их свести к мини­муму, все детали ИМ выполняют из неферромагнитных материалов, а детали крепления катушек — даже из непроводящих материалов, чтобы исключить их влияние на взаимоиндуктивность. Подвижная часть крепится, как правило, на растяжках. Для защиты от внешних магнитных полей ЭД механизм закрывается экраном, который должен быть достаточно удален от катушек, чтобы не влиять на их взаимо­индуктивность. Приборы с ЭД механизмами имеют большие габариты и потребляют большую мощность. ЭД механизмы применяются в лабо­раторных высокочастотных приборах переменного тока.


Ферродинамические ИМ, не отличаясь по принципу действия от электродинамических, имеют совершенно другое конструктивное вы­
полнение, так как в них магнитная цепь выполняется из ферромагнит­ного материала. Введение ферромагнетиков увеличивает погрешность преобразования токов в момент, но позволяет существенно увеличить при том же потреблении мощности сам момент и тем самым снизить погрешности от «паразитных» моментов. Ферродинамические ИМ при­меняются в щитовых и самопишущих приборах, где моменты трения в опорах особенно велики.

ЭД и ФД механизмы являются множительными преобразовате­лями и могут в зависимости от схемы включения их обмоток измерять ряд электрических величин: ток, напряжение, мощность, частоту, угол сдвига между двумя напряжениями.


I ' ' I Миллиамперметр \
ПвР 1 да Яш+Rn
_ 2 дИ12- р- 1 ~ШГ

 

 


ГВольтметр f

I_________ '

да RA+RP

Рис. 8-28

Некоторые схемы включения и формулы, связывающие вращаю­щий момент с измеряемой величиной, приведены на рис. 8-28.

Магнитоэлектрический ИМ обладает рядом преимуществ по срав­нению с другими ИМ, а именно: сильное магнитное поле, создаваемое постоянным магнитом, и, следовательно, относительно большие вра­щающие моменты, малое потребление и инвариантность к внешним магнитным полям, отсутствие успокоителя в виде специального кон­структивного элемента и, следовательно, при световом отсчете почти симметричная подвижная часть, линейная зависимость между углом поворота и током и, наконец, высокая точность.

j Ваттметр

В развитии современного приборостроения намечается тенденция к унификации электромеханических измерительных приборов путем использования во всех приборах одного типа механизма — магнито­электрического с дополнением его соответствующим электронным пре­образователем измеряемой величины в постоянный ток.

8-6. ИНДУКТИВНЫЕ ПРЕОБРАЗОВАТЕЛИ

Типы индуктивных преобразователей. На рис. 8-29, а изображен наиболее распространенный преобразователь с малым воздушным зазо­ром 6, который изменяется под действием измеряемой величины Р. Рабочее перемещение в преобразователях с переменным зазором со­ставляет 0,01—10 мм. В этих преобразователях могут быть использо­ваны ферритовые элементы 2 (рис. 8-29, б), выпускаемые промышлен­ностью; для изготовления подвижного сердечника 1 используется основание такого же элемента 2, стенки которого сошлифовываются. На рис. 8-29, в изображен преобразователь с разомкнутой магнитной цепью. Он представляет собой катушку 7, внутри которой помещен стальной сердечник 2. Перемещение сердечника вызывает изменение индуктивности катушки. Этот тип преобразователя применяется для измерения значительных перемещений сердечника (10—100 мм).

s) 1

Рис. 8-29

 

Одним из основных достоинств индуктивных преобразователей является возможность получения большой мощности преобразователя (до 1—5 В-А), что позволяет пользоваться сравнительно малочувст­вительным указателем на выходе измерительной цепи и регистриро­вать измеряемую переменную величину самописцем или вибратором осциллографа без предварительного усиления. Лишь при малогаба­ритных преобразователях приходится прибегать к включению уси­лителя.

Электрическое сопротивление индуктивного преобразователя (рис. 8-29, а), если считать, что все сопротивление утечки Rn вклю­чено параллельно зазору, выразится формулой

ЖЕ

7 - Р Mi _ о I; юзу2

ш +
Mo s
и
V(Ru+Rd\RyT? + Xi Из этой формулы видно, что Z связано с длиной 6 воздушного за­зора зависимостью, близкой к гиперболической. С увеличением за­зора и, следовательно, сопротивления R0 полное электрическое со­противление уменьшается так, как показано на рис. 8-30, а: от Zmax = — \Ro + i<ow2I(RM + jXj[ при бесконечно малом зазоре до ZmiB =

£ — /<0-ь/ р; v 1 djd — ko-w -

f Ям-НХм+ЯбЧЯут"

= | Ro + faw2/(Rm 4- jXw + RyT) | при бесконечно большом зазоре. Линейный участок характеристики преобразователя с начальным за­зором 60 ограничен значением Д6, равным (0,1 -г- 0,15) 60. Относи­тельное изменение сопротивления AZ/Z из-за наличия активного со­противления обмотки, потока утечки и магнитного сопротивления маг­нитопровода в 2—5 раз меньше относительного изменения зазора ее = Д6/60. Кроме того, следует обратить внимание на то, что при изме­нении сопротивления зазора Rб изменяется не только реактивная X = сош2 (RM + Я5 || RyJ/Z^ но и активная R = R0 + оw2XJZl составляющая сопротивления Z, и вектор сопротивления изменяется так, как показано на рис. 8-30, б.


 

Расширения линейного участка характеристики можно добиться, если выбрать в качестве выходной величины преобразователя не со­противление Z, а проводимость У, которая (если пренебречь сопро­тивлением R) связана с изменением зазора как

Y 5=5 Z e я (^м + + ((^ут)-

Изменение проводимости при относительном изменении зазора = = М/60 составит

А = С+ЧI куг)[>+('-и6)(Лв.|лут)]

и будет почти линейно связано с изменением зазора, в особенности при RyT Уравнение можно представить как

СОW2! СОW2 ' сош2 *

и очевидно, что в векторной диаграмме (рис. 8-30, е) приращению про­водимости ДЬ в комплексной плоскости соответствует вектор, парал­лельный мнимой оси и сохраняющий свое направление независимо ни от размера рабочего зазора 6, ни от частоты питающего напряжения (при изменении со одинаково изменяются обе составляющие проводи­мости).

Существенно уменьшить погрешности и увеличить линейный уча­сток характеристики позволяет применение дифференциальных пре­
образователен (см. § 3-2). Поэтому в практике индуктивные преобра­зователи всегда выполняются дифференциальными. На рис. 8-31, а показана схематическая конструкция преобразователя для измерения малых перемещений, на рис. 8-31, б — для измерения больших пере­мещений. В том и другом преобразователе происходит перемещение сердечника 1 и при перемещении в 'направлении стрелки — увеличе­ние сопротивления Z2 и уменьшение сопротивления Zx.

Измерительные цепи индуктивных преобразователей. Наиболее распространенной измерительной цепью является неравновесный из­мерительный мост, в два пле- б) ча которого включены две по­

ловины дифференциального преобразователя (рис. 8-31). Как было показано выше, с измеряемой величиной линей­но связана проводимость пре­образователя. Поэтому опти­мальным (см. § 3-2) является включение преобразователей параллельно источнику и пи­тание моста от источника на­пряжения. Уравновешивание моста в начальном положе­нии, т. е. при отсутствии входной величины (техноло­гически трудно получить точ­ное равенство сопротивлений двух половин преобразователя), произ­водится по двум составляющим — изменением сопротивления нера­бочего плеча Z3 или Z4 и изменением сопротивления г0, включаемого в плечо, имеющее меньшее активное сопротивление. Частота и напря­жение питания моста выбираются на основании соображений, изло­женных в § 8-2. Если при А6 = 0 цепь была уравновешена, то при Д6 0 через указатель потечет ток, равный 1ук = UAY, где AY — приращение электрической проводимости преобразователя.

Ток /ук сдвинут по фазе относительно напряжения питания. Угол сдвига <р = 90°, если RyK 0, и ф — 0 при RyK -> оо; при согласо­вании сопротивления указателя с выходным сопротивлением моста ф = 45°. Это обстоятельство необходимо учитывать при наличии в из­мерительной цепи фазочувствительных устройств.

8-7. ТРАНСФОРМАТОРНЫЕ (ВЗАИМОИНДУКТИВНЫЕ)

ПРЕОБРАЗОВАТЕЛИ

           
J1 1 t     Z; У
Ш
Рис. 8-31

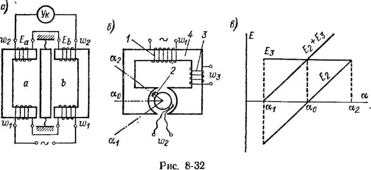
На рис. 8-32, а показан дифференциальный трансформаторный пре­образователь с подвижным сердечником. Как видно из сравнения рис. 8-31, а и 8-32, а, конструкции магнитной цепи индуктивного и взаимоиндуктивного преобразователей одинаковы, отличаются они только числом обмоток. При центральном расположении сердечника ЭДС вторичных обмоток равны между собой и суммарная выходная

ЭДС Е2 равна нулю, так как обмотки включены встречно. При сме­щении сердечника ЭДС Е2 определяется по формуле

Ег = Еа6 = /ош> = Jpgh (Zm6 - ZMO).

\ ЛМЙ б / ^мЛб

Полагая, что ZM6 = ZH + AZM, a ZMO = ZM — AZM, можно упро­стить это выражение:

На рис. 8-32, б показан преобразователь угла поворота. Напряже­ние питания подводится к обмотке 1. Обмотка 2 в этом преобразовав теле выполнена в виде рамки, имеющей возможность поворачиваться в кольцевом зазоре магнитной цепи 4. При крайних положениях рамки (аг и а2) индуктированная в ней ЭДС £2 имеет максимальное значение.


 

По мере поворота рамки в горизонтальное положение ЭДС Е2 линейно уменьшается до нуля (рис. 8-32, е). При переходе рамки через гори­зонтальное положение фаза ЭДС Е2 изменяется на 180°. В тех случаях, когда хотят получить изменение ЭДС преобразователя от нуля до максимума при повороте рамки из одного крайнего положения аг в другое а2, последовательно с рамкой включают дополнительную обмотку 3. Зависимость ЭДС Е Ез и (Еъ + ^з) от угла отклонения рамки приведена на рис. 8-32, в.. Преобразователи подобного типа можно применять для измерения больших угловых перемещений, и конструктивно для этих целей можно использовать измерительные механизмы ферродинамических приборов. Поэтому и сами преобразо­ватели иногда называют ферродинамическими.

Преобразователь (рис. 8-33, а) с распределенными магнитными параметрами предназначен для измерения больших линейных пере­мещений и состоит из магнитопровода 4 с рабочей частью в виде двух параллельных полос, обмотки возбуждения 1 и подвижной обмотки 2. При перемещении обмотки 2 от положения 3 до положения 5 индукти­рованная в обмотке 2 ЭДС возрастает, причем зависимость прираще­ния ЭДС от перемещения обмотки 2 оказывается практически линей- нои, если магнитное сопротивление участка 3—5 магиитопровода мало по сравнению с магнитным сопротивлением зазора. Преобразо­ватели подобного типа относительно просто выполнить и с требуемой функциональной зависимостью, применив для этого профилирован­ный магнитопровод (рис. 8-33, б). Неподвижные обмотки преобразо­вателя соединены так, чтобы их потоки в магнитопроводе были напра­влены встречно. Тогда в положении 0—О ЭДС подвижной обмотки будет равна нулю. При смещении обмотки вправо или влево от нейт­рали в ней наводится ЭДС, фаза которой отличается на 180°. Под­робно вопросы расчета и конструирования преобразователей с распре­деленными параметрами и функциональных преобразователей рас­смотрены в работах Л. Ф. Куликовского и его учеников.

Рис. 8-33

 

В трансформаторном преобразователе с подвижным сердечником необходимо обеспечить такой режим питания, чтобы МДС первичной обмотки, а следовательно, и ток первичной цепи не изменялись при перемещении сердечника. Для этого в одинарных преобразователях необходимо включить в первичную цепь высокоомный добавочный резистор, а в дифференциальных преобразователях — последова­тельно соединить первичные обмотки, сопротивления которых изме­няются с обратным знаком.

Индуктосины. Для точного измерения угла поворота применяются круговые индуктосины с печатными обмотками. Принцип действия кругового индуктосина иллюстрируется рис. 8-34. На торцевых по­верхностях, обращенных друг к другу и разделенных малым воздуш- н/э1м зазором (0,1—0,2 мм) (рис. 8-34, а), ротор и статор несут печатные обмотки, имеющие вид радиального растра. Обмотка статора, к кото­рой подводится напряжение питания высокой частоты (около 10 кГц), показана на рис. 8-34, б; обмотка ротора, в которой наводится ЭДС еВых> — на рис. 8-34, в. На рис. 8-34, г изображено сечение обмо­ток и магнитное поле статора, напряженность которого Иу меняется вдоль оси х. Максимальная ЭДС наводится в обмотке ротора, когда ее витки находятся под витками статора. При смещении обмотки на
угол (p,v — п/р> где р — число полюсных шагов статор ной обмотки, угол сдвига индуктированной ЭДС изменяется на 180°. Симметрия ЭДС, наводимых в обмотке ротора в положениях я и б, нарушается из-за того, что электромагнитную связь имеют не только радиалы-ю рас­положенные проводники обмоток, но и их лобовые части, расположен­ные по окружности. ЭДС, индуктируемая в лобовых частях обмоток, не зависит от углового перемещения обмоток и дает постоянное сме­щение. Для того чтобы это смещение исключить, применяется сек­ционная обмотка, отдельные секции которой смещены относительно друг друга на угол nip и включены встречно, как показано на рис. 8-34, в. При таком включении ЭДС радиальных участков обмотки складываются, а ЭДС дуговых участков вычитаются.


 

 


Витки статора
Витки ротора в
WVW*

ч)

{///////////////////л

(1*00000000 fi О • О О О О ООО


 

 


Рис. 8-34

Для однозначного определения направления поворота подвижного диска в пределах одного периода повторения кривой ЭДС вторичная обмотка выполняется многофазной, в простейшем случае — двухфаз­ной, как показано на рис. 8-34, в. Фазовые обмотки смещаются отно­сительно друг друга на угол (2п + 1) л/(2р). Тогда при смещении ро­тора относительно некоторого положения, в котором ЭДС обмотки 1 считаем условно положительной, ЭДС ех и е2 в обмотках 1 и 2 вдоль угла поворота диска будут меняться так, как показано на рис. 8-34, д. Значение ег определяет угол поворота, а угол сдвига е2 относительно е1 определяет направление угла поворота. Выходной величиной индукто- сина может служить как ЭДС, индуктируемая во вторичной обмотке, так и ее фаза. Однако в том и другом случае измеряемое угловое пе­ремещение не должно превышать полюсного деления, т. е. фдг = = ±п/р. Для того чтобы измерять большие углы поворота, индукто-







Date: 2015-09-18; view: 654; Нарушение авторских прав



mydocx.ru - 2015-2026 year. (0.768 sec.) Все материалы представленные на сайте исключительно с целью ознакомления читателями и не преследуют коммерческих целей или нарушение авторских прав - Пожаловаться на публикацию