Главная Случайная страница


Полезное:

Как сделать разговор полезным и приятным Как сделать объемную звезду своими руками Как сделать то, что делать не хочется? Как сделать погремушку Как сделать так чтобы женщины сами знакомились с вами Как сделать идею коммерческой Как сделать хорошую растяжку ног? Как сделать наш разум здоровым? Как сделать, чтобы люди обманывали меньше Вопрос 4. Как сделать так, чтобы вас уважали и ценили? Как сделать лучше себе и другим людям Как сделать свидание интересным?


Категории:

АрхитектураАстрономияБиологияГеографияГеологияИнформатикаИскусствоИсторияКулинарияКультураМаркетингМатематикаМедицинаМенеджментОхрана трудаПравоПроизводствоПсихологияРелигияСоциологияСпортТехникаФизикаФилософияХимияЭкологияЭкономикаЭлектроника






У ___ сО). с____





ВЫХ ~Со.С J + j(dRo сСо с + 1 [/(oRo сСо с (1 +1 1

где Сох и R0mс — емкость и сопротивление в цепи обратной связи;

Ю4 -f- 105 — коэффициент усиления усилителя; RBX = 1010 -з- Ю11 Ом — входное сопротивление усилителя.

В области частот со^>1/т, где т = /?С0.с>

п ' q__________

вьв " Со. с + С0. Jk+ (С0 + С«)/Л •

Основным достоинством схемы является независимость выход­ного напряжения от емкости (С0 + Ск) и возможность увеличения чувствительности при уменьшении емкости С0.сэ однако применять емкости, меньшие 50—100 пФ, нецелесообразно, так как при этом за­метное влияние начинают оказывать паразитные емкости. Вторым достоинством схемы является возможность обеспечения больших по­стоянных времени. Постоянные времени лучших конденсаторов, опре­деляемые емкостью и сопротивлением изоляции конденсаторов, состав­ляют 104—105 с.

Однако реализовать такую постоянную времени трудно из-за нали­чия входного тока усилителя. Входные токи усилителей лежат в диа­пазоне 10"11 — 1СГ14 А; таким образом, дрейф усилителя по заряду сот ставляет 10—10"2 пКл/с, что при емкости обратной связи Сс.с = = 100 пФ приводит к дрейфу по напряжению 100—0,1 мВ/с. При дрейфе 100 мВ/с усилитель выходит из режима через 10—100 с. Рези­стор обратной связи /?ох включается для того, чтобы обеспечить ре­жим работы усилителя. Если допускается смещение нуля в пределах 100 мВ, то при /вх = 10~и А сопротивление R0.c должно быть не больше 1010 Ом. Реальные постоянные времени датчиков с усилите­лями заряда составляют 10—100 с. Однако уже при таких постоянных времени оказывается возможным проводить квазистатическую гра­дуировку пьезоэлектрических датчиков, что является огромным досто­инством измерительной цепи с усилителем заряда.

Ключ К1, включенный параллельно конденсатору Сох (рис. 6-6, б), служит для быстрой установки нулевого начального напряжения на выходе. Замыкая этот ключ, оператор осуществляет разряд конден­сатора С0.с, который при больших значениях т = C0.ci?0.c протекает весьма медленно. Если произвести начальную установку при нагру­женном датчике, то тем самым мы как бы сместим нулевой уровень градуировочнои характеристики на значение этой нагрузки, ^го мо­жет оказаться весьма удобным при работе, например, с пьезоэлектри­ческими весами, когда требуется исключить из общего результата из­мерения вес тары. Конденсатор Сох и резистор Rox, как правило, вы­полняются в виде переключаемых наборов элементов (рис. 6-6, в), чтобы иметь возможность изменять коэффициент усиления усилителя путем изменения С и нижнюю границу полосы пропускания измене­нием R. Чувствительность большинства усилителей заряда лежит в диапазоне 0,1—10 мВ/пКл, однако известны усилители с чувстви­тельностью 1 В/пКл.

В качестве вспомогательной цепи в усилитель заряда может быть введена цепь проверки чувствительности. Подобная цепь в усилителе по схеме рис. 6-6, в образована источником опорного напряжения UNt резистором Rlf ключом К2 и конденсатором Сд/. При замыкании ключа К2 на вход усилителя подается опорный заряд qN = UNCN. Отношение изменения выходного напряжения &UBUJqN определяет чувствительность усилителя.

Конструкции пьезоэлектрических преобразователей. Достоинствами пьезоэлектрических преобразователей являются малые габариты, простота конструкции, надежность в работе, возможность измерения быстропеременных величин, очень высокая точность преобразования механических напряжений в электрический заряд. Для кварца, кото­рый по своим упругим свойствам близок к идеальному телу, преобра­зование механического напряжения в электрический заряд осущест­вляется с погрешностью 1СГ4—10~6. В последние годы в связи с разви­тием высокоточной электроники появилась возможность реализовать эту точность в широком частотном диапазоне и в измерительных цепях, преобразующих заряд. Таким образом, пьезоэлектрические преобразователи в перспективе являются наиболее точными преобра­зователями для датчиков давлений, ускорений, сил.

На рис. 6-7, а представлена конструкция пьезоэлектрического датчика ускорений. Все элементы датчика крепятся к основанию /, выполненному из титана. Преобразователь 2 состоит из двух вклю­ченных параллельно пьезоэлементов из кварца Х-среза. Инерцион­ная масса 3 для уменьшения габаритов датчика изготовлена из легко- обрабатываемого сплава ВНМЗ-2 с высокой плотностью 18 Мг/м3 (18 г/см3). Сигнал с кварцевых пластин снимается при помощи вывода из латунной фольги 4, соединенного с кабелем 6. Кабель крепится к основанию при помощи пайки. Датчик закрывается крышкой 5, навинчиваемой на основание. На основании 1 нарезана резьба для крепления датчика на объекте. Масса датчика 35 г, рабочий диапазон 1—150 м/с2.



 

При конструировании датчика акселерометра одним из основных вопросов является крепление пьезочувствительных пластин к осно­ванию и инерционной массе. Сочленение пластин с основанием и инер­ционной массой в датчике, представленном на рис. 6-7, а, осущест­вляется посредством пайки. К кабелю, соединяющему датчик аксе­лерометра с усилителем, предъявляются следующие требования: большое сопротивление изоляции, малая емкость между жилой и экра­ном, гибкость и антивибрационность. Последнее означает, что при вибрации кабель не должен наводить на вход усилителя ЭДС, возни­кающую в результате трения изоляции об экран при тряске кабеля. Лучшим является кабель типа АВК-3, емкость этого кабеля состав­ляет 70—80 пФ/м.

При длинных линиях связи между датчиком и усилителем для уменьшения помехи необходимо симметрирование измерительной цепи (см. § 3-4). В датчике, показанном на рис. 6-7, а, сопротивления связи между выводами и корпусом резко несимметричны, так как вывод 4 от внутренних пластин изолирован от корпуса, а внешние пластины и вывод от них, которым является экран кабеля, непосредственно сое­динены с корпусом. Для обеспечения симметрии сопротивлений связи датчик выполняется из нечетного числа пластин, соединенных так, как показано на рис. 6-7, б. Сквозь центральные отверстия пластины через изоляторы винтом прижимаются к корпусу. Выводы пластин подключаются к усилителю с симметричным входом.

Для повышения чувствительности датчиков используются пьезо- элементы из пьезокерамики, имеющей пьезомодуль значительно выше


 

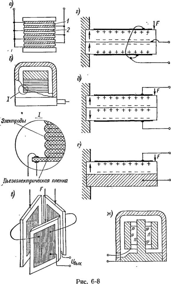
по сравнению с кварцем- Пьезоэлемент выполняется в виде ряда па­раллельно соединенных при помощи металлических прокладок 2 пластин 1 (рис. 6-8, а). В этом случае чувствительность преобразова­теля определяется формулой S == dnn (Свх + пС0), где п — число параллельно соединенных пластин; С0 — емкость одной пластины.

ЭД. И. Субботин предложил использовать в пьезоэлектрических пре­образователях фольгированную с двух сторон пьезоэлектрическую пленку, складывая и после этого запекая ее так, как показано на рис. 6-8, б.

Увеличение чувствительности достигается и при использовании поперечного пьезоэффекта, однако в этом случае тонкая пластина, нагружаемая вдоль, может потерять устойчивость. Для повышения устойчивости может быть применена схема нагружения, показанная на рис. 6-8, е. Преобразователь состоит из трех вертикальных пластин Х-среза, все внутренние и все внешние обкладки которых соединены.

Высокую чувствительность имеют также преобразователи с пьезо- элементами, работающими на изгиб. Пьезоэлемент, называемый би- морфным, составлен из двух пластин. При действии силы F пьезоэле­мент прогибается, верхняя пластина испытывает растяжение, ниж­няя — сжатие и на пластинах наводятся заряды. Пластины в зависи­мости от направления положительных осей в них (оси указаны стрел­ками) могут соединяться как параллельно, так и последовательно, как это и показано на рис. 6-8, г и д\ там же даны и знаки зарядов. Кроме этого, в качестве одной из пластин может быть использован не пьезоэлемент, а металлическая накладка такой толщины, чтобы пьезо- пластина лежала выше нейтрального слоя (рис. 6-8, е).


Для повышения чувствительности используются также пьезоэле- менты, работающие на сдвиг. Схематическая конструкция пьезоаксе- лерометра с цилиндрическим пьезоэлементом, работающим на сдвиг, показана на рис. 6-8, ж.

Выпускаемые в настоящее время фирмой Брюль и Къер пьезоак- селерометры перекрывают диапазон ускорений 2-Ю-5—10е м/с2. Наиболее высокочастотные акселерометры имеют собственную ча­стоту до 200 кГц при чувствительности 0,004 пКл/(м-с"2). Наиболее высокочувствительные пьезоакселерометры имеют чувствительность до 1000 пКл/(м-с~2), но их собственные частоты не превышают 1 кГц.

6-3 ПЬЕЗОРЕЗОНАНСНЫЕ ПРЕОБРАЗОВАТЕЛИ

В пьезоэлектрическом резонаторе происходит преобразование электрического напряжения между электродами в деформацию и механические напряжения в пьезоэлементе, которые вызывают ответ­ную реакцию по выходу в виде зарядов на электродах, возникающих под действием механических напряжений. Обратимость пьезоэлектри­ческого эффекта позволяет выполнять пьезорезонатор в виде двух­полюсника, объединяющего системы электрического возбуждения механических колебаний и съема электрического сигнала.. Резонанс­ные колебания в пьезоэлементе возникают в результате установления в нем стоячих ультразвуковых волн. Длина волны % — v/f, где v — скорость распространения ультразвука; f — частота излучения. Ско­рость распространения ультразвука в материале определяется как v = VEijtp, где Е у— константа упругости; р — плотность матери­ала. Следовательно, длина волны X = ^.

Если длина волны % такова, что на отрезке h между гранями, от которых отражаются волны, укладывается целое число полуволн, то в пьезоэлементе устанавливаются стоячие волны. Таким образом, сто­ячим волнам соответствует частота возбуждающего напряжения

'лк==2h У где пчисло уложившихся полуволн- Частота коле­бании, при которых на длине h укладывается одна полуволна, явля­ется основной частотой и равна /к — ^ j/"^-. При частотах, значи­тельно меньших /к, ток в цепи возбуждающих электродов (рис. 6-9, а) мал и определяется в основном межэлектродной емкостью С0 и сопро­тивлением изоляции между электродами R0.


 

 


а)
Со= — /?0М Со-

-в)

      о—
  =4   Со
о--      
Рис. 6-9


 

 


По мере приближения частоты возбуждающего напряжения к ча­стоте /к амплитуда механических колебаний растет. Пропорционально амплитуде колебаний увеличивается заряд на электродах, и в цепи воз­растает составляющая переменного тока, вызываемая деформациями пьезоэлемента.

На рис. 6-9, б представлена эквивалентная схема (см. § 2-4) пьезо- резонатора. В этой схеме введены эквивалентные параметры: индук­тивность LK = mlklbU емкость Ск — nkl^ и сопротивление RK1 образу­ющие динамический контур эквивалентной схемы. Схема рис. 6-9, б соответствует свободно колеблющемуся, т. е. механически не нагру­женному, пьезорезонатору (режим короткого замыкания, при котором усилия на поверхностях пьезоэлемента от внешних сил равны нулю). Схема рис. 6-9, в учитывает влияние внешних нагрузок в виде вклю­ченного сопротивления Za, которое может иметь как чисто активный (например, если существуют потери на акустическое излучение во внешнюю среду), так и реактивный (например, при присоединении к пьезоэлементу дополнительной массы) характер. В заторможен­ном состоянии, когда скорости смещений поверхностей пьезоэлемента равны нулю, сопротивление Za равно бесконечности (режим холостого хода). В режиме, близком к холостому ходу, работают пьезоэлектри­ческие датчики давлений и ускорений, в которых используется прямой пьезоэффект. Поэтому в эквивалентной схеме этих датчиков динамиче­ская ветвь обычно не учитывается.


Проводимость эквивалентной схемы (рис. 6-9, б) определяется фор­мулой

У ^ R0 + /соСо+ l-^LKCK+/(oCK/?K 8=3

= J-4./озС; ^к/?к-Ь/(1-ш2/.кСк)(оСк До 0 (l-G32LKCK)2 + (02C2Ki?K

Для идеального пьезорезонатора (R0 = 00, RK = 0) проводимость бесконечно возрастает при условии 1 — со2LKCK = 0, т. е. при частоте

= 1 /T^^k^kv называемой частотой последовательного резонанса. Эта частота определяется исключительно параметрами введенного ди­намического контура и поэтому совпадает с определенной ранее как я -в ГЁif

сок=2тс/к-"=7^ У частотой механического резонанса.

Проводимость идеального пьезорезонатора бесконечно падает при

условии /соС0+ 1 J^L С = 0' т* е* при частоте сор = j/'1 \С£Со, на­зываемой частотой параллельного резонанса (а иногда частотой анти­резонанса).

Относительная разность между частотами последовательного и па­раллельного резонансов составляет (сор — сок)/сок = Ск/(2 С0). Для пьезорезонаторов из кварца емкостное отношение не превышает Ск0 = = 10~2 10~3 и частота сор может быть выше частоты сок не более чем на 0,5%. Соответственно и изменение частоты параллельного резо­нанса путем подключения параллельно резонатору добавочной емко­сти С'а и увеличения таким образом емкости С0 возможно не более чем на 0,1—0,01%.

В реальном пьезорезонаторе при частотах сок и сор проводимости контура не равны соответственно бесконечности и нулю, они имеют некоторое конечное значение, включающее в себя, кроме активной, и небольшую реактивную составляющую. Поэтому для характеристики пьезорезонатора вводятся еще две частоты, при которых проводимость чисто активная. Одна из этих частот соЛ называется частотой резо­нанса и оказывается чуть больше частоты сок, вторая (соа) называется ча­стотой антирезонанса и оказывается чуть ниже частоты сор. Вектор­ная диаграмма проводимости контура с указанием характерных точек показана на рис. 6-9, г.

Важной характеристикой контура является его добротность Q — ~ соKLK/RK, определяемая потерями энергии при колебаниях. В со­став потерь входят: потери собственно в кварце, потери в материалах электродов, потери на акустическое излучение в окружающую среду, потери на границе колеблющегося элемента и неподвижных элемен­тов крепления, потери во входном элементе присоединяемой электри­ческой схемы. Теоретическая добротность кварцевых резонаторов, если учитывать только потери в кварце, может достигать значения, определяемого из соотношения Qfr = 1,2 -1013; реальные добротности зависят от конструкции резонаторов.

Основой пьезорезонансного частотного датчика является пьезо- резопатор, частота которого изменяется под действием измеряемой величины. Изменение частоты может происходить: а) при воздей­ствии температуры, которая влияет на геометрические размеры, плот­ность и, главным образом, на упругие свойства кварца; б) под дей­ствием механических напряжений в резонаторе или его деформации, также вызывающих изменение h, р и п; в) при присоединении допол­нительной массы к резонатору, изменяющей его толщину h и сред­нюю плотность р. Соответственно различают термочувствительные, тензочувствительные и массочувствительные пьезорезонаторы. Кроме этого, используются пьезорезонансные датчики с амплитудным выхо­дом. В этих датчиках, работающих на частоте, близкой к резонансной, при изменении акустических потерь изменяется амплитуда колеба­ний. Вопросы теории и расчета, а также ряд конструкций пьезорезо- нансных частотных датчиков разработаны группой сотрудников под руководством В. В. Малова [3].

При построении пьезорезонансного датчика очевидны требования, предъявляемые к пьезорезонатору: высокая добротность, высокая чувствительность к измеряемой величине, малая чувствительность к дестабилизирующим факторам и возможность возбуждения колеба­ний только на одной частоте, т. е. моночастотность. Эти требования обеспечиваются в первую очередь выбором типа среза пьезоэлемента и типа возбуждаемых в пьезоэлементе колебаний. Действительно, если рассмотрим пластину У-среза, то при приложении поля в направ­лении оси У в ней (см. матрицу пьезомодулей) возникают деформа­ции е5 и ес, деформирующие пьезоэлемент в плоскости xz (деформация сдвига вдоль грани) и в плоскости ху (деформация сдвига по толщине). Однако геометрические размеры, определяющие резонансную частоту, в этих случаях различны. Собственная частота колебаний сдвига вдоль грани значительно ниже частоты колебаний сдвига по толщине, и бла­годаря этому условие моночастотности соблюдается удовлетворительно. В управляемых пьезорезонаторах чаще всего используются именно колебания сдвига по толщине (хотя возможны и другие типы колебаний), так как при этом типе колебаний колебательная энергия концентриру­ется в подэлектродной области пьезоэлемента. Безэлектродные перифе­рийные области оказываются практически свободными от упругих коле­баний, что позволяет осуществлять крепление пьезоэлемента без замет­ного ухудшения добротностей. Ослабление амплитуды колебаний при p7i7(pfr) = 0,02 (р' и Ь! — плотность и толщина электрода, р и h — плот­ность и толщина пьезоэлемента) в точке, удаленной от края электрода на 15ft, составляет не менее 40 дБ. Еще большего эффекта локализации энергии можно добиться при применении линзового резонатора.

Изменением ориентации среза добиваются определенных свойств пьезорезона- тора. Рассмотрим это на примере термостабильных срезов. Для резонатора К-среза с колебаниями сдвига по толщине частота резонанса определяется как f =

V^CnJp

~ 2h ' ГДС сбс — компонента упругости, равная отношению сдвигового на­пряжения а„ к вызываемой им деформации сдвига ев, т. е. св6 — ас6. Если повер­нуть К-срез относительно кристаллографических осей, то компонента упругости с'в8 будет иной, нежели компонента с. Упругость является тензором четвертого ранга, и компонента с'т может быть определена аналогично тому, как выше определялся пьезомодуль при повороте X-среза кварца.

Коэффициент См — c6fl cos2 -ф + си sin® tj? 4- с14 sin 2\Jj, где 6 ~ (90 — -ф)— угол между осью Z и нормалью Л/ к плоскости пьезоэлемента (рис. 6-10, а). Температур­ные коэффициенты модулей упругости, входящие в выражение для cjc, вследствие анизотропии кварца имеют разные значения и знаки, а именно Кс = 178-10~6

Кг — —177- Ю~е /<"1; К


 

-Ж-70-50-30-М010 30 50 70 90°

Рис. 6-10

Можно, таким образом, найти ориентацию *ф, при которой коэффициент Kf —

«К, — ^^h 553 На рис. 6-10, б представлена кривая зависимости К —

сс f

10МО""6 К'К

Bad сверху

РЧ   Сч
 
    Т0
дч    
   
       
Рис. 6-1! Термочувствительные пьезо резонансные датчики. Конструкция кварцевого термодатчика приведена на рис. 6-11, а, В миниатюрном металлическом герметизированном баллоне (диаметр 6—8 мм) разме­щен линзовый кварцевый резонатор укрепленный, как на растяж­ках, на токоподводах 2 и 3. Для уменьшения тепловой инерционности баллон заполнен гелием, обладающим хорошей теплопроводностью. Выпускаются также датчики с резонаторами в стеклянных вакууми- рованных баллонах. Эти датчики имеют большую инерционность, но более высокую временную стабильность и разрешающую способ­ность.

«ф (Ф). Срезы, которым соответствует Kf~0 (-ф— —49° и ф= +35°), получили название ВТ- и AT-срезов. В рассмотренном примере предполагалось, что модули упругости линейно зависят от температуры. На самом деле это не так* поэтому ра­венство Kf= 0 имеет место только в относительно узком диапазоне температур.

На рис. 6-11, б представлена структурная схема датчика, она вклю­чает в себя генератор Г/ с кварцевым термочувствительным резонато­ром, генератор стабильной частоты Г2, цепь разности частот РЧ, делитель частоты ДЧ и счетчик Сч с цифровой индикацией. Рабочий температурный диапазон датчиков составляет от —80 до +250 °С и может быть расширен при увеличении погрешности линейности.

Рабочие частоты термочувствительных резонаторов лежат в диапа­зоне 1—30 МГц, используются колебания как на основной частоте (1—10 МГц), так и на третьей и пятой гармониках (5—30 МГц).

В качестве термочувствительных резонаторов применяются резона­торы У-среза, ЛС-среза и LC-среза. Коэффициенты термочувстви­тельности для этих срезов, соответствующие уравнению преобразо­вания

/ = М 1+Kl (в-в0) + /(2<в~во)2 + Кз(в-во)3],

приведены в табл. 6-3.

В зависимости от собственной частоты резонатора /0 и типа среза термочувствительность датчиков составляет S© — Д//ДО = 20 -т- -ь 2850 Гц/К.

Порог чувствительности датчиков в основном определяется крат­ковременной нестабильностью резонаторов и построенных на их

основе генераторов и по при­водимым в литературе данным составляет 10"4—10~6 К при измерениях в области низких температур.

Основными причинами по­грешности термодатчиков яв­ляются временная нестабиль­ность, «гистерезис», выражаю­щийся в «неприходе» на на­чальную частоту после тем­пературного цикла и оцени­ваемый значением порядка Ю~2 К при циклах, соответ­ствующих рабочему диапазону, и повышение температуры (перегрев) резонатора, зависящее от мощности, выделяемой в цепи возбуж­дающих электродов Для разных типов датчиков повышение темпера­туры на единицу мощности колеблется в пределах 0,05—I К/мВт. Для уменьшения систематической составляющей погрешности пере­рева необходимо уменьшить мощность возбуждения, для уменьше­ния случайной составляющей мощность возбуждения должна стаби­лизироваться.

Таблица 6-3
Гип среза Ки Ю-е К"1 Кг, 10-е к-2 Кз, Ю-12 К-*
У -срез +92,5 57,5 +5,8
ЛС-срез 4-20 +•23 + 116
LC-срея +33,78j=0,I2 ±0,14 +:0,23

Подогревные термочувствительные резонаторы конструктивно объе­диняют пьезоэлектрический резонатор и дополнительный электрона- греватель и могут быть принципиально использованы как для преобра­зования в температуру и измерения непосредственно мощности нагре­вателя, так и для измерения любой из величин, определяющих темпе­ратуру при постоянной мощности нагревателя, т. е. могут приме­
няться в преобразователях тока, напряжения или мощности, а также в датчиках газоанализаторов, термоанемометров, вакуумметров (см. гл„ 11).

Рис. 6-12

Конструкция подогревного пьезорезонатора, предложенного Э. А. Кудряшовым и использованного им в высокоточных квадрато­рах цифровых ваттметров и вольтметров, показана на рис. 6-11, е. В центре дискового резонатора У-среза диаметром 5 мм и толщиной 75 мкм напылены на нижней и верхней стороне золотые электроды воз­буждения / и 2, а по периферии напылены электроды нагревателей 3 и 4 из нихрома. Сопротивление нагревателей 100 Ом, номинальный

е)

ток подогрева 15—30 мА. Крутизна преобразования мощности в ча­стоту 1,5 МГц/Вт, рабочая частота 30 МГц.

Тензочувствительные пьезорезонансные датчики- В качестве тензочувствительных резонаторов применяются пьезоэлементы тем- пературно-независимого АТ-среза, в которых используются колеба­ния сдвига по толщине и колебания изгиба, так как только для этих типов колебаний удается решить проблему развязки между колеблю­щейся частью резонатора и конструктивными элементами, через кото­рые передается механическая нагрузка. Схематические конструкции и схемы нагружения тензочувствительных пьезорезонаторов показаны на рис. 6-12.

В резонаторах (рис. 6-12, а и б) используются колебания сдвига по толщине, поэтому закрепление резонатора и передача усилий могут осуществляться по свободной от колебаний периферии. Резонаторы подобного типа реализуются на диапазон частот 0,3—100 МГц, имеют толщину 0,05—5 мм при поперечных размерах 3—30 мм, относительное изменение частоты при номинальной входной величине Д/// = 0,1-4-

В резонаторах (рис. 6-12, в) используются изгибные колебания, которые возбуждаются системой из четырех электродов, обеспечиваю­щей противоположные по знаку сдвиговые деформации так, как пока­зано на рис. 6-12, г. Так, если при положительном потенциале на верх­нем электроде происходит в надэлектродной области сдвиг «вправо», то при отрицательном потенциале — «влево» и пластина изгибается. Деформации, вызываемые в ножках «камертона» колебаниями верх­ней и нижней пластин, взаимно гасятся, так как пластины перемеща­ются в противофазе. Резонаторы с изгибными колебаниями реали­зуются на диапазон частот 1—100 кГц, но имеют меньшую жесткость и, следовательно, большую чувствительность, чем резонаторы с коле­баниями сдвига; относительное изменение частоты достигает значе­ний Д/// = 10 ч- 20%.

Метрологические возможности датчиков сил, давлений, ускоре­ний в значительной степени определяются гистерезисом и ползучестью, вызванными неидеальностью самого упругого элемента, соединитель­ных элементов и элементов передачи силы, а также дополнительными механическими напряжениями, которые могут возникнуть в материале резонатора при изменении температуры вследствие неравных темпе­ратурных коэффициентов линейного расширения материалов. Проб­лема решается' наилучшим образом, если датчик представляет собой монолитный кристаллический блок, однако такая конструкция при­водит к технологическим трудностям. Монолитная конструкция дат­чика гидростатического давления в диапазоне до 70 МПа фирмы «Хьюлетт—Паккард» показана на рис. 6-12,д.

Основу датчика составляет линзовый резонатор, выполненный в виде перемычки 1 в кварцевом цилиндре 2. Для герметизации при­менены крышки 3 я 4 также из кварца, ориентированного относи­тельно кристаллографических осей идентично с цилиндром, что поз­воляет полностью устранить термонапряжение. Измеряемое давление создает всестороннее сжатие цилиндра и плоское сжатие перемычки. Кварцевый блок расположен в цилиндре, заполненном жидкостью, на которую через мягкую мембрану передается давление внешней среды. Применяется двойное термостатирование блока, обеспечиваю­щее стабилизацию температуры ± 0,05 °С. Начальная частота резо­натора 5 МГц (третья гармоника), добротность Q = 106, чувствитель­ность 5 = 2-10~4 Гц/Па. В приборе предусмотрен умножитель частоты на 66, порог чувствительности при времени измерения 10 с ДР = 7 Па (10~7 предела измерения).

В заключение следует сказать, что лучшие линзовые тензочувстви- тельные резонаторы характеризуются следующими параметрами: но­минальным изменением частоты Д/7/ = (0,5 ч- 10) 10~3, годичной не­стабильностью частоты КГ7—10~9, кратковременной нестабильностью ча­стоты 10~9—10~10, температурным коэффициентом частоты 10~6—1СГ8 К"1, температурным коэффициентом тензочувствительности 1СГ5 К"1, что поз­воляет прогнозировать разработку на их базе датчиков акселеромет­ров, манометров, динамометров с погрешностью, оцениваемой значе­ниями порядка 10"4, что значительно превышает точность современных приборов.

Масс-чувствительные пьезорезонансные датчики» Масс-чувстви- тельные резонаторы выполняются из тонких пластин или линз кварца темпер ату рно-независимого АТ-среза. В резонаторах возбуждаются колебания сдвига по толщине. Присоединяемая масса может нано­ситься с одной или с двух сторон как на электроды, так и на перифе­рию резонатора. Наращивание массы, т. е. процесс сорбции вещества, может происходить по-разному и носить как необратимый, так и обра­тимый характер. Например, при отработке технологии процессов напыления в установке заподлицо с поверхностью, на которую про­изводится напыление, помещается пьезорезонатор-толщиномер, поз­воляющий непрерывно контролировать процесс по изменению частоты пьезорезонатора в зависимости от толщины напыленной на него пленки. В гигрометрах и газоанализаторах пьезорезонаторы покрываются специальными сорбционными покрытиями, удерживающими исследуе­мое вещество. Так, измерительный резонатор гигрометра покрывается тонкой (3-1СГ7 мкм) пленкой окислов кремния. После измерения резонатор может быть «высушен», т. е. происходит десорбция веще­ства.

Связь частоты с толщиной hr и плотностью р' присоединяемого материала определяется в первом приближении формулой А/// = = — p'h,'/(р/г), где р и h — плотность и толщина пьезоэлемента. Если предположить, что исследуемые вещества сорбируются по всей поверхности дискового резонатора, то из этой формулы следует Д/// — = —А т/т, где т — масса резонатора, и очевидно, что относительное приращение массы может регистрироваться с тем же разрешением, что и относительное изменение частоты, т. е. 10г6—КГ7. Для кварце­вых резонаторов толщиной h — 0,1 мм минимальные регистрируемые приращения массы на единицу поверхности Ат = (10~6 10"') рh = — (10~6 10~7) 2,65-0,01 = 2,65 (10~8 ч- КГ») г/см2. Однако такая вы­сокая разрешающая способность может быть реализована только при термостабилизации резонаторов, на уровне dh0,l °С, так как для ре­зонаторов АТ-среза ТКЧ составляет примерно 2 -10~6 К-1. Максималь­ная присоединяемая масса не должна превышать 2-10"3 г/см2, и тол­щина пленок должна быть не более 1—2 мкм, в противном случае резко падает добротность резонатора, что'приводит к нестабильности и большой погрешности измерения.

6-4. ИЗМЕРИТЕЛЬНЫЕ ПРЕОБРАЗОВАТЕЛИ, ОСНОВАННЫЕ НА ИСПОЛЬЗОВАНИИ! ПОВЕРХНОСТНЫХ АКУСТИЧЕСКИХ ВОЛН

Поверхностные акустические волны (ПАВ) находят широкое применение при разработке фильтров и линий задержек, применяемых в радиотехнических устрой­ствах. В последнее время ПАВ используются также при разработке измерительных пр еобр азовател ей.

Известно несколько видов ПАВ, наиболее часто на практике применяют волны Релея. Смещение частиц твердого тела при распространении волны Релея в напра­влении оси X иллюстрируется рис. 6-13, а. Как видно из рис. 6-13, а, волны распро­страняются вблизи границы твердого тела и затухают почти полностью на расстоя­нии z от поверхности, примерно равном длине волны X. Одной из основных причин возрастающего интереса к ПАВ является именно сосредоточенность энергии в топ­
ком слое, так как благодаря этому к технологии изготовления ПАВ-элемента предъ­является лишь одно требование — тщательная обработка рабочей поверхности, по которой распространяется акустическая волна.

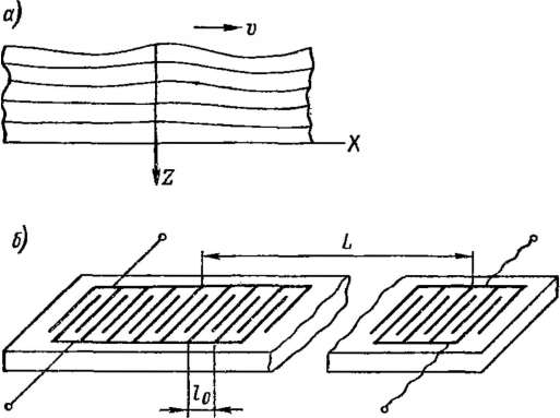
Для возбуждения ПАВ на поверхность пьезоэлемента наносятся гребенки встречно^ включенных электродов (рис. 6-13,6), представляющие собой встречно- штыревой преобразователь (ВШП), имеющий шаг 10 — Я. При подключении напря­жения к электродам ВШП под ними вследствие обратного пьезоэффекта происходят смещения частиц и возникает ПАВ, распространяющаяся в обе стороны. Если при этом длина волны совпадает с шагом ВШП, то вследствие суперпозиции колебаний, возникающих под каждой парой электродов, суммарная энергия ПАВ достигает максимума; если длина волны не совпадает с шагом ВШП, энергия ПАВ уменьшается и при определенном соотношении между К и /0 волна за пределами ВШП может пол­ностью погаситься.

Для приема энергии ПАВ используется второй ВШП, также имеющий шаг, равный длине волны. На электродах приемного ВШП вследствие прямого пьезо­эффекта возникают заряды и появляется напряжение. Линия задержки состоит из входного и выходного ВШП. В первом приближении оба ВШП можно рассматривать как локальные электроды, расположенные на расстоянии L, равном расстоянию между геометрическими центрами ВШП. Время задержки т равно времени прохож­дения акустической волны между ВШП, т. е. т — L/v, где v = Y^iflP— скорость

распространения ПАВ; Е-гу — константа уп­ругости и р — плотность материала.

I

В кварце К-среза скорость распростра­нения ПАВ равна 3159 м/с; таким об­разом, при L — 10 мм время задержки со­ставляет около 3 мкс. Длина волны h опре­деляется скоростью распространения v и частотой возбуждения волн и составляет

ib

Ux

X — v/f. Современная технология обеспечивает возможности создания ВШП с ша­гом до Iq = 10 мкм; таким образом, рабочие частоты ПАВ могут лежать в диапазо­не до 300 МГц.

ПАВ-структура может быть использована в качестве частотозадающего эле­мента автогенератора (рис. 6-13, е); при этом, как следует из условия баланса фаз (фазовыми сдвигами в электрических цепях пренебрегаем), на длине L должно укла­дываться целое число волн. Фазочастотная характеристика линин задержки опре­деляется как ф (со) = —сот. Значение эквивалентной добротности определяется как

<Ээкв = -^г I \ и составляет Q3KB = лсо0т/./(2Л). Длина L ограничена раз-

I } 0(0 I© = (ce

мерами ПАВ-структуры и затуханием энергии ПАВ и не превышает L — 500 А; таким образом, добротность равна Q3KB «Ю3.

Изменение времени задержки ПАВ-структуры под воздействием внешних фак­торов используется в измерительных преобразователях с частотным выходом. При изменении т относительное изменение частоты генератора составляет Дсо/о)0 = = —Дт/т0.

Рис. 6-13

Изменение времени задержки т — Lfv определяется изменением длины L и фа­зовой скорости v и равно Лт/т = AL/L — АЕцЦ2Еу) + Ар/(2р).

Изменение времени задержки может происходить при механических деформа­циях ПАВ-структ'уры, под воздействием температуры, при нагруженин поверхности тонкими пленками (толщина пленки V <0,1 при изменении зазора б между поверхностью распространения ПАВ и токопроводящим экраном (б < Я). Соот­ветственно на базе ПАВ-структур могут быть созданы преобразователи для изме­рения механических величин (Лт/т — до 1%), температуры (Дт/т— до 1%), мик­роперемещений, для микровзвешивания и исследо­вания параметров топких пленок (Дт/т — до 10%). При бесконтактной системе возбуждения ПАВ-пре­образователи могут быть использованы также для измерения перемещения объекта, [вызывающего пе­ремещение одного из ВШП и приводящего к изме­нению L.

Возможности построения на ПАВ-структурах преобразователей для измерения механических ве­личин подробно исследованы в МИФИ В. М. Ма­каровым и В. В. Маловым, ими же разработан ряд преобразователей для измерения сил, давлений и ускорений. Схематическая конструкция акселеро­метра на ПАВ-структуре показана на рис. 6-14. На консольной балке 2 закреплена инерционная масса 3. Балка выполнена из кварца, и на верхней поверхности балки методами планарной технологии нанесены ВШП с числом электродов NBC3g =150 и ^присм= 50. На пластине 1 размещены электронные элементы измерительной цепи. Собственная частота балки /0 ^ 750 Гц, чувствительность акселерометра S 0,1 (кГц-с2)/м, предел измерения до 350 м/с2, погрешность у ^ 0,5'о.

ГЛАВА СЕДЬМАЯ







Date: 2015-09-18; view: 746; Нарушение авторских прав



mydocx.ru - 2015-2026 year. (0.929 sec.) Все материалы представленные на сайте исключительно с целью ознакомления читателями и не преследуют коммерческих целей или нарушение авторских прав - Пожаловаться на публикацию