Главная Случайная страница


Полезное:

Как сделать разговор полезным и приятным Как сделать объемную звезду своими руками Как сделать то, что делать не хочется? Как сделать погремушку Как сделать так чтобы женщины сами знакомились с вами Как сделать идею коммерческой Как сделать хорошую растяжку ног? Как сделать наш разум здоровым? Как сделать, чтобы люди обманывали меньше Вопрос 4. Как сделать так, чтобы вас уважали и ценили? Как сделать лучше себе и другим людям Как сделать свидание интересным?


Категории:

АрхитектураАстрономияБиологияГеографияГеологияИнформатикаИскусствоИсторияКулинарияКультураМаркетингМатематикаМедицинаМенеджментОхрана трудаПравоПроизводствоПсихологияРелигияСоциологияСпортТехникаФизикаФилософияХимияЭкологияЭкономикаЭлектроника






Закон смещения Вина





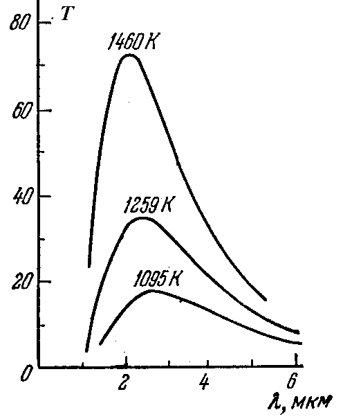
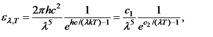
Максимум спектральной плотности излучения может быть найден из формулы. Однако положение максимума зависит от того, в какой шкале определяется спектральная плотность. Как указывалось, на практике обычно пользуются шкалой длин волн и функцией спектральной плотности энергетической светимости излучающего тела el , T. Для абсолютно черного тела, с учетом и формула Планка для этой функции принимает вид: где с 1 = 2 phc 2 и с 2 = hc / k - постоянные. Функция el , T описывает так называемый спектр излучения абсолютно черного тела, вид которого для различных температур представлен на рис. 8.1.

 

Р и с. 8.1

Площади, ограниченные кривыми графиков, определяют энергетические светимости при различных температурах. Положение максимума спектральной плотности энергетической светимости определяется из условия del , T/dl = 0, дающего для определениях lmах трансцендентное уравнение 5 = xex (ex- 1), где Решением этого уравнения является x = 4,865, что приводит к выражению lmaxT = ch / kx = b,

где b @ 0,0029 мK - постоянная cмещения Вина, а само соотношение называется законом смещения Вина. Как видно из рис.8 1, при повышении температуры тела максимум el , Т смещается в сторону меньших длин волн в соответствии о законом смещения Вина. Максимальное значение спектральной плотности энергетической светимости согласно и изменяется с температурой по следующему закону: elmax , Т = с 3× T 5, где

Вт/(м2 мкм K5).

 







Date: 2015-08-06; view: 621; Нарушение авторских прав



mydocx.ru - 2015-2026 year. (0.389 sec.) Все материалы представленные на сайте исключительно с целью ознакомления читателями и не преследуют коммерческих целей или нарушение авторских прав - Пожаловаться на публикацию