Главная Случайная страница


Полезное:

Как сделать разговор полезным и приятным Как сделать объемную звезду своими руками Как сделать то, что делать не хочется? Как сделать погремушку Как сделать так чтобы женщины сами знакомились с вами Как сделать идею коммерческой Как сделать хорошую растяжку ног? Как сделать наш разум здоровым? Как сделать, чтобы люди обманывали меньше Вопрос 4. Как сделать так, чтобы вас уважали и ценили? Как сделать лучше себе и другим людям Как сделать свидание интересным?


Категории:

АрхитектураАстрономияБиологияГеографияГеологияИнформатикаИскусствоИсторияКулинарияКультураМаркетингМатематикаМедицинаМенеджментОхрана трудаПравоПроизводствоПсихологияРелигияСоциологияСпортТехникаФизикаФилософияХимияЭкологияЭкономикаЭлектроника






Инерционных масс и моментов инерции





 

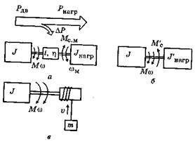
Простая модель механический части (см. рис. 2.1), использовавшаяся выше и позволившая получить полезные сведения, разумеется, примени­ма непосредственно лишь к ограниченному числу электроприводов. Обычно между двигателем и нагрузкой находится какая-либо механиче­ская передача (см. рис. 1.1, 1.2), т. е. имеется несколько различных валов со своими моментами и скоростями. Для сведения любой реальной сис­темы к простейшей модели на рис. 2.1 нужно выполнить ряд операций, называемых приведением моментов и моментов инерции к некоторому выбранному в качестве основного валу, обычно – к валу двигателя. Иными словами, некоторую реальную механическую систему, например показанную на рис. 1.3, я, нужно заменить эквивалентной системой (рис. 1.3, б), такой, чтобы эта замена не отразилась на поведении части системы, оставленной неизменной (в примере – двигателя).

Примем следующие допущения: система жесткая, без зазоров; момен­ты инерции, относящиеся к основным валам, неизменны, относящиеся к промежуточным валам, если такие есть, малы и практически равны ну­лю; отношение скоростей двигателя и механизма (нагрузки) и КПД передачи г) постоянны.

 

 

Рис. 1.3. К приведению Мсм и Jнагр к валу двигателя

 

В реальной и приведенной системах (рис. 1.3, а, б) должна остаться неизменной мощность, развиваемая двигателем . При отсутствии по­терь в передаче

где – статический момент на валу механизма (нагрузки).

В нашем случае, когда потери покрываются двигателем и на­правлены согласно), Рлв > Рнагр, т. е.

откуда

(1.1)

Потери всегда покрываются той частью системы, которая создает дви­жение, поэтому при обратном потоке мощности — от нагрузки к двига­телю

(1.2)

В реальной и приведенной системах должны быть одинаковы запасы кинетической энергии, т. е.

или

Здесь в целях упрощения мы не учли потери в передачах; это обычно не приводит к большим погрешностям, если динамические режимы не игра­ют определяющую роль в работе привода.

Операция приведения может, разумеется, производиться, если один из элементов, например поднимаемый груз (рис. 1.3, в), движется поступательно. При этом сохраняются изложенные выше правила: мощность элемента, к которому приводятся другие, не должна измениться и должен быть одинаковым запас кинетической энергии в исходной и приведенной системах. Тогда, если движение создается двигателем,

т. е.

(1.3)

где m – масса груза; – скорость перемещения груза; g – ускорение сво­бодного падения; – радиус приведения. Приравняв запасы кинетической энергии

получим

(1.4)

Рассмотренные простые приемы приведения моментов (сил) и моментов инерции (масс) по­зволяют решать различные практические зада­чи. Часто нагрузка – технологическая машина или механизм – бывает известна, т. е. известны и и требуется подобрать двигатель и пе­редачу, удовлетворяющие заданному критерию, например минимальным потерям (наибольшему КПД) или минимальной массе, минимальной стоимости и др., при оговоренных ограничениях – доступное оборудование с его каталожными данными и т. п.

Моменты сопротивления делят на две категории:

1) реактивные моменты;

2) активные или потенциальные моменты.

Реактивные – это моменты от трения, препятствующие движению привода и изменяющие свой знак при изменении направления движения.

Активные – это моменты от силы тяжести, сжатия, растя­жения и кручения упругих тел. Потенциальными их называ­ют потому, что они связаны с изменением запаса потенциаль­ной энергии отдельных элементов привода. Они сохраняют свой знак при изменении направления движения, могут быть как тормозными, так и движущими.







Date: 2015-08-06; view: 1042; Нарушение авторских прав



mydocx.ru - 2015-2026 year. (0.341 sec.) Все материалы представленные на сайте исключительно с целью ознакомления читателями и не преследуют коммерческих целей или нарушение авторских прав - Пожаловаться на публикацию