Главная Случайная страница


Полезное:

Как сделать разговор полезным и приятным Как сделать объемную звезду своими руками Как сделать то, что делать не хочется? Как сделать погремушку Как сделать так чтобы женщины сами знакомились с вами Как сделать идею коммерческой Как сделать хорошую растяжку ног? Как сделать наш разум здоровым? Как сделать, чтобы люди обманывали меньше Вопрос 4. Как сделать так, чтобы вас уважали и ценили? Как сделать лучше себе и другим людям Как сделать свидание интересным?


Категории:

АрхитектураАстрономияБиологияГеографияГеологияИнформатикаИскусствоИсторияКулинарияКультураМаркетингМатематикаМедицинаМенеджментОхрана трудаПравоПроизводствоПсихологияРелигияСоциологияСпортТехникаФизикаФилософияХимияЭкологияЭкономикаЭлектроника






Маслонасос mh-14a





Маслонасос предназначен для нагнетания масла из бака в масляную магистраль двигателя и для откачки масла из маслоотстойника двигателя в маслобак.

Основные технические данные:

- Направление вращения.......................................................................... Левое

- Передаточное число привода............................................................... 1,125

- Частота вращения ведущего валика насоса:

- максимальная (не более 10 мин).......................................................... 3319 об/мин

- минимальная.............................................................................................. 580 об/мин

- Рабочая жидкость..................................................................................... Масло МС-20 ГОСТ 21743-76

Подача насоса при частоте вращения ведущего валика масляного насоса 2400 об/мин:

нагнетающей ступени при:

- давлении масла в магистрали (5 ± 0,2) кгс/см2 - и температуре

масла 50-60 °С............................................................................................ 516 л/ч

- заглушенном колпачке и противодавлении

на выходе (6 ± 0,2) кгс/см2...................................................................... Не менее 900 л/ч

- откачивающей ступени при противодавлении на

выходе (1±0,2) кгс/см2 температуре масла 75-125 °С..................... Не менее 1460 л/ч

Маслонасос состоит из корпуса, ведущего и ведомого валиков с зубчатыми венцами, четырех зубчатых колес, редукционного и обратного клапанов, сальника и других деталей.

Корпус насоса изготовлен из магниевого сплава и состоит из корпуса (9) (рис. 2) откачивающей ступени, корпуса (4) нагнетающей ступени, верхней крышки (14) и нижней крышки (2).

Корпус откачивающей ступени имеет два колодца, в которых расположены зубчатые колеса (10) и (12), отверстия для шпилек и валиков, отверстия для подвода и отвода масла и посадочные выточки.

Дно корпуса откачивающей ступени служит перегородкой между откачивающей и нагнетающей ступенями.

Корпус (4) нагнетающей ступени имеет два колодца для зубчатых колес (6) и (15), отверстия для подвода и отвода масла, отверстия с запрессованными бронзовыми втулками, являющимися нижними подшипниками валиков, фланец с отверстиями для шпилек (7) крепления к задней крышке и шесть ввернутых шпилек (18) крепления низшей крышки (2).

В колодцах нижнего фланца расположены: зубчатая передача к нагнетающей ступени, редукционный и обратный клапаны и штуцер замера давления масла.

Верхняя крышка (14) корпуса имеет посадочный буртик, два отверстия с запрессованными и застопоренными бронзовыми втулками, являющимися опорами валиков насоса, и четыре отверстия для выхода шпилек (11) (рис. 3), скрепляющих корпуса насоса.

Нижняя крышка (2) (см. рис. 2) имеет центрирующий буртик и крепится шестью шпильками (18) к корпусу нагнетающей ступени. На крышке имеется фланец с четырьмя шпильками(I) для крепления бензонасоса и гнездо под резиновый армированный сальник (3), который предотвращает течь масла из маслонасоса и бензонасоса.

Маслонасос МН-14А (продольный разрез) Рис. 2
1. Шпилька крепления бензонасоса 2. Нижняя крышка 3. Резиновый армированный сальник 4. Корпус нагнетающей ступени 5. Ведущий валик 6. Зубчатое колесо нагнетающей ступени 7. Шпилька крепления к задней крышке 8. Корпус задней крышки 9. Корпус откачивающей ступени 10. Зубчатое колесо откачивающей ступени 11. Шпонка 12. Зубчатое колесо откачивающей ступени 13. Вертикальный валик задней крышки 14. Верхняя крышка 15. Зубчатое колесо нагнетающей ступени 16. Ведомый валик 17. Ведомая шестерня 18. Шпилька

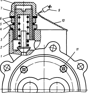
Узел редукционного клапана маслонасоса Рис. 3
1. Редукционный клапан 2. Пружина 3. Втулка регулировочного винта 4. Прокладка 5. Контргайка 6. Прокладки 7. Регулировочный винт 8. Колпачок 9. Пломба 10. Проволока 11. Шпилька

Валики и зубчатые колеса - стальные, с цементированными зубьями.

Ведущий валик (5) насоса имеет зубчатый венец, шлицы для соединения с вертикальным валиком (13), от которого приводится во вращение насос, паз под шпонку (11) зубчатого колеса (12) откачивающей ступени, радиальное и центральное отверстия, по которым масло нагнетается через ведущий валик насоса в двигатель, хвостовик о квадратным отверстием, с помощью которого приводится во вращение бензонасос.

Ведомый валик (16) выполнен за одно целое с зубчатым колесом (15), имеет на нижнем конце шлицевый хвостовик, на который устанавливается шестерня (17), соединяющаяся с зубчатым венцом ведущего валика (5).


Зубчатые колеса (10) и (12) откачивающей ступени имеют центральные отверстия, которыми они устанавливаются на валики (5) и (16).

Зубчатое колесо (12) имеет паз под шпонку (11), с помощью которой оно соединяется с ведущим валиком (5) насоса.

В зубчатое колесо (10) запрессованы две бронзовые втулки, которые дают возможность колесу свободно вращаться на валике (16).

Зубчатое колесо (6) нагнетающей ступени имеет центральное отверстие с бронзовой втулкой, позволяющей колесу свободно вращаться на валике (5).

Узел редукционного клапана (см. рис. 3) состоит из седла, запрессованного в корпус насоса, клапана (1), втулки (3), пружины (2), регулировочного винта (7), контргайки (5), колпачка (8) и прокладок (6). В нагнетающей ступени (на линии выхода) масло регулируется на необходимое давление с помощью регулировочного винта. В случае повышения давления в нагнетающей ступени выше допустимого клапан открывается и перепускает лишнее масло на вход в нагнетающую ступень насоса, поддерживая таким образом постоянное давление в масляной системе на рабочих режимах работы двигателя.

Обратный клапан состоит из корпуса, клапана, направляющей и пружины. Клапан изготовлен из бронзы и имеет сферический буртик, которым он прижимается к гнезду в корпусе с помощью пружины.

Цилиндрическим полым хвостовиком клапан установлен на направляющей клапана. Корпус клапана - стальной, полый, запрессован в корпус нагнетающей ступени.

В корпусе клапана выполнены с двух сторон по четыре выреза для протекания масла при работе двигателя.

На неработающем двигателе закрытый обратный клапан не допускает перетекания масла из маслобака в двигатель.

При работе двигателя под действием давления масла клапан открывается и пропускает масло из нагнетающей ступени маслонасоса в масляную систему двигателя.








Date: 2015-05-08; view: 921; Нарушение авторских прав



mydocx.ru - 2015-2026 year. (0.919 sec.) Все материалы представленные на сайте исключительно с целью ознакомления читателями и не преследуют коммерческих целей или нарушение авторских прав - Пожаловаться на публикацию