Главная Случайная страница


Полезное:

Как сделать разговор полезным и приятным Как сделать объемную звезду своими руками Как сделать то, что делать не хочется? Как сделать погремушку Как сделать так чтобы женщины сами знакомились с вами Как сделать идею коммерческой Как сделать хорошую растяжку ног? Как сделать наш разум здоровым? Как сделать, чтобы люди обманывали меньше Вопрос 4. Как сделать так, чтобы вас уважали и ценили? Как сделать лучше себе и другим людям Как сделать свидание интересным?


Категории:

АрхитектураАстрономияБиологияГеографияГеологияИнформатикаИскусствоИсторияКулинарияКультураМаркетингМатематикаМедицинаМенеджментОхрана трудаПравоПроизводствоПсихологияРелигияСоциологияСпортТехникаФизикаФилософияХимияЭкологияЭкономикаЭлектроника






Конструкция





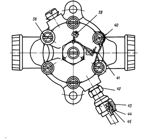
Бензонасос 702МЛ (рис. 1) состоит из качающего узла коловратного типа, узла редукционного клапана с заливочным клапаном и деталей уплотнения.

В конструкцию качающего узла насоса входят: корпус (33), ротор (20), четыре пластины (37), стакан (19), плавающий палец (36), подпятники (21) и (18).

Пластины (37) качающего узла расположены в пазах ротора (20) и опираются одной стороной на плавающий палец (36), а другой - на внутреннюю поверхность стакана (19). Ротор своими цапфами опирается на подпятники (21) и (18).

Качающий узел смонтирован в цилиндрической расточке корпуса (33). Положение качающего узла фиксируется штифтом (9).

Корпус (33) насоса имеет два фланца: один для крепления насоса к двигателю, другой для крепления к корпусу (7) редукционной камеры. Сальниковое уплотнение, расположенное в цилиндрической расточке корпуса (33), предотвращает попадание бензина из полости качающего узла в привод двигателя и масла из полости привода в качающий узел насоса.

Для контроля течи бензина и масла через сальниковое уплотнение в корпусе (33) имеются два отверстия с конической резьбой, в одно из которых ввернут дренажный штуцер.

Для присоединения к двигателю фланец корпуса (33) имеет четыре прилива с отверстиями и центрирующий бурт.

В конструкцию узла редукционного клапана входят корпус (7) редукционной камеры, крышка (26), детали редукционного клапана (6), заливочный клапан (23) с пружиной (22).

Корпус (7) редукционной камеры имеет два фланца: один с центрирующим буртом для соединения с корпусом (33) качающего узла насоса, другой для соединения с крышкой (26) редукционной камеры.

Для присоединения к корпусу (33) и крышке (26) на корпусе (7) редукционной камеры имеются четыре отверстия диаметром 5,3 мм и два отверстия с резьбой.

На внутренней полости корпуса редукционной камеры расположены два литых канала для входа и выхода бензина.

Внутри корпуса расположены узел редукционного клапана (6) и заливочный клапан (23) с пружиной.

Крышка (26) редукционной камеры крепится к корпусу (7) и к корпусу (33) насоса шестью винтами (24), (38) и (40).

На крышке (26) выполнена бобышка с наружной резьбой для колпачка (29) и внутренней резьбой под регулировочный винт (28) и бобышка с отверстием для сообщения с атмосферой.

Между плоскостями крышки и корпуса редукционной камеры установлена мембрана (25) узла редукционного клапана.

Узел редукционного клапана состоит из клапана (6) с закрепленной на нем с помощью гайки (I) мембраной (25) и пружины (27). Гайка (1) контрится замком (2). Пружина (27) одним концом упирается в гнездо штока клапана, а другим - в торец регулировочного винта (28).

Редукционный клапан (6) конусной частью опирается на седло в корпусе (7) редукционной камеры, а цилиндрической направляющей с двумя декомпрессионными лысками входит в расточку корпуса редукционной камеры.

Давление бензина в полости нагнетания регулируют изменением натяжения пружины (27) с помощью регулировочного винта и головки (30) регулировочного винта.

При вращении головки по ходу часовой стрелки регулировочный винт (28) ввертывается в бобышку крышки (26) и сжимает пружину (27). При этом давление бензина повышается. При вращении головки против хода часовой стрелки пружина ослабляется. При этом давление бензина уменьшается.

На цилиндрической направляющей редукционного клапана смонтировал заливочный клапан (23), служащий для заливки бензомагистрали перед запуском двигателя.

Бензин прокачивают во время заливки бензомагистрали через 12 сверленых отверстий, равномерно расположенных на грибке редукционного клапана (6). Заливочный клапан поджат к торцу грибка редукционного клапана пружиной (22), перекрывая этим поступление топлива.

Сальниковое уплотнение насоса состоит из двух резиновых армированных манжет (17), запрессованных в гайку (13) сальника.

Внутренним диаметром манжеты с натягом охватывают хвостовик (15). Для дополнительного поджатия манжет к хвостовику на наружной поверхности конуса манжет установлена пружина (14).

Наружная поверхность качающего узла уплотнена резиновым кольцом (10), которое помещается в выточке верхнего подпятника (18).

Резиновым кольцом (11) создается уплотнение для предотвращения течи масла по резьбе гайки (13) сальника.

Отвод просачивающейся жидкости из дренажной полости осуществляется по специальным сверлениям в гайке сальника, соединяющим дренажную полость со сливным штуцером (42).

Гайка сальника контрится стопорным кольцом (16).


Уплотнение до разъему корпуса насоса и корпуса редукционной камеры создается паронитовой прокладкой (8).

 

Насос 702Ш1 Рис. 1

1. Гайка редукционного клапана 2. Замок гайки редукционного клапана 3. Шайба мембраны 4. Пружинная шайба 5. Шайба 6. Редукционный клапан 7. Корпус редукционной камеры 8. Прокладка редукционной камеры 9. Штифт 10. Уплотнительное кольцо 11. Кольцо 12. Подставка 13. Гайка сальника 14. Пружина манжеты 15. Хвостовик ротора 16. Стопорное кольцо 17. Манжета 18. Верхний подпятник 19. Стакан 20. Ротор 21. Нижний подпятник 22. Пружина заливочного клапана 23. Заливочный клапан 24. Винт 25. Мембрана редукционного клапана 26. Крышка редукционной камеры 27. Пружина редукционной камеры 28. Регулировочный винт 29. Колпачок регулировочного винта 30. Головка регулировочного винта 31. Заглушка 32. Заглушка 33. Корпус насоса 34. Штифт 35. Табличка 36. Палец ротора 37. Пластина 38. Винт 39. Пломба 40. Винт 41. Контровочная проволока 42. Штуцер 43. Гайка 44. Ниппель 45. Заглушка
Насос 702Ш1 к Рис. 1 Насос 702Ш1 к Рис. 1

Насос 702Ш1 к Рис. 1

РАБОТА

Работа качающего узла основана на изменении объемов внутренней полости стакана при вращении эксцентрично расположенного ротора (20) (см. рис. 1) с пластинами (37).

Ротор с четырьмя пластинами и свободно плавающим пальцем (36) образует коловратный механизм, который делит камеру стакана (19) на две полости - всасывания А (рис. 2) и нагнетания Б. При вращении ротора объем полостей всасывания и нагнетания непрерывно изменяется. Объем за пластинами увеличивается, обеспечивая подсасываете бензина из баков, а перед пластинами объем уменьшается, и бензин под давлением нагнетается в карбюратор. За один оборот ротора качающий узел захватывает четыре объема бензина на входе в бензонасос и вытесняет их на выходе из бензонасоса.

При уменьшении расхода бензина давление в полости нагнетания возрастает и сила давления бензина, действуя на редукционный клапан, приподнимает его, сжимая пружину. В результате часть бензина перетекает через редукционный клапан в полость всасывания и подача его автоматически уменьшается.

Если расход бензина из полости нагнетания прекращается, то весь бензин перетекает в полость всасывания, т.е. насос работает на себя.

Давление бензина в полости нагнетания регулируется изменением силы сжатия пружины редукционного клапана при ввертывании или вывертывании регулировочного винта.

Схема работы насоса Рис. 2

1. Пластина

2. Ротор

3. Стакан

 

Мембрана (25) (ом. рис. 1) предназначена для обеспечения постоянного давления нагнетания при изменении давления на входе и изменении атмосферного давления. Пространство над мембраной сообщается с атмосферой через специальное отверстие.

С подъемом на высоту, а также с уменьшением количества бензина в баке самолета растет разрежение на всасывании. Но так как при этом давление падает одинаково как над мембраной редукционной камеры, так и во всасывающей линии насоса и воздушной полости мембранного механизма карбюратора, то давление нагнетания сохраняется в необходимых пределах.

Так как ручной насос заливочной системы установлен перед бензонасосом, то перед запуском двигателя топливо, подаваемое заливочным насосом, заполняет объем над редукционным клапаном через отверстия, выполненные в грибке редукционного клапана, давит на заливочный клапан и, сжимая пружину, открывает вход топливу в полость нагнетания топливной системы.







Date: 2015-05-08; view: 938; Нарушение авторских прав



mydocx.ru - 2015-2026 year. (0.901 sec.) Все материалы представленные на сайте исключительно с целью ознакомления читателями и не преследуют коммерческих целей или нарушение авторских прав - Пожаловаться на публикацию