Главная Случайная страница


Полезное:

Как сделать разговор полезным и приятным Как сделать объемную звезду своими руками Как сделать то, что делать не хочется? Как сделать погремушку Как сделать так чтобы женщины сами знакомились с вами Как сделать идею коммерческой Как сделать хорошую растяжку ног? Как сделать наш разум здоровым? Как сделать, чтобы люди обманывали меньше Вопрос 4. Как сделать так, чтобы вас уважали и ценили? Как сделать лучше себе и другим людям Как сделать свидание интересным?


Категории:

АрхитектураАстрономияБиологияГеографияГеологияИнформатикаИскусствоИсторияКулинарияКультураМаркетингМатематикаМедицинаМенеджментОхрана трудаПравоПроизводствоПсихологияРелигияСоциологияСпортТехникаФизикаФилософияХимияЭкологияЭкономикаЭлектроника






Принципы метода абсолютного расчета





Для разработки внутридорожных планов формирования с малым числом технических станций на направлении может быть использован метод абсо­лютного расчета, преимущество которого состоит в том, что для отыскания оптимального рассчитываются абсолютно все возможные варианты. Недос­татком такой системы является большая затрата времени для расчета каждого варианта, хотя в настоящее время это значительно упрощается в связи с вве­дением в управление перевозочным процессом электронно-вычислительной техники. Рекомендуется метод абсолютного расчета, если на прямом направ-


лении не более пяти опорных станций. В этом случае вполне доступно рас­считать из 103 возможных 64 конкурентоспособных варианта.

Для облегчения расчета разработаны особой формы таблицы, позволяю­щие подсчитать показатели каждого варианта.

Сущность метода абсолютного расчета заключается в определении за­трат вагоно-часов на накопление на станциях формирования и на переработку на попутных станциях. В качестве оптимального выбирается тот, у которого суммарные затраты вагоно-часов будут минимальные.

Алгоритм и программа расчета представлены в примере для направления с пятью опорными станциями. Исходные данные, порядок объединения струй и оптимальный вариант представлены на рис. 3.11. Расчетные таблицы с решениями по вариантам даны на рис. 3.12.


4 ч


Зч 4


5 ч 5


 


ст = 700


600 700 600

Ступенчатый график вагонов


 


150 50 120 60


ТШШШШШШШШШШШПШШШППШППШ


 


130 80 50


По


У///////777777*

70


шттпппп птппмппь


Возможные варианты объединения


50+ 120 60

I вар.


130 80 + 50


110 + 90 + 80 + 50


70+110


 


II вар.


150 50

120 60


130 80 50




 


III вар.


150 + 50+ 120 + 60


130 + 80 + 50+ 150 + 50+ 120

110 + 90+ 150 + 50 + 130 + 80

70+ 150 + 130+ ПО


Оптимальный вариант плана формирования


50 + 120 60


80 + 50


110 + 90 + 80 + 50,


70+110


 



Рис. 3.11. Исходные данные, варианты объединении струй и оптимальный вариант


1.

с 1-й на 3-ю с 1-й на 4-ю

с 1-й на 5-ю со 2-й на 4-ю со 2-й на 5-ю с 3-й на 5-ю

число

сквозных

назначений


 

5ч 4
Зч 3

4ч 2

 

      2,3 + 4,5  
       
         
      3 + 4,5
         
ПО       4 + 5
    ПО  
  -      
1-я ст.   1  
2-я ст.      
3-я ст.     -
       

Порядок объединения струй с 1-й станции

То же со 2-й

То же с 3-й

Число перерабатываемых вагонов

Вагоно-часы на переработку Вагоно-часы на накопление

Сумма вагоно-часов на пере­работку и накопление


3.


    2, 3, 4, 5  
     
       
    3,4,5
       
      4,5
- - - -
- - - -
   
   
   
   

 

    2+3+4+5
     
       
    3 + 4 + 5
       
    ПО 4 + 5
       
       
    -
    -
    -
   

Рис. 3.12. Расчетные таблицы 3 вариантов для 5 опорных станций

Пример. Из трех возможных необходимо выбрать оптимальный вариант плана формирования.

Верхняя часть таблицы построена по принципу ступенчатых графиков ва-гонопотоков отдельно для каждой опорной станции.

Первая горизонтальная строка вьщелена для потока с 1-й станции на 3-ю, вторая - с 1-й на 4-ю, третья - с 1-й на 5-ю, а далее потоки со 2-й на 4-ю, со 2-й на 5-ю, с 3-й на 5-ю.


Вертикальные столбцы соответствуют переработке вагонов на 2-й, 3-й и 4-й станциях. Если переработка отсутствует, то в свободной клетке на данной станции помещается кружок (ноль).

Справа от таблицы указывается характеристика варианта, т.е. порядок объединения струй.

Заполняя свободные клетки, определяют число перерабатываемых ваго­нов по каждой станции и по всему варианту. Вверху над таблицей первого ва­рианта выписываются расчетные часы экономии ж). Умножением числа перерабатываемых вагонов на норму часов экономии находим затрату ваго-но-часов на переработку вагонов по каждой станции и в целом по варианту. В 9-й, 10-й и 11-й строках записывается число формируемых сквозных на­значений и вагоно-часы накопления на каждой станции. Например, по пер­вому варианту, исходя из характеристик, на 1-й станции формируются два сквозных назначения по 700 вагоно-ч, итого 1400 вагоно-ч, на 2-й — одно — 650 вагоно-ч, на 3-й сквозных струй нет. Нижняя прямоугольная графа предназначена для записи общей затраты вагоно-ч на накопление и пере­работку.


Из всех возможных вариантов надо выбрать такой, у которого эта сумма будет минимальной. Если после проверки плана формирования по пропуск­ной и перерабатывающей станций этот вариант окажется неподходящим, рассматривают следующий близкий к нему по суммарным затратам ваго-но-часов. В этом и заключается главное преимущество метода абсолютного расчета, предложенного профессором А.П. Петровым.

Так, заполняя расчетные таблицы по всем возможным вариантам, нахо­дим суммарные затраты вагоно-часов на переработку и накопление.

Из трех рассмотренных вариантов в качестве оптимального выбираем 1-й (см. рис. 3.11).

Принципы метода многокритериальной оценки вариантов плана формирования

Автоматизированная система расчета плана формирования поездов (АС РПФП) разрабатывается Петербургским государственным университе­том путей сообщения (ПГУПС) совместно с информационно-вычислитель­ными центрами Куйбышевской и Октябрьской железных дорог, где ведется испытание этой системы.

Система предназначена для инженерного и руководящего состава подраз­делений, занимающихся управлением перевозками (ЦУП, Департамента управления перевозками МПС России, ЕДЦУ железных дорог).

АС РПФП создается по методике расчета плана формирования поездов, предложенной д.т.н. А.Т. Осьмининым.

В основе методики лежит метод многокритериальной оценки составлен­ных вариантов плана формирования поездов (ПФП). Для каждого составлен­ного варианта ПФП рассчитываются натуральные критерии — потребное число локомотивов, вагоно-часы, вагоно-километры, расходы на энергию и


Расчет плана формирования поездо



{Администратор Команды Модель полигона Действу!

Местные 11248 908 Трансп с перераб 10 0 Транс безперер 10 О

Цветочная 03^20 С Петеро тов. вит 03350

 


Рис 3 13 Автоматизированное построение диаграмм вагонопотоков на графической схеме полигона



Схемы вагонопотоков, маршруты продвижения

[Справки и отчеты

Данные за преды­дущий период

Г Сетевой ПФП

Схемы вагонопотоков, маршруты продвижения

Данные за преды­дущий период

[Справки и отчеты

Региональные ПФП

ПФП станций (развитие системы)

[Дорож ные ПФП ЦУПР

АСУ станций и АРМы

НСИ (развитие системы)

 


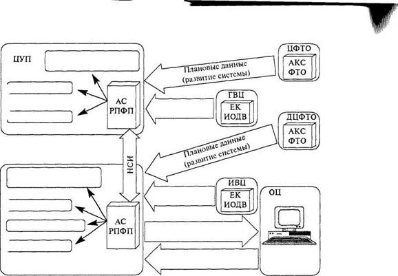
3.14. Схема информационных потоков в АС РПФП

Функциональные блоки АС РПФП


       
   
 
 

 
Редактирование ПФП | в интерактивном режиме I

Оценка вариантов ПФП по различным критериям


Задание отклонений

в маршрутах продвижения

и расчет вариантов ПФП

с их учетом


Формирование справок о маршру­тизированных вагонопотоках

Определение струй

вагонопотоков от одной

станции в направлении

другой

Сравнение вариантов ПФП

с учетом изменения топологии

сети железных дорог


 


166


Формирование справок

о погрузке и выгрузке

с расположением по родам

подвижного состава и роду груза

Рис. 3.15. Функциональные блоки АС РПФП

^


топливо при продвижении поездов. После обработки рассчитанных значений система выбирает в качестве оптимальных вариантов ПФП те, для которых рассчитанные значения критериев являются минимальными.

Расчет ПФП ведется для заданного полигона - дороги, региона или всей сети железных дорог.

В составе системы разработан графический редактор с широкими воз­можностями по созданию графической схемы выбранного полигона.

На графической схеме отображается диаграмма вагонопотоков на участ­ках данного полигона (рис. 3.13).

Входными данными для системы является информация о погрузке и вы­грузке на станциях, поступающая из программного комплекса ЕК ИОДВ (единый комплекс интегрированной обработки дорожной ведомости) за пре­дыдущий месяц. Для дороги и региона эти данные дополняются информаци­ей о транзитных с переработкой вагонах, поступающей из программного комплекса АСОУП (автоматизированная система оперативного управления поездами) и накопленной за тот же временной период (рис. 3.14).

В результате обработки входных данных получаются среднесуточные зна­чения вагонопотоков между опорными станциями полигона, на основе кото­рых ведется автоматизированное составление вариантов плана формирова­ния поездов и затем выбор оптимальных вариантов. Оптимальных вариантов может быть несколько. Окончательный выбор варианта ПФП остается за пользователем.

Кроме того, АС РПФП предоставляет своим пользователям следующие возможности:

■ просмотр справки о среднесуточной погрузке и выгрузке на участках и
станциях, о сформированных и прибывающих поездах;

■ определение местоположения станций на схеме полигона;

" построение маршрутов следования вагонов по кратчайшему расстоянию

и по плану формирования поездов и др.

В настоящее время продолжается работа над расширением функциональ­ных возможностей системы, представленной на рис. 3.15.







Date: 2015-05-19; view: 3583; Нарушение авторских прав



mydocx.ru - 2015-2026 year. (0.442 sec.) Все материалы представленные на сайте исключительно с целью ознакомления читателями и не преследуют коммерческих целей или нарушение авторских прав - Пожаловаться на публикацию