Главная Случайная страница


Полезное:

Как сделать разговор полезным и приятным Как сделать объемную звезду своими руками Как сделать то, что делать не хочется? Как сделать погремушку Как сделать так чтобы женщины сами знакомились с вами Как сделать идею коммерческой Как сделать хорошую растяжку ног? Как сделать наш разум здоровым? Как сделать, чтобы люди обманывали меньше Вопрос 4. Как сделать так, чтобы вас уважали и ценили? Как сделать лучше себе и другим людям Как сделать свидание интересным?


Категории:

АрхитектураАстрономияБиологияГеографияГеологияИнформатикаИскусствоИсторияКулинарияКультураМаркетингМатематикаМедицинаМенеджментОхрана трудаПравоПроизводствоПсихологияРелигияСоциологияСпортТехникаФизикаФилософияХимияЭкологияЭкономикаЭлектроника






Техническая характеристика вакуумно-выпарных установок





Показатель Марка
А2-ОВВ-2 А2-ОВВ-4
Производительность, кг/ч: по испаренной влаге    
по молоку цельному    
Давление рабочего пара, МПа 0,8 0,8
Разрежение в конденсаторе, МПа 0,09 0,09
Температура, °С: воды на входе в конденсатор    
воды на выходе из конденсатора    
кипение молока в корпусах: первый корпус   63-68   70-74
второй корпус 46-50 60-64
третий корпус - 45-48
Расход пара, кг/ч    
Расход воды, кг/ч 22,8  
Содержание сухих веществ в готовом продукте, % 43-52 43-52
Потребление электроэнергии, кВт.ч 11,6  
Продолжительность непрерывной работы, ч 12-17,5 12-17,5
Занимаемая площадь, м² 26,7 32,6
Габаритные размеры, мм:    
длина    
ширина    
высота    
Масса, кг    

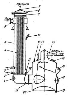
Вакуум-аппарат выпарной установки представляет собой комплекс, состоящий из греющей камеры (калоризатора) 5 (рис. 3) и пароотделителя (сепаратора) 20, соединенные между собой переходной трубой 21.

Рис. 3. Вакуум-выпарной аппарат

1,11,18-лазы; 2-патрубок для отвода конденсата; 3-патрубок для отвода воздуха; 4-нагреватнльные трубки; 5-калоризатор; 6-патрубок для греющего пара; 7-патрубок для подачи молока; 8-крышка; 9-распределительная решетка; 10,14-термометры; 12-основание; 13-воздушный кран; 15-патрубок для вторичного пара; 16-фонарь; 17-смотровое окно; 19-патрубок для отвода сгущенного молока; 20-сепаратор; 21-переходная труба.

 

Греющая камера состоит из трубчатого двухходового теплообменника, в котором размещены две трубные решетки 9 с ввальцованными нагревательными трубками 4 внутренним диаметром 30 мм. По их внутренней поверхности продукт стекает тонкой пленкой. Выделяющиеся пары движутся в середине трубок. Калоризатор снабжен откидными крышками 8, патрубками для подвода греющего пара 6, отвода конденсата 2 и так далее. Они могут находиться на одном уровне с сепаратором, быть выше или ниже них.

Сепаратор цилиндрической формы содержит зонт-отражатель. К днищу пароотделителя крепится патрубок для отвода сгущенного молока 19.

Конденсаторы являются теплообменными аппаратами, в которых теплота вторичных паров отдается охлаждающему агенту, что приводит к их конденсации. Применяют конденсаторы поверхностные и конденсаторы смешения.

Устройство поверхностного конденсатора приведено на рис. 4. Пар поступает в конденсатор через патрубок 4. При движении в межпатрубном пространстве он соприкасается с охлаждающей поверхностью, в результате чего конденсируется. Конденсат по поверхности труб 11 стекает вниз, откуда его откачивают насосом через патрубок 2. В парах содержится воздух, который удаляется из конденсатора через патрубок 12.

Преимуществами поверхностных конденсаторов являются чистота конденсата, который можно использовать для технических нужд и малый расход энергии на отвод конденсата и воздуха. Недостатком являются большие габаритные размеры.

Рис. 4. Поверхностный конденсатор

1-станина; 2-патрубок для отвода конденсата; 3-патрубок для входа смеси воздуха и конденсата из калоризатора; 4-патрубок для входа смеси вторичного пара и воздуха из сепаратора; 5-патрубок для выхода охлаждающей воды; 6-крышка; 7 и 9-перегородки; 8-корпус; 10-вакуумметр; 11-трубы; 12-патрубок для отвода воздуха; 13-патрубок для входа охладающей воды.

 

Брызгоуловители (ловушки) устанавливают, чтобы предотвратить унос частичек продукта со вторичными парами. Работа ловушек основана на многократном изменении направления движения сред. При этом капельки продукта, как более тяжелые, оседают на поверхностях и через специальный патрубок подаются в аппарат. Они должны быть доступны для мойки.

Пробоотборники предназначены для отбора проб, чтобы определить готовность сгущаемого продукта.

Конденсатоотводчики предназначены для отвода конденсата из калоризаторов, в которых может быть пониженное или повышенное по сравнению с атмосферным давление.

Конденсатоотводчики, применяемые в вакуумно-выпарных установках, можно разделить на три основных типа: с цилиндрическими и шарообразными поплавками, а также подпорные шайбы.

Принцип работы конденсатоотводчика с цилиндрическим поплавком (рис. 5, а) заключается в следующем. Патрубок 2 сообщается с трубопроводом, соединенным с верхней частью калоризатора. Это обеспечивает создание в конденсатоотводчике такого же давления, как и в межтрубном пространстве калоризатора. Патрубок 1 соединен с нижней частью калоризатора. Конденсат, самотеком наполняет конденсатоотводчик и поднимает поплавок 6. Под действием столба жидкости клапан 8 закрывается. Поплавок, поднимаясь до определенного уровня, рычагом 3, шарнирно соединенным с ним, закрывает клапан на патрубке 2, соединяющем конденсатоотводчик с межтрубным пространством калоризатора. Одновременно открывается клапан на патрубке 5 для впуска острого пара. Острый пар выталкивает конденсат через клапан 8. Клапан для впуска в это время закрыт. Поплавок, опустившись, рычагом перекрывает клапан острого пара и открывает клапан на входе вторичного пара. Цикл работы повторяется. Плавучесть поплавка в зависимости от требуемых условий работы регулируют добавлением или удалением песка, для чего на поплавке имеется специальная пробка.


Рис. 5. Конденсатоотводчик

а-с цилиндрическим поплавком: б-с шаровым поплавком: 1-патрубок с клапаном для входа конденсата; 2-патрубок с клапаном для соединения с паровым пространством калоризатора; 3- рычаг; 4-пружина; 5-патрубок с клапаном для выпуска острого пара; 6-поплавок; 7-корпус; 8-клапан для отвода конденсата.

 

Этот конденсатоотводчик устанавливают в установках, в которых давление греющего пара меньше атмосферного давления.

Рис. 6. Подпорная шайба

1-труба; 2-фланцы; 3-соеденительные болты; 4-шайба.

 

Работа подпорной (дроссельной) шайбы (рис. 6.) заключается в том, что при определенной разнице давления через ее отверстие может пройти в 30-35 раз больше конденсата, чем пара. Подпорная шайба представляет собой стальной диск толщиной 5-6 мм с отверстием в центре.







Date: 2015-05-04; view: 2119; Нарушение авторских прав



mydocx.ru - 2015-2026 year. (0.542 sec.) Все материалы представленные на сайте исключительно с целью ознакомления читателями и не преследуют коммерческих целей или нарушение авторских прав - Пожаловаться на публикацию