Главная Случайная страница


Полезное:

Как сделать разговор полезным и приятным Как сделать объемную звезду своими руками Как сделать то, что делать не хочется? Как сделать погремушку Как сделать так чтобы женщины сами знакомились с вами Как сделать идею коммерческой Как сделать хорошую растяжку ног? Как сделать наш разум здоровым? Как сделать, чтобы люди обманывали меньше Вопрос 4. Как сделать так, чтобы вас уважали и ценили? Как сделать лучше себе и другим людям Как сделать свидание интересным?


Категории:

АрхитектураАстрономияБиологияГеографияГеологияИнформатикаИскусствоИсторияКулинарияКультураМаркетингМатематикаМедицинаМенеджментОхрана трудаПравоПроизводствоПсихологияРелигияСоциологияСпортТехникаФизикаФилософияХимияЭкологияЭкономикаЭлектроника






Государственная геодезическая сеть





Государственная геодезическая сеть представляет собой совокупность геодезических пунктов, равномерно распределенных на территории всей страны и закрепленных на местности центрами, обеспечивающими сохранность и устойчивость этих пунктов в течение длительного времени.

Согласно Основным положениям о построении государственной геодезической сети СССР, 1954 г., ее подразделяют: на триангуляцию, полигонометрию и трилатерацию 1, 2, 3 и 4-го классов; нивелирные сети I, II, III и IV классов.

Государственную геодезическую сеть создают по принципу от общего к частному (от высшего класса к низшему). Это означает, что сначала строят достаточно редкую сеть пунктов, определенных с очень высокой точностью. Затем эту сеть сгущают пунктами, определяемыми с менее высокой точностью.

Рассмотрим схему построения плановой государственной геодезической сети методом триангуляции, так как в основном этим методом построена существующая сеть.

В первую очередь строят триангуляцию 1 -го класса в виде рядов треугольников (близких к равносторонним), которые располагают по возможности вдоль меридианов и параллелей (Рисунок 62). Длины сторон треугольников, как правило, не менее 20 км. Ряды треугольников образуют замкнутые полигоны периметром около800 км. Длина каждого звена (ряда треугольников) не должна превышать 200 км.

Рисунок 62 Схема построения плановой государственной геодезической сети методом триангуляции:

1 — пункт триангуляции 1 -го класса; 2 — пункт триангуляции 2-го класса; 3 — пункт Лапласа; 4— базисная сторона

 

На концах каждого звена триангуляции 1-го класса в пересечении рядов треугольников, идущих по меридианам и параллелям, определяют длины выходных сторон либо из непосредственных измерений (стороны CD, EF, GH), либо из базисных сетей (сторона АВ) с относительной погрешностью не более 1/400 000. Базисы выбирают длиной не менее 6 км и измеряют светодальномерами или инварными проволоками с относительной погрешностью не более 1/1 000000.

На концах базисных (выходных) сторон триангуляции 1-го класса из астрономических наблюдений определяют широту, долготу и азимут (пункты Лапласа).

Вместо звеньев триангуляции могут быть построены звенья полигонометрии 1-го класса.

Кроме того, что сеть 1-го класса является исходной для построения всех геодезических сетей, она служит базой при решении задач по определению формы и размеров Земли и др.


Рисунок 63 Схемы построения триангуляции 3...4-го классов в виде отдельных систем

Триангуляцию 2-го класса строят в виде сети треугольников, сплошь заполняющих полигон 1-го класса. Внутри этой сети (примерно в середине) измеряют базисную сторону, на концах которой определяют широту, долготу и азимут. Так как при построении сети 1-го и 2-го классов используют результаты астрономических наблюдений, то ее называют астрономо-геодезической. Сети 1-го и 2-го классов сгущают пунктами 3-го, а затем 4-го классов. Триангуляцию 3-го и 4-го классов строят в виде отдельных систем (Рисунок 63).

Иногда по экономическим соображениям триангуляцию любого класса заменяют полигонометрией или трилатерацией того же класса. По точности построения все виды сетей одного и того же класса должны быть равноценными.

На небольших территориях, где нет пунктов 1-го и 2-го классов, в качестве исходной геодезической опоры для съемок в масштабах 1:5000 и 1:2000 разрешается строить самостоятельные сети 3-го и 4-го классов. При этом в сети триангуляции должно быть измерено не менее двух сторон, в полигонометрической сети периметры полигонов не должны превышать для 3-го класса — 60 км, для 4-го класса — 35 км.

В зависимости от класса плановая государственная геодезическая сеть характеризуется данными, приведенным в таблице 6.

Таблица 6 - Основные характеристики плановой государственной геодезической сети

Класс Триангуляция Полигонометрия Трилатерация
S, км mβ fβдоп MS/S mβ ms/S ms/S
  >20 7...20 5...8 2...S 0,7 1,0 1,5 2,0   1/400000 1/300000 1/200000 1/200000 0,4 1,0 1,5 2,0 1/400000 1/200000 1/100000 1/400000 –– –– 1/100000 1/40000

Примечание. При построении сетей 3-го и 4-го классов методом трилатерации предельные длины сторон треугольников такие же, как и в триангуляции соответствующего класса.

S—длина стороны; mβ —средняя квадратическая погрешность измерения угла; fβдоп — допустимая (предельная) невязка в сумме углов треугольника (триангуляции); ms/S —относительная средняя квадратическая погрешность измерения стороны в полигонометрическом ходу, трилатерации и базисной стороны в триангуляции.


Пункты государственной геодезической сети закрепляют на местности зарываемыми в землю центрами в виде бетонных, каменных или кирпичных на цементном растворе монолитов, железобетонных пилонов, бетонированных рельсов или труб. Сверху в них закладывают чугунные марки, имеющие на поверхности отверстие или крест, обозначающие центр пункта.

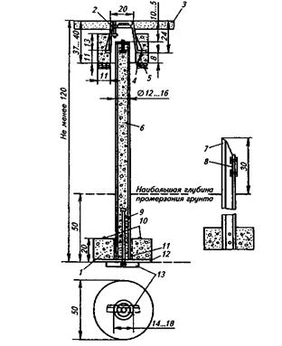
Типы центров установлены соответствующими инструкциями применительно к климатическим и физико-географическим условиям региона и местным особенностям. Центр пункта для районов неглубокого (до 1,5 м) промерзания грунта показан на рисунке 64.

Над центрами сооружают деревянные или металлические наружные знаки, которые служат визирными целями при измерении углов и линий. Наружные знаки бывают разных конструкций в зависимости от условий местности и расстояния между пунктами. Такими знаками являются: простая пирамида (Рисунок 65, а), когда имеется возможность угловых наблюдений со штатива, установленного на земле, и сигнал (Рисунок 65, б), когда для наблюдений прибор необходимо установить на большой высоте (до 40 м и более). В горных районах наружный знак сооружают в виде каменного или кирпичного тура. Вокруг каждого наружного знака (кроме тура) делают внешнее оформление в виде канав, образующих квадрат.

Высотные геодезические сети создают в основном методами геометрического и тригонометрического нивелирования и подразделяют на государственную нивелирную сеть и сети технического нивелирования.

Государственная нивелирная сеть позволяет: равномерно обеспечивать высотной основой всю территорию страны; упорядочить связь высотной сети с уровнями внешних морей; создать обширную сеть повторного нивелирования для изучения вертикальных деформаций земной коры по территории всей страны.

Рассмотрим схему создания высотной государственной геодезической сети. Вначале прокладывают на больших расстояниях одна от другой нивелирные линии I класса, которые затем последовательно сгущают, прокладывая нивелирные линии II, III и IV классов.

Линии I класса прокладывают по направлениям, связывающим далекие один от другого пункты страны и основные морские водомерные посты.

Нивелирная сеть II класса опирается на пункты I класса. Линии I и II классов прокладывают по местам, наиболее удобным для нивелирования (вдоль железных, шоссейных дорог, больших рек). Периметры полигонов нивелирования I и II классов на европейской части России в среднем соответственно составляют 2800 и 600 км.

 

Рисунок 64 Центр пункта государственной геодезической сети для районов неглубокого промерзания (размеры в см):

1 — бетонный якорь диаметром 50 см; 2 — чугунный колпак с крышкой; 3— асфальт или поверхность земли, очищенная от дерна; 4— заливка бетонным раствором; 5— бетонное кольцо (подушка колпака); б—асбоцементная или железобетонная труба (диаметр 12... 16 см), заполненная бетонным (цементным) раствором, или железобетонный пилон круглого (12...16см) или прямоугольного сечения, или рельс; 7— рельс; 8— металлическая пластина; 9—болт диаметром 16...20 мм; 10—железные скобы; 11 — соединение на цементном растворе; 12— слой цементного раствора в 2...3 см; 13 — уголок 50 х 50 мм


В 1990 г. общая протяженность линий нивелирования в СССР составляла: I класса — 160 тыс. км, II класса — 400 тыс. км.

Нивелирные сети III класса опираются на пункты нивелирования 1 и II классов и образуют полигоны с периметром 150 км. Для обеспечения съемки в масштабах 1: 5000 и крупнее периметр полигона не должен превышать 60 км.

 

Рисунок 65 Наружные геодезические знаки:

а — простая четырехгранная пирамида (размеры в см); б— геодезический сигнал: 1 — визирный цилиндр; 2— площадка для наблюдений; 3 — внутренняя пирамида

Нивелирные ходы IV класса прокладывают в одном направлении между пунктами старших классов. Длины этих ходов не должны превышать 50 км. Пункты IV класса являются непосредственным высотным обоснованием для топографических съемок. При съемке участка местности все пункты триангуляции и полигонометрии на нем должны быть обеспечены высотами из нивелирования III и IV классов.

Пункты нивелирования всех классов закрепляют реперами и марками через каждые 5 км. В труднодоступных районах расстоя­ние между смежными реперами может быть увеличено до 6...7 км.

Точность государственного нивелирования различных классов может быть охарактеризована предельной погрешностью на 1 км хода, которая входит в качестве коэффициента в формулы допустимых невязок.

 

Класс нивелирования I II III IV
Допустимая невязка

В зависимости от масштабов съемки пункты плановой и высотной государственных сетей должны быть доведены до определенной плотности и располагаться на местности по возможности равномерно (Таблица 7).

 

 

Таблица 7- Плотность пунктов государственных плановой и нивелирной сетей

 

 

 

Масштаб съемки Один пункт на площадь,км2
Плановая сеть Нивелирная сеть
1:25000 1:10000 50...60 ––
(1, 2, 3-го классов)
1:5000 20...30 10...15
1:2000 5...15 5...7

 







Date: 2015-09-19; view: 1907; Нарушение авторских прав



mydocx.ru - 2015-2026 year. (0.377 sec.) Все материалы представленные на сайте исключительно с целью ознакомления читателями и не преследуют коммерческих целей или нарушение авторских прав - Пожаловаться на публикацию