Главная Случайная страница


Полезное:

Как сделать разговор полезным и приятным Как сделать объемную звезду своими руками Как сделать то, что делать не хочется? Как сделать погремушку Как сделать так чтобы женщины сами знакомились с вами Как сделать идею коммерческой Как сделать хорошую растяжку ног? Как сделать наш разум здоровым? Как сделать, чтобы люди обманывали меньше Вопрос 4. Как сделать так, чтобы вас уважали и ценили? Как сделать лучше себе и другим людям Как сделать свидание интересным?


Категории:

АрхитектураАстрономияБиологияГеографияГеологияИнформатикаИскусствоИсторияКулинарияКультураМаркетингМатематикаМедицинаМенеджментОхрана трудаПравоПроизводствоПсихологияРелигияСоциологияСпортТехникаФизикаФилософияХимияЭкологияЭкономикаЭлектроника






Триггер. Принципы работы. Временные диаграммы работы логических элементов





Триггер - класс электронных устройств, обладающих способностью длительно находиться в одном из двух устойчивых состояний и чередовать их под воздействием внешних сигналов. Каждое состояние триггера легко распознаётся по значению выходного напряжения. По характеру действия триггеры относятся к импульсным устройствам — их активные элементы (транзисторы, лампы) работают в ключевом режиме, а смена состояний длится очень короткое время.

Пусть на входы R и S подаются единичные потенциалы. Если на выходе верхнего логического элемента "2И-НЕ" Q присутствует логический ноль, то на выходе нижнего логического элемента "2И-НЕ" появится логическая единица. Эта единица подтвердит логический ноль на выходе Q. Если на выходе верхнего логического элемента "2И-НЕ" Q первоначально присутствует логическая единица, то на выходе нижнего логического элемента "2И-НЕ" появится логический ноль. Этот ноль подтвердит логическую единицу на выходе Q. То есть при единичных входных уровнях схема RS триггера работает точно так же как и схема на инверторах.

 

Подадим на вход S нулевой потенциал. Согласно таблице истинности логического элемента "И-НЕ" на выходе Q появится единичный потенциал. Это приведёт к появлению на инверсном выходе триггера нулевого потенциала. Теперь, даже если снять нулевой потенциал с входа S, на выходе триггера останется единичный потенциал. То есть мы записали в триггер логическую единицу.

Точно так же можно записать в RS-триггер и логический ноль. Для этого следует воспользоваться входом R. Так как активный уровень на входах оказался нулевым, то эти входы — инверсные. Составим таблицу истинности RS триггера. Входы R и S в этой таблице будем использовать прямые, то есть и запись нуля, и запись единицы будут осуществляться единичными потенциалами (таблица 1).

Схема простейшего rs триггера на схемах "2И-НЕ"

Таблица истинности синхронного RS триггера

С R S Q(t) Q(t+1) Пояснения
  x x     Режим хранения информации
  x x    
          Режим хранения информации
         
          Режим установки единицы S=1
         
          Режим записи нуля R=1
         
        * R=S=1 запрещенная комбинация
        *

Временные диаграммы работы логических элементов(и,или,не,или-не,и-не)

15. Триггер со счётным входом.

У данного триггера имеется только один вход. Принцип работы T-триггера заключается в следующем. После поступления на вход T импульса, состояние триггера меняется на прямо противоположное. Счётным он называется потому, что T триггер как бы подсчитывает количество импульсов, поступивших на его вход.

Триггер со счётным входом

16. Счётчик, сумматор.

Счётчик числа импульсов — устройство, на выходах которого получается двоичный (двоично-десятичный) код, определяемый числом поступивших импульсов.

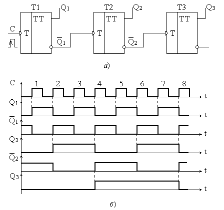
Структурная схема и временная диаграмма работы трехразрядного двоичного суммирующего счетчика на основе Т-триггеров с прямым динамическим счетным входом.

Сумматор - устройство, преобразующее информационные сигналы (аналоговые или цифровые) в сигнал, эквивалентный сумме этих сигналов.

Сумматор








Date: 2015-07-27; view: 4913; Нарушение авторских прав



mydocx.ru - 2015-2026 year. (1.483 sec.) Все материалы представленные на сайте исключительно с целью ознакомления читателями и не преследуют коммерческих целей или нарушение авторских прав - Пожаловаться на публикацию