Главная Случайная страница


Полезное:

Как сделать разговор полезным и приятным Как сделать объемную звезду своими руками Как сделать то, что делать не хочется? Как сделать погремушку Как сделать так чтобы женщины сами знакомились с вами Как сделать идею коммерческой Как сделать хорошую растяжку ног? Как сделать наш разум здоровым? Как сделать, чтобы люди обманывали меньше Вопрос 4. Как сделать так, чтобы вас уважали и ценили? Как сделать лучше себе и другим людям Как сделать свидание интересным?


Категории:

АрхитектураАстрономияБиологияГеографияГеологияИнформатикаИскусствоИсторияКулинарияКультураМаркетингМатематикаМедицинаМенеджментОхрана трудаПравоПроизводствоПсихологияРелигияСоциологияСпортТехникаФизикаФилософияХимияЭкологияЭкономикаЭлектроника






Дощатоклеенные колонны





Дощатоклееные колонны для зданий с наполным тр-том и подвесными кранами проектируются постоянного по высоте сечения, для зданий с мост. кранами с уступом для укладки подкр. балок.

Колонны расчитыв на постоянные нагрузки от всего покрытия (стенового ограждения, и собственного веса на вертикальные временные снеговые нагрузки, нагрузки от кранов, на горизонтальные временные ветровые нагрузки и тормозные нагрузки от мостовых и подвесных кранов).

Поперечная рама состоит из защемленных в фундаментах колонн и шарнирно опертых на них ригелей (балка, ферма, арка). Рама один раз статистически неопределима.

от равномерно-распределенной ветровой нагрузки на колонны

III СНиП

от стенового ограждения

где где е = -расстояние от середины стены до середины сечения колонны

hК принимаем ширину ;

 

 

Принятое с учетом сортамента пиломатериалов и условий опирания ригеля на колонну сечение колонн, проверяют на расчетное сочетание нагрузок в плоскости рамы, как сжатоизгиб. Элемент; из плоскости рамы – центр. сжатый элемент.

Пред. гибкость для колонн 120.

При определении гибкости расчетную длину колонны в плоскости рамы принимаем l0 =2,2 Н (при отсутствии соединения верхи колонн с жестким торцами здания гор. связями).

При вычислении гибкости из плоскости рамы расчетную длину принимают равной между узлами вертикальных связей, поставленных по колоннам в плоскости продольных стен.

Наиболее ответственным в колоннах является жесткий узел, обеспечивающий восприятие изгибающего момента.

При определении усилия снеговую и другие временные вертикальные нагрузки не вызывающие изгибающего момента не учитывают, момент берут максимальный.

 

Рис21. Схема к расчету узла защемления колонны в фундаменте.

Из двух условий равновесия

Вычисляем Na, подставляя соответствующее значения Dc.

Усилие в анкерном болте

0,85 – коэффициент, учитывающий неравномерность усилий в анкерном болте. Необходимая площадь анкерного болта определяется по формуле

Расчет узла защемления колоны в фундаменте с помощью натяжных анкеров.

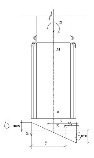
Сначала определяется напряжение на поверхности фундамента. ;

Построим эпюру напряжений на поверхности фундамента.

 

Рис 22. Конструкция узла защемления колонны в фундаменте и схема к расчету.

 

 

 

Из условия равновесия внешних и внутренних сил определим усилие в анкерных болтах Z

 







Date: 2015-07-24; view: 661; Нарушение авторских прав



mydocx.ru - 2015-2026 year. (0.225 sec.) Все материалы представленные на сайте исключительно с целью ознакомления читателями и не преследуют коммерческих целей или нарушение авторских прав - Пожаловаться на публикацию