Главная Случайная страница


Полезное:

Как сделать разговор полезным и приятным Как сделать объемную звезду своими руками Как сделать то, что делать не хочется? Как сделать погремушку Как сделать так чтобы женщины сами знакомились с вами Как сделать идею коммерческой Как сделать хорошую растяжку ног? Как сделать наш разум здоровым? Как сделать, чтобы люди обманывали меньше Вопрос 4. Как сделать так, чтобы вас уважали и ценили? Как сделать лучше себе и другим людям Как сделать свидание интересным?


Категории:

АрхитектураАстрономияБиологияГеографияГеологияИнформатикаИскусствоИсторияКулинарияКультураМаркетингМатематикаМедицинаМенеджментОхрана трудаПравоПроизводствоПсихологияРелигияСоциологияСпортТехникаФизикаФилософияХимияЭкологияЭкономикаЭлектроника






Плоскостные сплошные деревянные конструкции с применением древесины и пластмасс





Основные формы 1. К таким конструкциям относятся конструкции, в которых усилия возникают в плоскости действия внешних сил и сечения которых не имеют сквозной решетки.

а) при L<6 м – балки, прогоны, стропила, настилы цельного сечения

б) при больших пролетах, превышающих сортамент по длине – более сложные конструкции из брусьев, досок и фанеры (панели, балки, арки, рамные и другие распорные системы)

Основные схемы плоскостных сплошных ДК

1) Балки на пластинчатых нагелях

 

Плоскостные сплошные конструкции цельного сечения.

1. Настилы и обрешетка.

Настилы являются несущими элементами ограждающих деревянных покрытий.

На их изготовление расходуется 70% объема древисины деревянных покрытий.

Настилы из досок применяют в покрытиях в виде сплошной конструкции или обрешетки под кровли различных типов.

Под трехслойную рубероидную кровлю неотапливаемых зданий основанием служат из двух слоев досок, соединенных гвоздями.

 

Рубероидная кровля

 
 

 


Рабочий разреженный настил

 

 

 
 

 


прогон

защитный настил

 

рис 11 Дощатый двойной настил под рулонную кровлю.

В покрытиях различных отапливаемых Зданий для укладки утеплителя принимают одинарный настил.

 

рубероидная кровля

 
 

 


рабочий

сплошной

настил

 

 

выравнив. слой прогон

 

утеплитель

 

пароизоляция рис 12. Одинарный дощатый настил

 

 

Для кровли волнистых асбестоцементных листов и кровельной стали устанавливают обрешетки из досок или брусков расположенных на расстоянии друг от друга и зависящим от материала покрытия кровли.

 

Рис.13. Обрешетка из брусков под волнистую кровлю

 

 

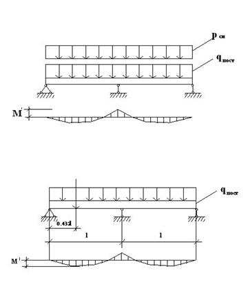
Рис.14. Расчетные схемы настила и обрешетки.

 

 

Расчет настилов и обрешеток, работающих на поперечный изгиб, производят по схеме двухпролетной балки при двух сочетаниях нагрузки:

− нагрузки от собственного веса покрытия и снеговой нагрузки на прочность и прогиб

где

− нагрузки от собственного веса покрытия и сосредоточенные нагрузки в одном пролете

Рн =1 кН с участком коэф. нагрузки К =1,2, Рр =1,2 кН на прочность

Максимальный момент находится на расстоянии х =0,432 l

Прогоны и балки

Выполняют из досок на ребро, брусьев и бревен, чаще окантованных с двух сторон.

Разрезные прогоны более просты в изготовлении и монтаже, но требуют большого расхода древесины. Стыкуются на опорах, впритык, на накладках или вразбежку. В консольно-балочных и неразрезных прогонах из спаренных досок стыки в пролете.

Рис.15. Схема конструкция прогонов:

а)разрезного

 

б) консольно-балочного

в) неразрезного из спаренных досок

 

При определении усилия снеговую и другие временные вертикальные нагрузки не вызывающие изгибающего момента не учитывают, момент берут максимальный.

Консольно-балочные прогоны являются многопролетными статистически определяемыми системами. Их применение целесообразно в том случае, когда временная нагрузка неподвижна и равномерно распределена по всем пролетам прогона.

Если стык на х=0,15 l, то равномоментное решение прогона кратные пролеты

Мпролетопор Для выравнивания моментов

Если шарниры на х=0,21 l, то равнопрогибное решение, для выравнивания прогибов кратные пролеты l =0.79 l

Если крайний пролет 0,79 l, то

 

Значение решение прогона
равномен равнопрогиб
х 0,15 l 0,21 l
Моп
Мпр
Максим. f
Величина крайн. пролет 0,85 l 0,79 l

Недостаток консольно-балочных прогонов при длине лесоматериалов 6,5 перекрываемый пролет невелик l = 4,5 м

Спаренные неразрезные прогоны состоят из 2 рядов досок, поставленных на ребро и соединенные гвоздями, забиваемые конструктивно с шагом 50 см

Каждый ряд досок выполнен по схеме консольно-балочного прогона с последовательным расположением стыков, но первый ряд не имеет стыков в первом пролете, второй ряд досок в последнем пролете.

Доски одного ряда по длине соединяют без косого прируба. Концы досок одного ряда прибивают гвоздями к доске другого ряда не имеющей в данном месте стыка.

Гвоздевой забой стыка должен быть рассчитан на поперечную силу, приходящую на один ряд досок , в тоже время , откуда количество гвоздей , х -расстояние от опоры до центра гвоздевого забоя.

Стыки устраивают на расстоянии х =0,21 l. Спаренный неразрезной прогон рассчитывается аналогично консольно-балочному по равнопрогибной схеме. (см. таблицу,


Балки на пластинчатых нагелях (в 1932). l =6-6,5, сплачиваются по высоте 2,3 бруса деревянным пластинчатым нагелем гнезда для нагелей производственным цепнодолбежным станком. Размеры гнезда 58×12мм.

Рассчитывают как составную балку на податливых связях, с введением коэффициентов учитывающих податливость связей.

Т=0,75 в пл (кН) – расчетная несущая способность дубового или березового нагеля в соединениях элементов из сосны и ели.

Нагели изготавливают на рейсмусном станке по пробному гнезду.

Гнезда для нагелей выбирают электр цепнодолбежным станком.

Размеры гнезд, лимитируемые размерами цепей должны обеспечивать достаточное защемление нагеля в брусе. Высота брусьев не может быть меньше 140мм., т.к. максимальная глубина врезки нагелей розклад занять

Дощатоклееные балки из поката досок.

а) постоянной высоты

 

h

 

б)двускатная балка

 


hср

hоп

 


в) гнутоклееная балка


г)поперечные сечения дощатоклееных балок

 







Date: 2015-07-24; view: 2090; Нарушение авторских прав



mydocx.ru - 2015-2026 year. (0.983 sec.) Все материалы представленные на сайте исключительно с целью ознакомления читателями и не преследуют коммерческих целей или нарушение авторских прав - Пожаловаться на публикацию