Главная Случайная страница


Полезное:

Как сделать разговор полезным и приятным Как сделать объемную звезду своими руками Как сделать то, что делать не хочется? Как сделать погремушку Как сделать так чтобы женщины сами знакомились с вами Как сделать идею коммерческой Как сделать хорошую растяжку ног? Как сделать наш разум здоровым? Как сделать, чтобы люди обманывали меньше Вопрос 4. Как сделать так, чтобы вас уважали и ценили? Как сделать лучше себе и другим людям Как сделать свидание интересным?


Категории:

АрхитектураАстрономияБиологияГеографияГеологияИнформатикаИскусствоИсторияКулинарияКультураМаркетингМатематикаМедицинаМенеджментОхрана трудаПравоПроизводствоПсихологияРелигияСоциологияСпортТехникаФизикаФилософияХимияЭкологияЭкономикаЭлектроника






Электрическая сеть постоянного тока





Основными и резервными источниками электроэнергии постоян­ного тока являются два генератора СТГ-18ТМО, которые установ­лены по одному на левом и правом двигателях. Мощности одного генератора с избытком хватает для питания всех потребителей эле­ктроэнергии постоянного тока, установленных на самолете. При нормальной работе обоих генераторов они подключаются к борто­вой сети параллельно и работают с недогрузкой, а в случае выхода из строя одного из них другой генератор обеспечивает питание всех потребителей.

В качестве аварийных источников постоянного тока на самолете используются две аккумуляторные батареи 12-САМ-28, располо­женные в переднем электроотсеке самолета.

В гондоле правого двигателя размещена газотурбинная установ­ка ТГ-16 с генератором ГС-24А, от которого может питаться сеть самолета только на земле.

Бортовая сеть постоянного тока может также питаться от одно­го или двух аэродромных источников электроэнергии, смонтиро­ванных на одном автомобиле (АПА). Для подсоединения этих ис­точников на левом борту гондолы правого двигателя имеются два разъема (вилки) типа ШРАП-500К.

Все бортовые генераторы постоянного тока, т. е. два СТГ-18ТМО и один ГС-24А являются стартер-генераторами. Это значит, что во время запуска соответствующего двигателя каждый из них явля­ется стартером, т. е. работает как электродвигатель и служит для раскрутки двигателя. После запуска двигателя стартер-генератор автоматически переключается в генераторный режим.

Стартер ГС-24А питается постоянным током от одного или двух аэродромных источников электроэнергии или от бортовых аккуму­ляторных батарей. Аэродромный источник или аккумуляторные ба­тареи в этом случае предварительно подключают к бортовой сети постоянного тока.

Для питания стартера СТГ-18ТМО используются два аэродром­ных источника электроэнергии постоянного тока или генератор ГС-24А и

 

 

Рис. 3. Размещение ос­новных распределитель­ных устройств:

1 — РК кабины экипажа; 2 — щит АЗС; 3 — панель переменного тока; 4—при­борная доска радиста; 5 — РК гондолы; 6 — РК пере­менного тока; 7, 8 — правое и левое ЦРУ; 9 — РК топливных насосов; 10 — элект­рощиток бортпроводника

 

бортовые аккумуляторные батареи. Во время запуска дви­гателя аэродромные источники или генератор ГС-24А подключа­ются к шине запуска, от которой питается только якорная обмотка стартера СТГ-18ТМО.

Электроэнергия подводится от источников к потребителям через распределительные устройства. В этих устройствах имеются ос­новные и аварийные шины, к которым подключены потребители электроэнергии соответственно основной и аварийной сети.

На самолете установлены следующие распределительные уст­ройства электроэнергии постоянного тока:

левое центральное распределительное устройство (ЦРУ) за от­кидной панелью на потолке между шпангоутами № 15 и 16;

правое центральное распределительное устройство (ЦРУ) за откидной панелью на потолке между шпангоутами № 14 и 15;

щит автоматов защиты сети (АЗС, рис. 2) на правом борту ка­бины экипажа между шпангоутами № 5 и 6;

распределительная коробка «РК кабины экипажа» на правом борту между шпангоутами № 5 и 6;

приборная доска радиста на перегородке шпангоута № 7 в ка­бине экипажа справа;

распределительная коробка «РК топливных насосов» за откид­ной панелью на потолке между шпангоутами № 21 и 22;

электрощиток бортпроводника в переднем грузовом отсеке на левом борту (между шпангоутами № 9—11);

распределительная коробка «РК аккумуляторов» в переднем правом электроотсеке самолета;

распределительная коробка «РК гондолы» на левом борту вну­три правой гондолы.

Схема расположения распределительных устройств на самолете показана на рис. 3.

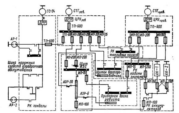
На рис. 4 приведена схема распределения электроэнергии по­стоянного тока.

Основные шины имеются во всех распределительных устройст­вах, аварийные — в щите АЗС, за приборной доской радиста и в электрощитке бортпроводника. Основные шины всех распредели­тельных устройств соединены между собой проводами через пре­дохранители. Особо ответственные линии соединения дублированы, с учетом чего все основные шины вместе с проводами образуют кольцо электрической проводки.

 

Рис. 4. Схема распределения электроэнергии постоянного тока

 

Аварийные шины приборной доски радиста и электрощитка бортпроводника подключены к аварийной шине щита АЗС через ав­томаты защиты АЗР-6 и АЗР-20, которые установлены на этом щите и имеют надписи соответственно «Аварийная шина прибор­ной доски радиста» и «Освещение дежурное».


Левый генератор СТГ-18ТМО подключается к шине левого ЦРУ, правый генератор — к шине правого ЦРУ. Генератор ГС-24А и аэродромные источники электроэнергии постоянного тока подклю­чаются к шине левого ЦРУ. Бортовые аккумуляторные батареи могут быть подключены к основной шине РК кабины экипажа или к аварийной шине щита АЗС.

В распределительной коробке «РК гондолы» расположена шина наружных средств аэродромного обслуживания. От нее питаются розетки, установленные на нижней обшивке крыла, и внешних от­секов самолета, лампы внешних отсеков, проходного освещения и система централизованной заправки самолета топливом.

Если подсоединить источник электроэнергии к переднему разъ­ему аэродромного питания, то энергия будет подводиться к шине наружных средств аэродромного обслуживания непосредственно от этого разъема. Когда какой-либо источник электроэнергии подклю­чен к основным шинам бортовой сети постоянного тока, шина на­ружных средств автоматически соединяется с этой сетью. Потре­бители электроэнергии подключены, как правило, к шинам тех рас­пределительных устройств, вблизи которых они установлены.

Цепи нагрузки источников и питания потребителей электроэнер­гии постоянного тока защищены плавкими предохранителями типа ТП, ИП, СП,

автоматами защиты типа АЗС и АЗР, обеспечива­ющими отключение участков сети в случаях токовых перегрузок или коротких замыканий, возникающих при неисправностях борто­вой сети или потребителей электроэнергии.

Предохранители расположены во всех распределительных уст­ройствах постоянного тока. Однако большинство из них установле­но в левом и правом ЦРУ и в РК кабины экипажа.

Автоматы защиты размещены на щите АЗС, на приборной доске радиста, на РК кабины экипажа и на электрощитке бортпровод­ника.

Возле каждого предохранителя и автомата защиты имеется над­пись с указанием его номинала и устройства, цепь питания (нагруз­ки) которого он защищает. Кроме того, на откидных панелях боль­шинства распределительных устройств помещены схемы этих уст­ройств. Запасные предохранители и электролампы расположены в ящике, который прикреплен снизу к откидной части столика ра­диста.

Электрическая сеть постоянного тока выполнена по однопроводной схеме, т. е. «минусовым» проводом является корпус самолета. Номинальное напряжение источников электроэнергии постоянного тока принято равным 28,5 В, а потребители электроэнергии рассчи­таны на напряжение 27 В±10%.







Date: 2015-07-22; view: 2517; Нарушение авторских прав



mydocx.ru - 2015-2026 year. (0.728 sec.) Все материалы представленные на сайте исключительно с целью ознакомления читателями и не преследуют коммерческих целей или нарушение авторских прав - Пожаловаться на публикацию