Главная Случайная страница


Полезное:

Как сделать разговор полезным и приятным Как сделать объемную звезду своими руками Как сделать то, что делать не хочется? Как сделать погремушку Как сделать так чтобы женщины сами знакомились с вами Как сделать идею коммерческой Как сделать хорошую растяжку ног? Как сделать наш разум здоровым? Как сделать, чтобы люди обманывали меньше Вопрос 4. Как сделать так, чтобы вас уважали и ценили? Как сделать лучше себе и другим людям Как сделать свидание интересным?


Категории:

АрхитектураАстрономияБиологияГеографияГеологияИнформатикаИскусствоИсторияКулинарияКультураМаркетингМатематикаМедицинаМенеджментОхрана трудаПравоПроизводствоПсихологияРелигияСоциологияСпортТехникаФизикаФилософияХимияЭкологияЭкономикаЭлектроника






Аппарат для приготовления сахарной ваты с механизмом выдачи палочек





 

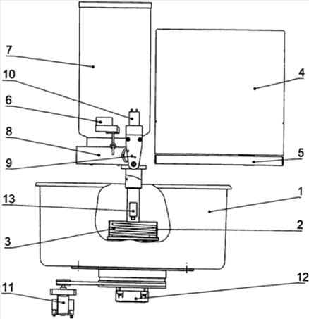
На рисунке Б14 представлен аппаратдля приготовления сахарной ваты с механизмом выдачи палочек, где 1 - чаша, 2 - перфорированный барабан, 3 - электронагреватель, 4 - магазин для палочек, 5 - механизм выдачи палочек, 6 - устройство для смачивания палочек, 7 - бункер с дозатором 8, 9 - манипулятор, 10 - привод вращения палочки, 11 - привод вращения чаши, 12 - привод вращения барабана, 13 - датчик уровня сахарного песка.

Рисунок 14 Схема аппаратадля приготовления сахарной ваты с механизмом выдачи палочек (обозначения в тексте)

 

 

Аппарат работает следующим образом. В магазин 4 загружают палочки, которые выполнены, как правило, из бумаги или картона. В бункер 7 загружают сахарный песок. При включении аппарата из бункера 7 в автоматическом режиме сахарный песок поступает в барабан 2 до тех пор, пока не сработает датчик уровня 13. Включается электронагреватель 3 и приводы вращения барабана 12 и чаши 11. Механизм выдачи палочек, передает палочку манипулятору 9 оснащенному приводом вращения палочки, который подводит вращающуюся палочку к устройству для смачивания 6, где палочка увлажняется. Затем манипулятор 9 опускает вращающуюся палочку в полость чаши 1. Расплавленный сахар под действием центробежных сил тонкими нитями через перфорацию барабана 2 вытекает в полость чаши 1, где застывает, превращается в вату при контакте нитей с внутренней стенкой чаши и постепенно наматывается на вращающуюся палочку.

 

 

ДОДАТОК В

Рецепты приготовления сиропов для производства сахарной ваты







Date: 2015-07-22; view: 883; Нарушение авторских прав



mydocx.ru - 2015-2026 year. (0.157 sec.) Все материалы представленные на сайте исключительно с целью ознакомления читателями и не преследуют коммерческих целей или нарушение авторских прав - Пожаловаться на публикацию