Главная Случайная страница


Полезное:

Как сделать разговор полезным и приятным Как сделать объемную звезду своими руками Как сделать то, что делать не хочется? Как сделать погремушку Как сделать так чтобы женщины сами знакомились с вами Как сделать идею коммерческой Как сделать хорошую растяжку ног? Как сделать наш разум здоровым? Как сделать, чтобы люди обманывали меньше Вопрос 4. Как сделать так, чтобы вас уважали и ценили? Как сделать лучше себе и другим людям Как сделать свидание интересным?


Категории:

АрхитектураАстрономияБиологияГеографияГеологияИнформатикаИскусствоИсторияКулинарияКультураМаркетингМатематикаМедицинаМенеджментОхрана трудаПравоПроизводствоПсихологияРелигияСоциологияСпортТехникаФизикаФилософияХимияЭкологияЭкономикаЭлектроника






Расчет надежности системы аспирации





 

При оценке надежности технических систем наиболее целесообразно рассчитать самую опасную. В проектируемом комплексе наибольшую опасность представляет собой местная вентиляция с системой аспирации, удаляющая запыленный воздух из рабочей зоны мукопросеивательной и тестомесильной машин. Это объясняется тем, что при определенных условиях присутствие мучной пыли в воздухе может привести к взрыву. Надежность системы аспирации рассчитывается на основании приведенных далее начальных условий.

Анализ безотказности системы

При анализе сложной технической системы используется «дерево неисправностей - организованное графическое представление условий или других факторов, вызывающих нежелательное событие, называемое вершиной событий». При построении «дерева» используется определённая символика. Состояния элементов или, в более общем смысле, исходные события (которые не могут быть подразделены) представляются окружностями, а последствия - прямоугольниками (рис.15.1). Событие наибольшей важности (вершинное событие) представляется в виде прямоугольника, называемого вершинным событием и располагающегося на вершине «дерева». Например, это может быть событие, заключающееся в полной неисправности системы или её отказе. Аналогичные события для подсистем также будут обозначаться прямоугольниками.

Определяется вероятность отказа вентиляционной системы для отделений просеивания муки и приготовления теста.

Описание системы

Аспирационная система, удаляющая запыленный воздух из рабочей зоны мукопросеивательной и тестомесильной машин, состоит из пылезащищенного вентилятора, системы воздуховодов с двумя зонтами и устройств очистки от мучной пыли.

Работа мукопросеивательной и тестомесильной машин напрямую зависит от исправности вентиляционной системы. Соединение всех пылящих машин и вентиляции через блок запуска с таймером задержки обеспечивает наибольшую степень защиты от возможного взрыва.

При включении оборудования первой запускается система аспирации и только через 3 минуты, если блок управления принял сигналы от датчиков системы о исправном её состоянии, включается оборудование. Такой контроль исключает увеличение концентрации мучной пыли и тем самым уменьшает риск взрыва пылевоздушной смеси.

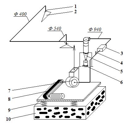
Рис. 15.1 Схема вентиляционной системы В-4.

1 – дроссельная заслонка;

2 – вытяжной зонт;

3 – фильтр карманный;

4 – датчик засорения фильтра и работы вентилятора;

5 – циклон;

6 – датчик засорения циклона;

7 – вентилятор;

8 – ременная передача;

9 – виброопора;

10 – основание.

 

Причины отказа системы вентиляции:

1. Снижение давления в воздуховоде после карманного фильтра (засорение фильтра);

2. Уменьшение концентрации пыли при прохождении воздуха через циклон не значительное (засорение циклона);

3. Отказ предохранителя;

4. Выход из строя подшипников электродвигателя;

5. Выход из строя крыльчатки охлаждения электродвигателя;

6. Межвитковое замыкание обмотки электродвигателя;

7. Обрыв обмотки электродвигателя;

8. Отказ концевого выключателя;

9. Выход из строя пульта управления;

10. Выход из строя сигнализатора засорения карманного фильтра;

11. Выход из строя сигнализатора засорения циклона;

12. Выход из строя дроссельной заслонки зонта;

13. Износ сальниковых уплотнителей;

14. Износ соединения вала и блоков ременной передачи;

15. Износ ременной передачи;

16. Выход из строя подшипников вала рабочего колеса;

17. Износ постоянной муфты.

Наработка на отказ вентиляционной системы определяется по формуле:

Т= 1 / λсл,

где λсл - интенсивность отказа самого слабого элемента системы.

Т =16 000 ч.

Вероятности безотказной работы элементов системы приведены в табл. 15.1

 

Вероятности безотказной работы элементов системы

 

Таблица 15.1

 

N п/п Наименование отказов Интенсивность отказа λ, ч -1; Вероятность безотказной работы Р(i);
       
  Снижение давления в воздуховоде λ (1) = 8×10-6 Р (1) = е- λТ= 0,88
  Уменьшение концентрации пыли λ (2) = 8×10-6 Р (2) = е- λТ= 0,88
  Отказ предохранителя λ (3) = 5×10-6 Р (3) = е- λТ= 0,92
  Выход из строя подшипников эл.двигателя λ (4) = 4×10-5; Р (4) = е- λТ= 0,52
  Выход из строя крыльчатки охлаждения эл.двигателя λ (5) =1,1×10-7 Р (5) = е- λТ= 0,99
  Межвитковое замыкание обмотки эл.двигателя λ (6) = 3×10-8 Р (6) = е- λТ= 0,99
  Обрыв обмотки эл.двигателя λ (7) = 3×10-8 Р (7) = е- λТ= 0,99
  Отказ концевого выключателя λ (8) = 3×10-5 Р (8) = е- λТ= 0,61
  Выход из строя пульта управления λ (9) = 3×10-7 Р (9) = е- λТ= 0,99
  Выход из строя сигнализатора засорения карманного фильтра λ (10) = 5,3×10-6 Р (10) =е- λТ= 0,92
       
  Выход из строя сигнализатора засорения циклона λ (11) = 3×10-6 Р (11) = е- λТ= 0,95
  Выход из строя дроссельной заслонки зонта λ (12) = 3,4×10-6 Р (12) = е- λТ= 0,95
  Износ сальниковых уплотнителей λ (13) = 3×10-6 Р (13) = е- λТ= 0,94
  Износ соединения вала и блоков ременной передачи λ (14)= 0,25×10-6 Р (14) = е- λТ= 0,99
  Износ ременной передачи λ (15) = 3,6×10-6 Р (15) = е- λТ= 0,94
  Выход из строя подшипников вала рабочего колеса λ (16) = 0,4×10-5 Р (16) = е- λТ= 0,52
  Износ постоянной муфты λ (17) = 2,5×10-6 Р (17) = е- λТ= 0,96

 


«дерево неисправностей» вентиляционной системы показано на рисунке 15.2

Рис. 15.2 «Дерево неисправностей»

 

Решение

1 Определяется вероятность появления события Б (параметрический отказ) для параллельного соединения элементов

Р(t) + Q(t) = 1, следует что Р(t) =1- Q(t), тогда Р(t) = ,

Q(Б) = (l - P(1)) × (l - P(2))

Q(Б) = 0,18 × 0,18 = 3,24 ;

 

2 Определяется вероятность появления события И (отказ механической части электродвигателя)

Q(И) = (l - P(4))×(l - P(5));

Q(И) = 0,48 × 0,01= 4,8 ;

3 Определяется вероятность появления события К (отказ электрической части электродвигателя)

Q(К) = (l - P(6))×(l - P(7));

Q(К) = 0,01×0,01=1 ;

4 Определяется вероятность появления события Е (выход из строя электродвигателя)

Q(Е) = Q (И) × Q (К);

Q(Е) = 4,8 ×1 = 4,8 ;

5 Определяется вероятность появления события Ж (выход из строя систем автоматики)

Q(Ж) = (1- P(8)) × (l - P(9)) × (l - P(10)) × (l - P(11));

Q(Ж) = 0,39 × 0,01 × 0,08 × 0,05 =1,56 ;

6 Определяется вероятность появления промежуточного вершинного события Г (выход из строя электрооборудования). Событие может произойти только тогда, когда произойдет хотя бы одно из трех событий Е, Ж и 3, причем событие 3 является элементарным.

Q(Г) = Q(Е) × (l - P(3)) × Q(Ж);

Q(Г) = 4,8 × 0,08 ×1,56 = 5,99 ;

7 Определяется вероятность появления события З (выход из строя вентилятора)

Q(З) = (l - P(16))× (l - P(17));

Q(З) = 0,48× 0,04 = 1,92 ;

8 Определяется вероятность появления промежуточного вершинного события Д (выход из строя механической части). Событие может произойти только тогда, когда произойдет хотя бы одно из семи события 12, 13, 14, 15 и З, причем события 12, 13, 14, 15 является элементарными.


Q(Д) = (l - P(12))× (l - P(13))×(l - P(14))×(l - P(15)Q(З);

Q(Д) = 0,05×0,06×0,01×0,06×1,92 = 3,4 ;

9 Определяется вероятность появления промежуточного вершинного события В (функциональный отказ). Событие может произойти только тогда, когда произойдет хотя бы одно из двух событий Д или Г.

Q(В) = Q(Д)×Q (Г);

Q(В) = 3,4 × 5,99 = 2,07 ;

10 Определяется вероятность появления вершинного события А (отказ вентиляционной системы). Событие может произойти только тогда, когда произойдет хотя бы одно из двух событий Б или В.

Q(А)= Q(Б)×Q(В);

Q(А) = 3,24 ×2,07 = 6,71 ;

Таким образом, вероятность отказа системы равна 6,71 .

Определение вероятности безотказной работы вентиляционной системы в период нормальной эксплуатации

Решение:

Наработка на отказ вентиляционной системы, согласно технической документации, составляет Т =16 000 ч. Рассчитывается вероятность безотказной работы по формуле:

Р (t)=е – λT;

,

Вероятность безотказной работы вентиляционной системы в период нормальной эксплуатации – 0,99.

Р(t)+Q(t) =1;

1- 0,99 = 0,01,

Вероятность отказа системы аспирации – 0,01.

 







Date: 2015-07-17; view: 6249; Нарушение авторских прав



mydocx.ru - 2015-2026 year. (0.779 sec.) Все материалы представленные на сайте исключительно с целью ознакомления читателями и не преследуют коммерческих целей или нарушение авторских прав - Пожаловаться на публикацию