Главная Случайная страница


Полезное:

Как сделать разговор полезным и приятным Как сделать объемную звезду своими руками Как сделать то, что делать не хочется? Как сделать погремушку Как сделать так чтобы женщины сами знакомились с вами Как сделать идею коммерческой Как сделать хорошую растяжку ног? Как сделать наш разум здоровым? Как сделать, чтобы люди обманывали меньше Вопрос 4. Как сделать так, чтобы вас уважали и ценили? Как сделать лучше себе и другим людям Как сделать свидание интересным?


Категории:

АрхитектураАстрономияБиологияГеографияГеологияИнформатикаИскусствоИсторияКулинарияКультураМаркетингМатематикаМедицинаМенеджментОхрана трудаПравоПроизводствоПсихологияРелигияСоциологияСпортТехникаФизикаФилософияХимияЭкологияЭкономикаЭлектроника






Термодинамический процесс многоступенчатого компрессора





При высоких степенях сжатия газа в одноступенчатом компрессоре в конце процесса температура газа достигает весьма высокого значения, что нежелательно, в частности, из-за опасности воспламенения масла в системе смазки. Поэтому для получения газа высокого давления используют многоступенчатые компрессоры, представляющие собой несколько последовательно соединенных одноступенчатых компрессоров.

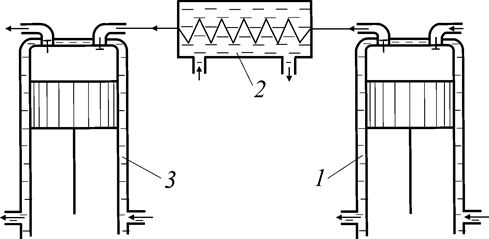
Между отдельными ступенями устанавливают теплообменники, обеспечивающие охлаждение газа, сжатого в предыдущей ступени (рис. 31).

 

Рис. 31. Схема двухступенчатого компрессора:   1 первая ступень сжатия (компрессор низкого давления); 2 промежуточный холодильник; 3 вторая ступень сжатия (компрессор высокого давления)

Газ при давлении р1 через впускной клапан поступает в компрессор низкого давления (1), где сжимается политропно по линии 1–2 с некоторым отводом теплоты через стенки компрессора (рис. 32а). Сжатый газ поступает в холодильник (2), где, проходя по змеевику, он охлаждается проточной водой до первоначальной температуры Т1 (2–2') и входит в компрессор высокого давления (3). Здесь газ вновь сжимается с некоторым отводом теплоты
(2'–3) и подается в нагнетательную линию.

       
 
а
   
б
 

 


 

Рис. 32. Диаграмма сжатия газа в двухступенчатом компрессоре

в координатах p-v (а) и T-s (б)

 

Промежуточное охлаждение газа в холодильнике дает существенный выигрыш в работе, измеряемой площадью 2-2'-3-3' в координа-
тах рv (рис. 32а).

Теплота, отданная газом в холодильнике, определяется площадью
2-2'-с-b в координатах Тs.

Для получения наименьшей работы сжатия при проектировании многоступенчатых компрессоров стремятся, во-первых, обеспечить равенство температур газа на входе во все ступени компрессора и, во-вторых, обеспечить равенство работ сжатия по всем ступеням компрессора. Последнее условие можно выполнить, если степень повышения давления каждой ступени компрессора одинакова.

Под степенью повышения давления понимается отношение давления газа на выходе из ступени к давлению на входе в ступень, т. е.

 

. (304)

 

Если в компрессоре не две, а т ступеней, то распределение давлений между ступенями идеального компрессора должно отвечать условию

 

. (305)

 

Таким образом, зная начальное рн, и конечное рк давления газа в компрессоре, можно определить общее соотношение давлений сжатия (C = ркн) и подсчитать давления сжатия по ступеням. Затем по уравнению подсчитать работу сжатия в каждой ступени и, просуммировав работы сжатия по ступеням, определить общую работу сжатия по компрессору в целом.

Чем больше ступеней сжатия в многоступенчатом компрессоре с промежуточным охлаждением рабочего тела, тем ближе процесс приближается к изотермическому и тем сложнее и дороже компрессор.







Date: 2015-05-09; view: 2145; Нарушение авторских прав



mydocx.ru - 2015-2026 year. (0.758 sec.) Все материалы представленные на сайте исключительно с целью ознакомления читателями и не преследуют коммерческих целей или нарушение авторских прав - Пожаловаться на публикацию