Главная Случайная страница


Полезное:

Как сделать разговор полезным и приятным Как сделать объемную звезду своими руками Как сделать то, что делать не хочется? Как сделать погремушку Как сделать так чтобы женщины сами знакомились с вами Как сделать идею коммерческой Как сделать хорошую растяжку ног? Как сделать наш разум здоровым? Как сделать, чтобы люди обманывали меньше Вопрос 4. Как сделать так, чтобы вас уважали и ценили? Как сделать лучше себе и другим людям Как сделать свидание интересным?


Категории:

АрхитектураАстрономияБиологияГеографияГеологияИнформатикаИскусствоИсторияКулинарияКультураМаркетингМатематикаМедицинаМенеджментОхрана трудаПравоПроизводствоПсихологияРелигияСоциологияСпортТехникаФизикаФилософияХимияЭкологияЭкономикаЭлектроника






Защита ПА от теплового излучения пожаров





 

Наиболее часто тушение пожаров с помощью ПА производится подачей огнетушащих веществ по развернутым до необходимой длины рукавным линиям. В этих случаях ПА устанавливаются на большом расстоянии от места горения. Однако в случаях тушения пожаров при подаче воды лафетными стволами необходимо ПА приближать к зоне горения. Такие условия создаются при тушении лесных пожаров, горении торфа, при пожарах на газонефтяных предприятиях, лесоскладах и т.д.

Если для тушения используются ПА газоводяного, порошкового или комбинированного тушения, то подача огнетушащих веществ производится непосредственно с автомобиля, как и в случае тушения с помощью подачи воды лафетными стволами из автоцистерны или автонасосов.

Зона, из которой такие ПА производят тушение, ограничивается максимальной длиной струи огнетушащих веществ и находится в непосредственной близости от объекта тушения. Так, при подаче воды лафетными стволами автоцистерн длина струи достигает 60 м, а пены – до 30 м. Подача порошка производится на расстояние 30 – 35 м, а для АГВТ эта величина составляет только 10 – 12 м.

При тушении пожаров с автомобиля повышается эффективность боевых действий подразделений, так как сокращается время боевого развертывания; кроме того, увеличивается длина струи огнетушащих веществ, так как отсутствуют потери напора в рукавах.

Узлы, детали и конструкционные материалы серийных ПА пригодны
для эксплуатации в нормальных условиях, которые определены
допускаемыми интервалами температур +40…-40 оС, давлений, влажности
воздуха и т.д. В паспортных данных на ПА не указываются величины по-
верхностной плотности лучистого потока. Однако большинство элементов
ПА работоспособны при плотности потока солнечного излучения до 1,0
кВт/м2. При таких потоках теплового излучения нагрев элементов пожар-
ной надстройки ПА может достигать 60 – 70 оС.

В зонах, непосредственно примыкающих к фронту пожара, условия использования ПА характеризуются воздействиями на них следующих опасных факторов: лучистых и конвективных тепловых потоков от пожара; задымленности, загазованности и токсичности окружающей среды; повышенной температуры окружающей среды (главным образом, земли). Это факторы постоянно действующие. Случайными опасными факторами могут быть воздействия на ПА элементов разрушающихся конструкций, выбросы нефтепродуктов и газов, взрывы.

Вблизи фронта пламени наибольшую опасность представляет воздействие теплового излучения, на долю которого, по некоторым источникам, приходится до 90 % от всего выделяющегося при горении тепла.

Величины поверхностной плотности лучистого потока зависят от расстояния до фронта пламени. Значения тепловых потоков представлены на рис. 9.44.

Таким образом, при подаче ОВ лафетными стволами пожарные автомобили могут подвергаться воздействию тепловых потоков плотностью
10 – 20 кВт/м2.

 
 

 

 


Рис. 9.44. Величины поверхностной плотности лучистого потока при различных
расстояниях от фронта пламени:

1 – распыленный нефтяной фонтан с дебитом 2·106 м3/сут; 2 – штабель дров высотой
12 м; 3 – факел сжиженного газа с расходом 10 кг/с; 4 – штабель лесоматериалов 6х6х6 м

 

Важным является также и то, что в ближних к очагам зонах горения могут изменяться скорости и направления воздушных потоков и температура воздуха. Так, на крупных пожарах древесины скорость подсоса воздуха к очагу горения может достигать 15 м/с, а температура воздуха может увеличиваться до 100 – 150 оС.

При тушении пожаров ПА облучаются мощными потоками тепловых излучений. Это приводит к нагреву их наружных поверхностей. Боковые стенки вертикальных наружных поверхностей при тепловых потоках 7 –
25 кВт/м2 нагреваются до 200 – 400 оС (рис. 9.45). Внутренние поверхности нагреваются до 80 – 220 оС. Эти установившиеся значения температур нагрева достигаются в течение 2 – 3 мин. Тушение пожара в таких условиях в течение 2 – 3 минут становится опасным для ПА.

Безопасность ПА на пожарах определяется в основном уровнем его устойчивости к воздействию тепловых излучений – теплоустойчивостью.

Теплоустойчивость ПА – это его свойство сохранять в течение определенного времени в условиях тепловых воздействий несущую и ограждающую способность корпуса и кабины, оптимальные параметры микроклимата кабины и теплового состояния его механизмов и систем. Следовательно, ею будет определяться возможность тушения пожара с одной боевой позиции ПА, т.е. без ее смены.


Воздействие тепловых потоков на ПА может приводить к ряду нежелательных последствий.

Пожарный автомобиль сам может быть источником пожара. На каждом из них сосредоточивается большое количество горючих материалов. Так, горючесмазочные материалы, краска, пластмассы, дерево, пожарные рукава в сумме составляют массу более 1000 кг. Многие из них разрушаются при нагреве 100 – 150 оС. Так, при 110 – 130 оС вспучивается и начинает обгорать краска. При такой же температуре изменяется плотность резинотехнических изделий и происходит их возгорание. Поэтому иногда приходится менять боевые позиции. Причинами изменения боевых позиций могут быть и чрезмерный нагрев воздуха в кабинах боевых расчетов. Все это приводит к увеличению времени тушения пожара и, естественно, к росту ущерба от него.

 

 
 

 

 


Рис. 9.45. Кинематика нагрева вертикальных поверхностей непрозрачного ограждения:

наружные поверхности; внутренние поверхности

1, 5 – 25 кВт/м2; 2 – 19 кВт/м2; 3 – 11 кВт/м2; 4, 6 – 7 кВт/м2;
7 – безопасная зона в кабине боевого расчета

 

Продолжительность боевой работы АЦ при подаче воды лафетными стволами из цистерны, а также подачи ОВ автомобилями порошкового или комбинированного тушения в зонах воздействия тепловых излучений соизмерима с временем их расходования. Поэтому и эти ПА подвергаются действию тепловых потоков большой интенсивности. Это сильно ограничивает продолжительность безопасной работы по управлению лафетными стволами. Если своевременно не изменить боевую позицию, то ПА могут загораться и сгорать. При воздействии теплового излучения пожара на ПА повышается температура его корпуса. Вследствие этого происходит потеря им несущей и ограждающей способности. В результате потери несущей способности затрудняется и даже становится невозможной эксплуатация ПА из-за заклинивания дверей кабины и крышек отсеков вследствие деформации, уменьшения прочности элементов конструкции автолестниц, коленчатых подъемников и т.д.

Вследствие потери ограждающей способности нарушается герметичность конструкции из-за образования трещин или разрушения ее элементов. Наиболее часто разрушаются остекления кабины, пиролиз материалов уплотнений или интерьера.

Типичными повреждениями ПА при воздействии на них тепловых потоков являются: обгорание лакокрасочных покрытий, резинотехнических изделий, пожарных напорных рукавов, уложенных в отсеках. Почти на всех ПА при их облучении лопаются фары, разрушаются стеклянные ограждения, проблесковые маячки.

При тушении пожаров на объектах нефтехимических предприятий, лесобирж, складов хлопка, лесного массива ПА сгорали.

В ряде случаев из-за сильного теплового воздействия пожары на лесоскладах, на самолетах, на химзаводе не удавалось потушить.

Наименее устойчива к воздействию тепловых излучений, кроме корпуса, кабина боевого расчета.

Теплоустойчивость кабины особенно важна потому, что в ней находятся боевые расчеты. При облучении ПА тепловыми потоками в кабину поступает до 70 % тепла, выделяющегося в результате излучения. До 50 % поступления тепла приходится на прозрачные ограждения. Конвективная составляющая менее существенна. В общем тепловом балансе она составляет около 25 % общих теплопоступлений.


Плотность теплового излучения, проникающего через прозрачные ограждения, достигает 10 – 15 кВт/м2. Это превышает предельнодопустимые нагрузки для человека без средств защиты (3 – 4 кВт/м2). В результате этого температура воздуха в кабине на уровне головы человека достигает значений на 30 – 90 % превышающих допустимую величину (45 оС).

При воздействии тепловых потоков 7 – 19 кВт/м2 температура внутренних поверхностей непрозрачного ограждения через 4 – 5 мин достигает значений 80 – 220 оС. Внутренние поверхности прозрачных ограждений (при таких же значениях тепловых потоков) нагреваются до 80 – 160 оС.

Чрезмерный нагрев элементов конструкций и оборудования кабины приводит к термическому разложению некоторых конструкционных материалов. Это является причиной образования в атмосфере кабин окислов углерода, азота и других веществ. Их концентрация может превышать ПДК в 2 –9 раз.

Для серийно выпускаемых АЦ целесообразно определить критические значения плотности теплового излучения, вызывающие наступление предельного состояния микроклиматического параметра для трех случаев: плотность потока теплового излучения, проникающего через прозрачные ограждения; нагревание внутренних поверхностей стенок кабины; нагрев воздушного пространства на уровне головы человека. Они будут определять область безопасной работы боевого расчета. Для АЦ-40(130)63Б они представлены зоной А на рис. 9.46. Область А характеризует условия безопасной работы без средств защиты кабины, а область Б – с теплозащитным покрытием.

Необходимость тушить пожары в зонах тепловых излучений требует разработки и использования теплозащиты ПА. Методы теплозащиты делятся на пассивные и активные.

Как правило, материал объекта – обшивка ПА и т.п. является пассивной теплозащитой. Она усиливается различного рода козырьками, жалюзи, двухслойным остеклением и т.д.

Пассивная защита закладывается на стадии проектирования и конструкторских разработок. При этом целесообразно использовать материалы с высокими теплоотражательными свойствами. Такие материалы возможно использовать и в условиях эксплуатации ПА (экспресс-метод). Так, покрывая наружную поверхность кабины-салона слоем алюминиевого порошка с различными пленкообразующими материалами (например, олифа-оксоль), удается существенно увеличить область безопасной работы боевых расчетов (на рис. 9.46 - область Б), т.е. необходимые микроклиматические условия создаются при более высоких значениях тепловых потоков, воздействующих на кабину.

Усиливать теплозащиту возможно экранированием внутренней поверхности ограждения воздушной прослойкой. В качестве экрана целесообразно использовать асбестовое полотно толщиной 1,2 – 2 мм с нанесенной на одну сторону полиэтилентерофталатной пленки. В этом случае время прогрева внутренней поверхности ограждения до предельно допустимой температуры в несколько десятков раз превышает время нагрева такой же поверхности без теплозащиты.


Для условий с более высокими плотностями тепловых потоков применяют активные методы с использованием охладителей. Для ПА в качестве охладителя используется вода, имеющая незначительное термосопротивление и большую поверхность контакта при малом объеме. В этих случаях вода, используемая для тушения, служит одновременно охладителем.

При работе от водоисточников дополнительный расход воды на теплозащиту не оказывает влияния на количество жидкости, расходуемой на тушение. Активная разомкнутая система (без циркуляции жидкости в системе) теплозащиты позволяет устанавливать АГВТ на расстоянии 10 – 12 м от горящего фонтана и реализовать его тактико-техническое возможности при воздействии теплового лучистого потока.

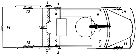
Создан ряд автоцистерн (например, в Румынии) со средствами пассивной и активной теплозащиты. На перекрытии и над колесами автомобилей установлены распылители воды (рис. 9.47). Для организации наиболее экономного расходования воды боковые поверхности ПА выполнены гладкими, а на крыше отсутствуют желобки, обеспечивающие у других автомобилей сток дождевой воды. ПА имеют покрытие с высокими отражательными свойствами.

 

 
 

 


Рис. 9.47. Принципиальная схема защиты ПА от тепловых излучений:

1, 2 – всасывающие патрубки насоса; 3 – лафетный ствол; 4, 5 – нагнетающие патрубки насоса; 69 – оросители крыши; 1014 – оросители колес

 

Оборудование всех ПА активными системами теплозащиты нерационально. Поэтому становится важной проблема создания универсальных устройств для защиты ПТ, участвующей в тушении пожаров. Такие устройства могут изготавливаться в виде ПТВ, возимого в отсеках ПА и включаемого в работу по необходимости. К этим устройствам следует предъявлять ряд требований:

их крепление в любой точке на металлических поверхностях должно осуществляться без слесарных и монтажных работ;

время установки не должно превышать одной минуты;

размеры зоны защиты ограничиваются окружностью радиусом 3 – 4 м, а расход воды на орошение составляет около 3,5 – 4 л/с.

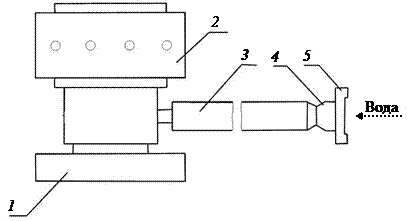
Образец такого устройства представлен на рис. 9.48. Основными его частями являются: распылитель 3, опора 1 и соединительный шланг 4.

Распылитель является основным элементом теплозащитного устройства. Принцип его работы основан на эффекте Сегнерова колеса и гидроудара. Магнитная опора обеспечивает быструю установку устройства на облучаемой части металлической обшивки пожарной машины.

 
 

 


Рис. 9.48. Насадок для получения веерообразных струй:

1 – опора магнитная; 2 – распылитель; 3 – шланг; 4 – переходник;
5 – соединительная головка

 

Соединительный шланг с условным проходом 30 мм заканчивается переходником на 51 мм и накидной стандартной полугайкой от рукавной соединительной головки ГР-70. Подключение оросителя к напорному патрубку насоса осуществляется с помощью шланга.

 







Date: 2015-05-09; view: 1717; Нарушение авторских прав



mydocx.ru - 2015-2026 year. (1.963 sec.) Все материалы представленные на сайте исключительно с целью ознакомления читателями и не преследуют коммерческих целей или нарушение авторских прав - Пожаловаться на публикацию