Главная Случайная страница


Полезное:

Как сделать разговор полезным и приятным Как сделать объемную звезду своими руками Как сделать то, что делать не хочется? Как сделать погремушку Как сделать так чтобы женщины сами знакомились с вами Как сделать идею коммерческой Как сделать хорошую растяжку ног? Как сделать наш разум здоровым? Как сделать, чтобы люди обманывали меньше Вопрос 4. Как сделать так, чтобы вас уважали и ценили? Как сделать лучше себе и другим людям Как сделать свидание интересным?


Категории:

АрхитектураАстрономияБиологияГеографияГеологияИнформатикаИскусствоИсторияКулинарияКультураМаркетингМатематикаМедицинаМенеджментОхрана трудаПравоПроизводствоПсихологияРелигияСоциологияСпортТехникаФизикаФилософияХимияЭкологияЭкономикаЭлектроника






Пневматическая помпа приемистости





Пневматическая помпа приемистости смонтирована в приливе переходника карбюратора.

В отверстия стенки переходника запрессованы воздушная трубка (18) (ом. рис. 1) и топливная трубка (17) помпы, выходящие в смесительную камеру. В верхний фланец переходника ввернуты две шпильки крепления карбюратора к двигателю, а во фланец прилива - четыре шпильки крепления крышки помпы к переходнику.

В отверстие прилива со стороны фланца вставлено седло игольчатого клапана с двумя резиновыми уплотнительными кольцами.

В седло клапана вставлен игольчатый клапан (22), на котором последовательно смонтированы алюминиевая шайба, диск диафрагмы, диафрагма из прорезиненной ткани, второй диск диафрагмы, алюминиевое уплотнительное кольцо, корончатая гайка, законтренная шплинтом, внутренняя пружина, упор, замок, наружная пружина и регулировочная шайба.

На шпильки фланца прилива надета крышка помпы приемистости с ввернутым в нее воздушным жиклером (21).

Крышка крепится к переходнику четырьмя гайками, под которые подложены пружинные шайбы, а уплотнение крышки с корпусом осуществляется диафрагмой. Переходник карбюратора крепится на шпильках верхнего фланца корпуса четырьмя гайками, которые контрятся пластинчатыми замками. По разъему переходника и карбюратора установлена паронитовая прокладка.

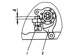
Карбюратор АК-14П (вид справа) Рис. 201 Карбюратор АК-14П (вид слева) Рис. 202
1. Пневматическая помпа приемистости 2. Верхняя сливная пробка 3. Игла малого газа 4. Винт регулировки дозирующей иглы 5. Топливные фильтр 6. Штуцер подвода топлива 7. Штуцер замера давления на входе в карбюратор 1. Винт регулировки положения иглы автокорректора 2. Пробка отсасывающего жиклера 3. Пробка замера начального положения иглы автокорректора 4. Суфлирующая пробка 5. Нижняя сливная пробка 6. Пробка замера давления воздуха в воздушной полости регулятора 7. Рычаг управления дроссельной заслонкой 8. Винт упора дроссельной заслонки на режиме малого газа 9 Воздушный фильтр 10. Пробка жиклера помпы, приемистости
   
График изменения положения иглы высотного корректора карбюратора в зависимости от барометрического давления (барографик) Рис. 203







Date: 2015-05-08; view: 814; Нарушение авторских прав



mydocx.ru - 2015-2026 year. (0.577 sec.) Все материалы представленные на сайте исключительно с целью ознакомления читателями и не преследуют коммерческих целей или нарушение авторских прав - Пожаловаться на публикацию