Главная Случайная страница


Полезное:

Как сделать разговор полезным и приятным Как сделать объемную звезду своими руками Как сделать то, что делать не хочется? Как сделать погремушку Как сделать так чтобы женщины сами знакомились с вами Как сделать идею коммерческой Как сделать хорошую растяжку ног? Как сделать наш разум здоровым? Как сделать, чтобы люди обманывали меньше Вопрос 4. Как сделать так, чтобы вас уважали и ценили? Как сделать лучше себе и другим людям Как сделать свидание интересным?


Категории:

АрхитектураАстрономияБиологияГеографияГеологияИнформатикаИскусствоИсторияКулинарияКультураМаркетингМатематикаМедицинаМенеджментОхрана трудаПравоПроизводствоПсихологияРелигияСоциологияСпортТехникаФизикаФилософияХимияЭкологияЭкономикаЭлектроника






Свеча зажигания сд-49смм





ОПИСАНИЕ И РАБОТА

ОБЩИЕ СВЕДЕНИЯ

Свеча совместно с магнето и высоковольтной арматурой предназначена для воспламенения топливовоздушной смеси в цилиндре двигателя.

 

ОПИСАНИЕ

КОНСТРУКЦИЯ

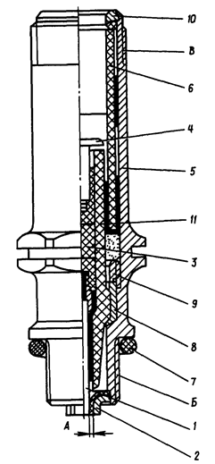
Свеча (рис. 1) конструктивно выполнена неразборной, экранированной, с керамической изоляцией.

Рабочая часть свечи имеет центральный (I) и боковой (2) электроды. Электрический разряд в искровом промежутке А свечи проходит по воздушному зазору между центральным и боковыми электродами. Последовательно центральному электроду вмонтировано демпфирующее сопротивление (3), предназначенное для уменьшения эрозии электродов и снижения уровня радиопомех от системы зажигания.

Контактная головка (4) изолирована от корпуса (5) свечи керамической трубкой (6).

Корпус свечи имеет шестигранник с размером под ключ S = 22 мм и две резьбы. Резьба Б размером М14х1,25 предназначена для монтажа свечи на корпусе двигателя с применением медно-асбестового уплотнительного кольца (7).

Резьба В с размером М18х1 предназначена для подсоединения высоковольтного провода к свече.


ОСНОВНЫЕ ТЕХНИЧЕСКИЕ ДАННЫЕ

Величина демпфирующего сопротивления при температуре (25 ±10) °C, давлении 1,0 кгс/см2 и относительной влажности (65 ± I5) %...................................................................................................................................... От 10000 до 1000 Ом

Свечи должны быть герметичны.

Допускаемое просачивание при разности давлений 40 кгс/см2............................................ Не более I см за 30 с

Искрообразование на электродах при давлении

окружающего воздуха 10 кгс/см...................................................................................... Бесперебойное

Масса....................................................................................................................................... Не более 0,095 кг

Свеча зажигания СД-49СММ Рис. I

1. Центральный электрод 2. Боковой электрод 3. Демпфирующее сопротивление 4. Контактная головка 5. Корпус свечи 6. Керамическая трубка 7. Медно-асбестовое уплотнительное кольцо 8. Теплоотводная втулка 9. Ниппель 10. Фасонное кольцо 11. Термоцемент А - искровой промежуток Б - резьба М14х1,25 В - резьба М18х1







Date: 2015-05-08; view: 2335; Нарушение авторских прав



mydocx.ru - 2015-2026 year. (0.244 sec.) Все материалы представленные на сайте исключительно с целью ознакомления читателями и не преследуют коммерческих целей или нарушение авторских прав - Пожаловаться на публикацию