Главная Случайная страница


Полезное:

Как сделать разговор полезным и приятным Как сделать объемную звезду своими руками Как сделать то, что делать не хочется? Как сделать погремушку Как сделать так чтобы женщины сами знакомились с вами Как сделать идею коммерческой Как сделать хорошую растяжку ног? Как сделать наш разум здоровым? Как сделать, чтобы люди обманывали меньше Вопрос 4. Как сделать так, чтобы вас уважали и ценили? Как сделать лучше себе и другим людям Как сделать свидание интересным?


Категории:

АрхитектураАстрономияБиологияГеографияГеологияИнформатикаИскусствоИсторияКулинарияКультураМаркетингМатематикаМедицинаМенеджментОхрана трудаПравоПроизводствоПсихологияРелигияСоциологияСпортТехникаФизикаФилософияХимияЭкологияЭкономикаЭлектроника






Системы управления ЖРД





9.1. Система запуска ЖРД

Запуск двигательной установки является наиболее ответственным ди­намическим режимом её работы, во время которого параметры рабочего про-


десca изеняются в широких пределах от нуля до номинальных значений; ем это изменение происходит очень быстро, вследствие чего трудно, а иногда невозможно воздействовать на процесс запуска. Во время запуска на конструкцию двигательной установки и ракеты воздействуют различные дина­мические нагрузки, к которым относятся тепловой удар, давление и ускорение. Этим можно объяснить тот факт, что наибольшее количество отказов и аварий двигательной установки появляется во время запуска.

Весь процесс запуска условно можно разделить на два периода:

- воспламенение топлива, поданного в камеру сгорания и газогенератор;

- выход двигательной установки на режим номинальных параметров.

Для безаварийного запуска необходимо обеспечить надежное воспла­менение топлива, а также такое изменение параметров (в основном-давления в камере сгорания и газогенераторе) во времени, которое не приводило бы к большим перегрузкам, действующим на конструкцию, и взрывам. Процесс за­пуска начинается с открытия топливных клапанов. Компоненты топлива под действием сил давления насосов или гидростатических сил подаются в камеру двигателя с большими скоростями и в значительных количествах. Если не от­работано воспламенение, то может произойти выброс компонентов топлива из камеры без воспламенения или, наоборот, воспламенение со взрывом. По этому в камере двигателя должен создаваться мощный источник тепла, способный зажечь движущееся топливо.

Температура воспламенения паров топлива, применяемого в ЖРД обычно не менее 300 °С. Такая температура может достигаться различными методами. В том случае, когда применяются самовоспламеняющиеся компо­ненты топлива, не требуется дополнительных источников тепла.

Самовоспламеняющиеся компоненты топлива при обычных темпера­турах реагируют при контакте в жидкой фазе с выделением тепла, в результате чего обеспечивается разогрев и воспламенение. Такой вид воспламенения на­зывается химическим.

Несамовоспламеняющиеся компоненты топлива требуют для испа­рения и воспламенения подвода тепла от внешнего источника. Воспламене­ние топлива с внешним подводом тепла называется термическим.

Термическое воспламенение характеризуется минимальной температу­рой, при которой развивается процесс воспламенения, и периодом задержки.

Период задержки воспламенения определяется временем от момента впрыска топлива в зону горения до момента появления пламени.

Для надежности запуска ЖРД в первую очередь должно быть га­рантировано воспламенение топлива при минимально возможном времени вы­хода на режим. Сокращение времени выхода на режим позволяет уменьшить необходимый запас топлива, а, следовательно, уменьшить стартовый вес, что особенно важно для космических и баллистических ракет.

В некоторых случаях, кроме того, должна быть обеспечена возмож­ность многократного запуска, запуска двигателя в высотных условиях или в условиях космического полета. Специфические требования к организации за­пуска возникают при запуске камер двигателей больших тяг.


В зависимости от характера выхода на режим принято различать плав­ный, ступенчатый и пушечный запуски.

Важными характеристиками запуска являются скорость нарастания давления в камере при запуске (dP/dt) и величина заброса (или пика) давления, т. е. величина отношения наибольшего давления в камере при запуске к номи­нальному.

Величины скорости нарастания давления и заброса давления ха­рактеризуют жесткость запуска. Чем больше эти величины, тем более жестким является запуск. На рис.87. приведены типичные графики изменения давления в камере сгорания при запуске. Запуск, протекающий в соответствии с кривой 3, очевидно, является наиболее жестким.

При больших значения dP/dr и большом забросе давления появляется опасность разрушения и даже взрыва камеры, как вследствие потери ее проч­ности, так и в результате возникновения детонационного горения топлива.

Основное влияние на жесткость запуска оказывает время задержки воспламенения топлива t3. Очевидно, чем больше значение т3, тем больше ус­пеет накопиться топлива до начала воспламенения и тем больше будет заброс даатения.

Рис87

Изменение давления в камере при запуске:

1 - плавный запуск; 2 - ступенчатый запуск; 3 - жесткий запуск;

t, - время задержки воспламенения

При плавном запуске воспламенение происходит при небольшом рас­ходе топлива и с последующим сравнительно плавным нарастанием расхода топлива. Плавный запуск характерен для ЖРД малых и средних тяг с турбона-сосной системой подачи. При этом плавность нарастания расхода топлива обеспечивается за счет инерции ТНА. Продолжительность запуска определяет­ся в основном временем выхода ТНА на номинальный режим («раскруткой ТНА»).


Ступенчатый запуск характерен введением промежуточной (или пред­варительной) ступени работы ЖРД и иногда целесообразен при запуске двига­телей больших тяг. Необходимость введения промежуточной ступени обуслов-


лена тем, что с ростом тяги, а, следовательно, и мощности ТНА время, расхо­дуемое на раскрутку ТНА (инерционность ТНА) уменьшается. В результате влияние инерционности ТНА на скорость нарастания давления становится ни­чтожным, так что запуск приходится смягчать введением промежуточного ре­жима.

При запуске ЖРД, работающих на несамовоспламеняющихся ком­понентах, введение предварительной ступени обеспечивает прогрев камеры и образование надежного факела.

Пушечным называют запуск, при котором сразу подается полный расход топлива. В чистом виде пушечный запуск не применяется, так как при этом получился бы очень большой заброс давления в камере, поэтому в системе подачи или в головке двигателя всегда устанавливаются устройства, смягчающие запуск. Запуски, близкие к пушечному, возможны при исполь­зовании вытеснительных систем подачи.

9.2. Влияние условий запуска двигателя

Начальная температура топлива. Изменение начальной температуры приводит к изменению химической активности топлива, а также к изменению физических свойств, влияющих на перемешивание топлива при впрыске (вяз­кость, поверхностное натяжение). С уменьшением начальной температуры t3 увеличивается. Так, например, для топлива, состоящего из азотной кислоты и смеси фурфурилового спирта с анилином, при понижении температуры с -10 до -30 °С время задержки воспламенения увеличивается с 0,015 до 0,040 сек, т. е. более чем в два раза.

Начальное давление в камере сгорания. Вопрос о влиянии начального давления в камере на воспламенение очень важен при организации запуска двигателя в высотных условиях. Понижение давления приводит к увеличению t3 и, как следствие, к увеличению заброса давления при запуске. Некоторые самовоспламеняющиеся топлива при большом уменьшении давления могут вообще утратить способность к самовоспламенению. Такие условия могут, в частности, возникнуть при запуске двигателя в космосе, где давление окру­жающей среды равно нулю. Однако, в таких случаях топливо, поступающее в камеру с давлением близким к нулю, оказывается в перегретом состоянии. Про­исходит очень быстрая возгонка топлива и за счет образовавшихся паров дав­ление в камере сгорания повышается.

Состав топлива. На величину t3 влияет как изменение соотношения компонентов топлива, так и наличие различных, иногда неизбежных (напри­мер, вода), а иногда специально вводимых разбавителей или добавок.

Наименьшее значение t3 ряда топлив не соответствует стехиометриче-скому соотношению.




 


Рис.88

Влияние состава топлива (а) и опережения впрыска на (б)

Так, например, для топлива «азотная кислота + 50% ксилидина и 50% фурфурилового спирта» изменение t 3 при изменении коэффициента избытка окислителя происходит, как показано на рис. а и минимальное значение соответствует =1,1.


Аналогичные графики можно получить и для других топлив. В каждом случае наименьшему значению будет соответствовать свое а.

Различные добавки в топливе могут увеличивать или уменьшать Так, например, увеличение содержания воды в азотной кислоте приводит к росту t3.

Опережение подачи одного из компонентов. В ЖРД трудно обеспе­чить одновременную подачу окислителя и горючего, запаздывание же одного из них может привести к увеличению, а иногда к уменьшению Так, из гра­фика изменения в зависимости от опережения подачи t для топлива «азотная кислота + фурфуриловый спирт», рис.88 б, видно, что для данного топлива опережение подачи окислителя уменьшает т. е. улучшает запуск. Величина рационального опережения подачи того или иного компонента зависит от со­става топлива, а также от конструкции головки, так что для каждого топлива и конструкции головки имеется свой наиболее целесообразный порядок подачи компонентов.

Иногда при выборе опережения подачи горючего или окислителя учи­тывают также, что при догорании несгоревшей в камере части горючего за со­плом двигателя образуется мощный факел.

Прочие влияния. На t3 и запуск двигателя, кроме указанных основных факторов, оказывают влияние также физические свойства топлива, перепад давления на форсунках dРФ (увеличение dРФ обычно уменьшает ), форма и объем камеры, количество подаваемого компонента (увеличение количества подаваемого топлива часто приводит к уменьшению ), многократность запус­ка и т. д.



9.3. Способы воспламенения горючих смесей

В классификации задач, возлагаемых на системы управления ДУ, зада­ча воспламенения горючих смесей отнесена к обеспечению нестационарного процесса запуска двигателя и решается с помощью автономных систем воспла­менения топлив в камерах и газогенераторах ЖРД.

Под системой воспламенения топлив предусматривается полный цикл мероприятий по организации не только начального этапа воспламенения ком­понентов топлива, но также и весь цикл обеспечения этого процесса без ано­мальных явлений (срывов горения, незапусков, пульсации, забросов давлений и других возможных видов отказов на этапе запуска).

Естественно, что принудительного воспламенения требуют несамовос­пламеняющиеся топлива. Ими являются углеводородные горючие, работающие с кислородом или с азотнокислотными окислителями, а также кислородно-водородное топливо.

Существует несколько способов воспламенения горючих смесей.

Химический способ предусматривает на начальном этапе запуска ис­пользование самовоспламеняющихся компонентов топлива, которые запасают в трубопроводах или специальных емкостях перед камерами двигателя и отде­ляют их от основного топлива мембранами свободного прорыва. Запас пуско­вых порций самовоспламеняющегося топлива должен обеспечивать работу ка­меры на пусковом топливе, примерно равном 80 % времени запуска. Целесооб­разность применения этого способа ограничивается ДУ однократного включе­ния.


Добавка триэтилбора или триэтилалюминия («2 — 3 %) к керосину обеспечивает надежное одно- и многократное его воспламенение с кислородом. Однако высокая токсичность этих добавок сдерживает их широкое практиче­ское применение, так как токсичным становится не только горючее, но и про­дукты сгорания, содержащие эти добавки.

Пиротехнический способ воспламенения горючих смесей предусматри­вает установку на стартовых позициях внутрь камеры двигателя системы пирс-зарядов, одновременное срабатывание которых обеспечивает надежное вос­пламенение пусковой части топлива, рис.89. Число пирозарядов зависит от размеров камеры двигателя. Для одновременного воспламенения многокамер­ных двигателей в каждой камере должно быть размещено не менее шести заря­дов, ориентированных друг относительно друга так, чтобы первый воспламе­нившийся заряд поджигал соседний с ним. Для обеспечения надежного вос­пламенения горючих смесей необходима определенная мощность тепловыде­ления в короткий промежуток времени, которая способна не только иницииро­вать горение топлив, но и уменьшить начальную задержку его воспламенения.

Систему пирозарядов можно применять для многократного включения газогенераторов и камер двигателя. При этом число установленных зарядов будет определять число включений. Однако если не применять специальных мероприятий по теплоизоляции этих зарядов, то в процессе работы двигателя



или после его останова вследствие чрезмерного нагрева зарядов возможно их самопроизвольное срабатывание.

Рис89

Система пирозарядов, обеспечивающая воспламенение топлива в камере двигателя на стартовых позициях

Предварительный нагрев элементов конструкции двигателей, исполь­зующих гидразин как монотопливо, примерно на 600 К способствует ак­тивному процессу саморазложения гидразина.

Термохимический способ воспламенения горючих смесей предусматри­вает организацию пускового факела с помощью специальной пусковой камеры (форкамеры), которая устанавливается на форсуночной головке двигателя, рис.90. Перед запуском основной камеры двигателя любым из способов вос­пламеняется пусковое топливо в форкамере. В частности, возможен вариант использования газов, отобранных из газогенератора питающего ТНА, для вос­пламенения пускового топлива. Возможно также применение в форкамере са­мовоспламеняющихся топлив или легковоспламеняющихся топлив («кислород + этиловый спирт»).

Для обеспечения надежного воспламенения топлива в камере требует­ся непрерывная работа запального факела для поддержания горения основных расходов топлива вплоть до установления номинального давления в основной камере двигателя. Для этого необходимо, чтобы давление подачи пускового топлива перед форсунками форкамеры всегда превышало давление в основной камере двигателя, а перепад давлений на сопле форкамеры всегда был сверх­критическим. Если основное топливо только пересекает пусковой факел или в него не попадает, то оно воспламеняется с большой задержкой, что сопровож­дается забросами и пульсациями давления и запуск становится ненадежным.


Для избежания аномальных явлений необходим такой пусковой факел, чтобы время пребывания в нем основного топлива было наибольшим, а его форма гарантировала попадание в пусковой факел всего основного топлива. Из всех возможных вариантов расположения форкамеры на основной камере для на­дежного воспламенения топлива должен быть принят вариант соосного распо­ложения форкамеры с основной камерой двигателя. При этом профиль расши­ряющейся части сопла форкамеры обеспечивает полный контакт пускового факела с основным топливом (хотя продукты сгорания не во всех случаях мо­гут следовать за профилем сопла).

Рис.90

Форкамерный способ воспламенения горючих смесей

Для более плавного запуска с форкамерным устройством больших ка­мер двигателей в атмосферных условиях при включении основного расхода топлива предпочтительнее опережение подачи окислителя.

В современных ЖРД необходимая мощность тепловыделения для га­рантированного воспламенения горючих смесей требует пусковых расходов для форкамерного устройства примерно на два - три порядка меньше, чем рас­ходы основной камеры.

Форкамерные устройства для воспламенения горючих смесей по срав­нению с другими способами имеют то преимущество, что могут быть включе­ны и в период останова двигателя. Это способствует принудительному догора­нию топлива, попадающего в камеру двигателя из заклапанных полостей после закрытия главных топливных клапанов.

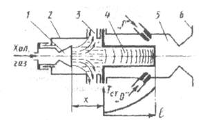
Термоакустический способ воспламенения горючих смесей основан на эффекте разогрева газа в тупиковой полости при набегании на ее открытый торец струи холодного газа со сверхзвуковой скоростью, рис.91.


Рис.91

Принципиальная схема термоакустического устройства

для воспламенения горючих смесей:

1 - сверхзвуковое сопло; 2 - корпус; 3 - дренажная полость; 4 - цилиндрическая

тупиковая полость; 5 - реакционная полость; 6 - фланец крепления

Если подавать холодный газ через сопло 1 в открытый торец цилинд­рической тупиковой полости 4, который затем дренируется через полость 3, то во внутренней полости цилиндра образуются колебания газа с частотой, соот­ветствующей собственной акустической частоте цилиндрической тупиковой полости. Усиление амплитуд колебаний давления газа в цилиндре вызывается резонансом вынужденных и собственных колебаний в динамической системе «сопло — полость».

Турбулентное течение газов из сопла 1 со сверхзвуковой скоростью при встрече с неподвижной средой сопровождается широким спектром колеба­ний давления газа в струе. В этом спектре также содержатся колебания с часто­той, равной (или близкой) частоте собственных акустических колебаний ци­линдрической тупиковой полости. Колебания давления газа в набегающей струе являются вынужденными по отношению к собственным колебаниям ци­линдрической тупиковой полости. Настройка динамической системы «сопло -полость», вызывающая резонанс этих колебаний, производится изменением расстояния «х» от сопла до открытого торца тупиковой полости. Таким обра­зом определяется взаимное положение сопла и цилиндра, обеспечивающее сдвиг фаз между вынужденными и собственными колебаниями, равными (или близкими) 180°. При этом в цилиндре тупиковой полости устанавливается мак­симальная амплитуда колебаний давления колебаний газа. В результате усиле­ния амплитуды колебаний газа в тупиковой полости цилиндра в каждой волне сжатия повышается температура газа и с течением времени за счет большой (собственной) частоты циклов колебаний в цилиндрической тупиковой полости температура одной и той же порции газа намного превышает температуру тор­можения газовой струи. В результате происходит разогрев стенок цилиндра и особенно закрытого торца тупиковой полости до температур, которые соответ­ствуют установившемуся тепловому балансу цилиндра. Из опытов получено, что за время, приблизительно равное 50 с, торец тупиковой полости нагревает-


ся до 1ООО К; за время 100 с - до 1500 К и более, вплоть до расплавления мате­риала тупиковой полости (если не будет организован теплоотвод). Использова­ние термоакустического эффекта разогрева тупиковой полости от холодной струи газа состоит в том, что по достижении необходимой температуры нагре­ваемого цилиндра на его поверхность направляются пусковые порции несамо­воспламеняющихся окислителя и горючего, которые воспламеняются на ней, а затем из реакционной полости 5 подаются в виде нагретых продуктов сгорания в основную камеру двигателя. В результате реализуется форкамерное устрой­ство, которое крепится к форсуночной головке двигателя фланцем 6, представ­ляющее собой автономный агрегат системы воспламенения топлив в камерах двигателя и газогенератора ЖРДУ. Работоспособность такого устройства обес­печивается при давлении подачи холодного газа в сверхкритическое сопло 1 в диапазоне (4 — 15) 105 Па при атмосферном противодавлении в дренажной полости 3.

Принципиально цилиндрическая тупиковая полость 4 может быть по­мещена в полость газогенератора или камеры двигателя без реакционной по­лости 5 и может служить нагревным источником воспламенения основного топлива.

Недостатком термоакустического способа воспламенения горючих смесей является низкая мгновенная мощность тепловыделения и низкий терми­ческий коэффициент полезного действия. Усиление мощности тепловыделения возможно путем многокаскадной подачи пускового топлива в реакционной камере форкамерного устройства, или за счет увеличения числа нагреватель­ных цилиндров, помещенных в газогенераторы или камеры двигателя. Низкий термический КПД приводит к значительному расходу холодного газа.

Положительным свойством термоакустического устройства следует считать его полную независимость от характера протекания рабочих процессов в камере двигателя или газогенераторах. Нагревный цилиндр полностью изо­лирован от воздействия на него окружающей среды. Выполненный из жаро­прочных и антикоррозионных материалов, он оказывается защищенным от аг­рессивной среды, нагарообразования, воздействия высоких и низких темпера­тур, давления и влажности окружающей среды и других внешних факторов.

Свойства автономности термоакустического устройства позволяют предполагать его преимущественное применение при низких начальных темпе­ратурах окружающей среды (например в космических условиях) для надежного воспламенения несамовоспламеняющихся топлив и в низкотемпературных га­зогенераторах, использующих жидкий кислород и жидкий водород.

Электрические способы воспламенения горючих смесей предполагают применение высоковольтных искровых свечей и низковольтных свечей по­верхностного нагрева.

Высоковольтная свеча искрового разряда получила широкое распро­странение в двигателях внутреннего сгорания и других атмосферных двига­телях, и ее применение в ЖРД обусловлено естественной исторической преем­ственностью.


Поскольку бортовая система питания электроэнергией располагаетнизковольтным источником постоянного тока, то для его преобразования в ток высокого напряжения необходимо применение специальных устройств.

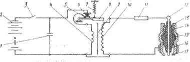
Рис.92

Принципиальная схема системы электрического зажигания горючих смесей

с помощью высоковольтной искровой свечи: 1 - искрогасящий конденсатор; 2 - источник питания постоянного тока; 3 - ключ зажигания, 4 - низковольтная обмотка преобразователя напряжения; 5 - подвижный контакт,6 - неподвижный контакт; 7 - пружина якоря; 8 - якорь; 9 - сердечник; 10 - высоковольтная обмотка преобразовате­ля напряжения; 11 - резистор; 12 - контакт центрального электрода; 13 - корпус свечи; 14 - кера­мический вкладыш; 15 - керамический изолятор; 16 - центральный электрод свечи; 17 - боковой электрод свечи

На рис.92 показана принципиальная схема системы электрического зажигания горючих смесей с помощью высоковольтной искровой свечи. В со­став этой системы входят источник питания, преобразователь напряжения и собственно свеча. При включении ключа зажигания 3 источник питания посто­янного тока 2 через замкнутые с помощью пружины 7 подвижный 5 и непод­вижный контакты 6 питает низковольтную обмотку преобразователя напряже­ния 4. Образовавшийся при этом магнитный поток замыкается через высоко­вольтную обмотку 10, которая по сравнению с обмоткой 4 имеет на три поряд­ка больше витков. Образовавшийся от первичной обмотки магнитный поток проходит через якорь 8, как через магнитопровод. В результате якорь притяги­вается к сердечнику 9, расположенному между обмотками, и разрывает контак­ты 5 и 6 питания первичной обмотки. При этом магнитный поток резко падает, а вторичная обмотка 10, испытывая это изменение, генерирует импульс элек­трического тока с напряжением, пропорциональным соотношению обмоточных характеристик катушек 4 и 10. Этот импульс электрического тока с высоковольтной обмотки 10 подается на контакт центрального электрода 12 электрической свечи. Второй полюс обмотки соединен с корпусом свечи 13 (обычно через массу двигателя). Зазор между центральным электродом 16 и боковыми электродами 17 выбирается таким, чтобы был гарантирован искровой разряд (=1-2 мм). Для избежания пробоя между центральным электродом и корпусом свечи вне искрового промежутка центральный электрод защищен керамическим изолятором 15, а корпус — керамическим вкладышем 14.


При исчезновении магнитного потока пружина 7 замыкает контакты 5 я 6, с помощью которых включается питание обмотки 4, и все начинается сна­чала. Для гашения новообразования при срабатывании контактов 5 и 6 уста­новлен конденсатор 1.

Для увеличения частоты автоколебаний сердечник 9, размещенный между обмотками 4 и 10, выполнен из трансформаторных пластин, что спо­собствует в элементах системы преобразователя напряжений существенному снижению остаточного магнетизма. Параметры обмоточных характеристик катушек 4 и 10 подбираются так, что во вторичном контуре питания свечи реа­лизуется напряжение, приблизительно равное 16000 — 20000 В. В каждом цик­ле автоколебаний в искровом промежутке свечи происходит электрический разряд, а за время включения контакта 3 реализуется серия электрических раз­рядов, мгновенная мощность которых способна воспламенить находящиеся в окрестностях электродов свечи компоненты топлива.

Рассмотренная электрическая система высоковольтной свечи имеет два существенных недостатка. Один из них связан с чрезмерно высоким напряже­нием, которое способствует самопроизвольному отеканию заряда в местах кон­такта проводника (на катушке 10 и центрального электрода 12 свечи). Особен­но заметно самопроизвольное отекание электрического заряда в ионизирован­ной и влажной атмосфере, при которой каждый импульс сопровождается ко­ронным разрядом в контактных соединениях, а между электродами свечи мощ­ность разряда настолько падает, что это может приводить к отказу зажигания топливной смеси. В местах касания проводника высокого напряжения массы двигателя возможен пробой его изоляции.

Второй существенный недостаток заключен в самой свече. При влаж­ной атмосфере окружающей среды центральный и боковые электроды оказы­ваются замкнутыми этой средой и искрообразование становится невозможным. При повторном запуске двигателя, использующего углеводородное горючее, в результате нагарообразования на части корпуса и керамическом изоляторе све­чи (обращенных внутрь камеры двигателя или газогенератора) происходит час­тичное или полное шунтирование центрального и бокового электродов свечи по образовавшемуся нагару, которое вызывает ослабление мощности искрового разряда или полный отказ искрообразования. Несмотря на то, что в системе зажигания для частичной компенсации шунтирования нагаром электродов све­чи предусмотрен резистор 11, повторные запуски двигателя, работающего на углеводородных горючих, затруднены (особенно в газогенераторах). Свеча вы­сокого напряжения практически не пригодна для воспламенения топлив с окислителями на основе азотной кислоты, так как попадание окислителя на электроды свечи и особенно на керамический изолятор разрушают последние. Область целесообразного применения высоковольтных свечей вследствие не­достатков, собственно касающихся свечей, определяется их применением лишь для воспламенения кислородно-водородных топлив.

Для устранения недостатков высоковольтной системы зажигания раз­работана и применяется в практике низковольтная свеча поверхностного нагре­ва.


Рис.93

Принципиальная схема системы электрического зажигания горючих смесей с помощью низковольтной свечи поверхностного нагрева:

1 - искрогасящий конденсатор; 2 - источник питания постоянного тока; 3 - ключ зажигания; 4 -низковольтная обмотка преобразователя напряжения; 5 - подвижный контакт, 6 - неподвижный контакт, 7 - пружина якоря; 8 - якорь; 9 - сердечник; 10 - высоковольтная обмотка преобразовате­ля напряжения; 11 - полупроводник; 12 - конденсатор-накопитель заряда; 13 - газоразрядное уст-ройство; 14 - контакт центрального электрода; 15 - центральный электрод; 16 - керамический изолятор; 17 - корпус свечи; 18 - пластинка двуокиси титана

На рис.93 приведена принципиальная схема системы зажигания го­рючих смесей с помощью свечи поверхностного нагрева. Принцип действия преобразователя напряжения в этой системе остался тем же, что и в рас­смотренной выше. Для этой части системы на рис.93 сохранена та же нумера­ция составляющих эту часть элементов, что и на рис.92 (позиция с 1 по 10).

Существенная разница рассматриваемой системы по отношению к пре­дыдущей начинается с того, что соотношение обмоточных характеристик ка­тушек 4 и 10 преобразователя напряжения выполнено так, что напряжение вы­соковольтной катушки на порядок меньше, чем в предыдущей системе, и со­ставляет примерно 1500 — 3000 В.

В цепи электрического питания свечи установлен полупроводник 11. конденсатор-накопитель заряда 12 (емкостью примерно 10 мкФ) и газо­разрядное устройство 13, которое наполнено парами ртути либо инертным га­зом (неоном или аргоном). Если в предыдущей системе каждый импульс элек­трического тока с катушки 10 поступал на свечу, то в рассматриваемой системе этому препятствует газоразрядное устройство, которое может проводить ток только при достижении определенного напряжения (напряжения зажигания газоразрядника Uзаж)- Выключение газоразрядного устройства происходит при несколько более низком напряжении, чем его зажигание (напряжении потуха­ния газоразрядника Unот). Функционально газоразрядник 13 в цепи питания свечи работает как двухпозиционный ключ, пропуская на центральный элек­трод свечи электрический ток в диапазоне напряжений Uзаж>=U>=Uпот. Напряже­ние, подаваемое в высоковольтную сеть со стороны катушки 10, заведомо меньше напряжения Uзаж и при выключенном газоразряднике через полупро­водник 11 питает конденсатор 12. В каждом цикле автоколебаний преобразова­теля напряжений конденсатор получает электрическую энергию и накапливает в себе электрический потенциал, так как его разряду, с одной стороны, препят­ствует полупроводник, а с друтой, — газоразрядник. Как только напряжение на


обкладках конденсатора становится равным напряжению U заж, включается га­зоразрядное устройство и пропускает ток на свечу. С этого момента свечу пи­тает конденсатор, на котором напряжение начинает падать. Как только оно становится равным напряжению Uпот, газоразрядное устройство перестает про­водить ток и конденсатор снова заряжается и весь цикл повторяется сначала. На рис.94 этот процесс показан в виде зависимости напряжения на обкладках конденсатора Uконд времени.

Поскольку конденсатор в цепи активного электрического сопротивле­ния обладает свойством инерционного звена, то нарастание и спад напряжения происходят во времени по экспоненциальной кривой. Из рис. видно, что после некоторого пускового периода в высоковольтной части системы устанавлива­ются собственные автоколебания напряжения. Их частота определяется соот­ношением напряжений срабатывания газоразрядника и емкостью конденсатора. В реально выполненных системах частота автоколебаний напряжения в высо­ковольтном контуре находится в диапазоне 100- 150Гц.

Низковольтная свеча поверхностного нагрева также имеет существен­ное отличие от высоковольтной искровой свечи, рассмотренной выше. В ее корпусе 17 размещен керамический изолятор 16, внутри которого находится центральный электрод 15. Рабочая часть свечи представляет собой коническую пластинку 18 шириной примерно 2—3 мм, через которую центральный элек­трод соединен с корпусом. Эта пластинка выполнена из двуокиси титана (ТiO2).




 


 


Рис94

Процесс установления автоколебаний напряжения в высоковольтном контуре свечи поверхностного накаливания


Рис.95

Зависимость электрического сопротивления двуокиси титана от изменения температуры


Двуокись титана обладает тем свойством, что при ее нагреве в восста­новительной среде происходит частичное восстановление Ti02, которое сопро­вождается появлением в материале избытка металлических ионов. Вблизи ио­нов локализуются слабо связанные с ним электроны. При увеличении темпера­туры связь электронов с ионами нарушается. Количество электронов резко воз­растает. Соответственно резко увеличивается проводимость материшга и падает его внутреннее электрическое сопротивление, рис.95. В результате этого дву­окись титана приобретает свойство электрической проводимости, которая воз­растает с увеличением температуры. Падение внутреннего сопротивления ма-


териала приводит к увеличению силы пропускаемого тока, а это в свою очередь

— к последующему возрастанию температуры материала и т. д.

Таким образом, при каждом цикле питания свечи током высокого на-пряжения пластинка с двуокисью титана разогревается и примерно на пятом цикле происходит гарантированное воспламенение горючих смесей вблизи ра­зогретой пластинки.

Свеча поверхностного нагрева стойка по отношению ко всем окисли­телям, но для быстрого нагрева предпочтительно наличие вблизи свечи восста­новительной среды (избытка горючего). Мгновенная мощность тепловыделе­ния свечи составляет примерно 40 тыс. Вт, средняя потребляемая первичной катушкой мощность преобразователя напряжения — примерно 300 Вт, полез­ный коэффициент использования энергии - примерно 0,8.

Недостатком этого способа является сравнительно малая тепловая мощность электрической свечи. Поэтому часто при применении электри­ческого зажигания с помощью свечи воспламеняют топливо при небольшом расходе в форкамере, где создается дежурный факел, от которого уже происхо­дит воспламенение компонентов при основном расходе. Кроме того, для обес­печения электрического зажигания необходим источник электрической энер­гии, который не всегда имеется на летательном аппарате. Электрическое зажи­гание удобно использовать в камерах многоразового действия и многократного запуска.

Для воспламенения некоторых топлив (например, перекиси водорода) возможно использование каталитических поверхностей, способствующих воз­никновению реакции.

9.4. Остановка двигателя

Требования к последовательности остановки ЖРД определяют, назначением. При этом предусматривается либо остановка двигателя полной выработкой компонентов из баков, либо принудительная остановка путем закрытия в заданный момент отсечных клапанов топлива.

Работа двигателя до полной выработки компонентов применяется на ЗУРах, торпедах и в некоторых случаях на начальных ступенях мно­гоступенчатых ракет.

Принудительная остановка двигателя необходима на баллистических или космических ракетах, когда двигатель должен прекратить работу в задан­ный момент, например при достижении ракетой определенной скорости. При этом часто двигатель сначала переводится на режим меньшей тяги, а затем полностью отключается. Для прекращения подачи топлива используются пневмогидравлические или пиротехнические отсечные клапаны. Важным кри­терием качества принудительной остановки двигателя является величина так называемого импульса последействия.


 


9.5. Система управления направлением вектора тяги

Для создания направляющих моментов и усилий в ЖРД используются следующие мероприятия:

- подвижные элементы, устанавливаемые в газовом потоке, истекаю­щем из сопла;

- камеры, устанавливаемые на шарнирном или карданном подвесе;

- рулевые двигатели;

- поворотные сопла;

- впрыск жидкости или вдув газа в расширяющуюся часть сопла;

- изменение тяги отдельных камер многокамерного двигателя.

Подвижные элементы установленные в газовом потоке, истекающем из сопла

Рис.96

Газовые рули

А) газовые рули - подвижные элементы управления вектором тяги, постоянно находящиеся в газовом потоке, как правило, на срезе сопла, управ­ляемые с помощью рулевых машинок (РМ). Материал газовых рулей пред­ставляет графито-металло-полимерную композицию, получаемую методом по­рошковой металлургии. Применение газовых рулей для изменения направления вектора тяги обеспечивает достаточно широкий диапазон управляющих воз­действий, рис.96.

К недостаткам указанной конструкции необходимо отнести:

- повышенные значения гидравлических потерь, обусловленные тор­можением газового потока;

- высокие значения термопрочности материала газовых рулей;

- работа элементов управления газовыми рулями в условиях высоких

температур.



 


Рис.97

Дефлекторы

Б) Дефлекторы - представляют собой насадки конической или цилинд­рической формы, устанавливаемые на выходное сечение сопла. Создание управляющего воздействия обеспечивается поворотом насадка, с помощью расположенных под 90 градусов рулевых машин, рис.97.



 


 


а)


Рис.98

Триммеры: а) интерцепторы; б) заслонки


б)


В) Триммеры

Представляют собой наиболее сложную систему обеспечения управ­ляющих воздействий, за счет подвижных элементов. Триммеры- щитки, выдви­гаемые в газовый поток на срезе сопла, только в процессе создания управляю-


щих воздействий. Если щитки, выдвигаемые в поток, ориентированы своей плоскостью перпендикулярно истекающей струе, то они называются интерцеп-торами, рис.98 а, а если параллельно (вдоль потока) - заслонками, рис.98 б.

Камеры, устанавливаемые на шарнирном или карданном подвесе

А) шарнирный подвес позволяет отклонять камеру в какой либо одной плоскости. Если двигательная установка состоит из четырех, установленных на шарнирном подвесе камер, то их подвесы могут быть закреплены на общей раме, при этом оси подвесов должны пересекаться в ее центре, рис.99. Такая установка камер позволяет создавать силы и моменты для управления раке­той по углам тангажа, рыскания и крена; например, для управления по крену все четыре камеры должны быть повернуты в одну сторону по окружности.

Вид А

Рис.99

Схема расположения камер четырехкамерного двигателя с их установкой на шарнирном подвесе

Б) карданный подвес является более эффективным, но и более слож­ным. Его применение позволяет отклонять камеру одновременно в двух взаим­но перпендикулярных плоскостях, при этом продольная ось камеры может за­нять любое положение в некотором конусе, рис.100. При карданном подвесе одной камеры достаточно, чтобы управлять по углам тангажа и рыскания. Управление по крену обеспечивается отдельной системой. Если на двигатель­ной установке имеются две камеры, установленные на карданном подвесе, то они обеспечивают управление ракетой по углам рыскания, тангажа и крена.


Рис.100

Карданный подвес камеры ЖРД

Рулевые двигатели

Рулевые, управляющие или верньерные двигатели - это дополнитель­ ные двигатели, устанавливаемые на шарнирном или карданном подвесе, как правило, в аэродинамических рулях (стабилизаторах), рис. 101. Рулевые двига­тели могут работать как непрерывно, так и в импульсном режиме; подача топ­лива в рулевые двигатели может осуществляться с помощью основного или вспомогательного ТНА.

Рис. 101 Рулевые двигатели

Рулевые двигатели усложняют схему и конструкцию двигательной ус­тановки, снижая в некоторой степени ее надежность.


Поворотные сопла

В конструкдии ЖРД без дожигания генераторного газа для создания управляющих воздействий, могут быть использованы поворотные сопла, рабо­чим телом для которых является генераторный газ, отбираемый от турбины.

Возможны следующие варианты таких сопел.

1. Один или два выхлопных патрубка турбины оканчиваются соплом, которое крепится к ним с помощью шарнирного или карданного подвеса.

2. К выхлопному коллектору турбины подсоединяется выхлопной патрубок, с которым соединены трубопроводы с газораспределителями, окан­чивающиеся соплами. При этом минимальное количество сопел для управле­ния ракетой по углам рыскания, тангажа и крена равно шести (по два сопла на каждое направление возможной эволюции ракеты), рис.102.

Рис.102

Рулевая система двигателя РД- 119: 1 - газораспределитель крена, 2, 5, 6 -электроприводы; 3 - пироклапан; 4 - выхлопной трубо­провод; 7 - газораспределитель рыскания; 8 - газораспределитель тангажа; 9, 11, 13, 14, 15, 18, 19,20-сопла; 10, 12,16,17,21 - кронштейны

Впрыск жидкости или вдув газа в расшир яющу юся часть сопла


Для создания сравнительно небольших управляющих воздействий и сил можно вводить рабочее тело в расширяющуюся часть сопла через отвер­ стия (сопла), расположенные в стенке сопла, рис.103. Четырехсопел доста­точно, чтобы создавать боковые управляющие силы по тангажу и рысканию. Сопла каждого квадранта вступают в работу после открытия клапана установ - ленного на трубопроводе, который подводит жидкость или газ.

При вводе рабочего тела через сопло газ или пары жидкости поступают в поток продуктов сгорания. На участке сопла перед местом ввода рабочего тела обеспечивается торможение части потока, устанавливается фронт косого скачка и образуется зона повышенного давления. В результате этого истекаю­щая струя продуктов сгорания отклоняется от осевого направления и возникает боковая сила, направленная в сторону сопла, через которое вводится рабочее тело.

В качестве газообразного рабочего тела могут быть использованы:

газы (азот, аргон, гелий и т.д.), обеспечивающие предварительный наддув баков с основными компонентами топлива;

генераторный газ;

продукты сгорания, перепускаемые из камеры сгорания или са­жающейся части сопла.

Рис.103

Газодинамическая система управляющих моментов и сил

Изменение величины тяги отдельных камер многокамерного двигателя

Если изменить величину тяги жестко закрепленных диаметрально рас­положенных двигателей, входящих в состав двигательной установки, то можно создать управляющий момент относительно центра масс ракеты и обеспечить ее разворот в плоскостях тангажа и рыскания.


9.6. Система регулирования величины вектора тяги ЖРД

Величина тяги ЖРД определяется расходом топлива в камеру. Расход, а, следовательно, и тягу можно изменять варьируя:

а) при вытеснительной подаче - давление в баках компонентов топли­
ва;

б) при насосной подаче - частоту вращения вала ТНА;

в) при вытеснительной и насосной подаче - регуляторами расхода, ус­
танавливаемыми на магистралях перед камерой (для вытеснительной подачи) и
управляемыми приводами.

Основными условиями обеспечения устойчивого и плавного горения при снижении тяги двигателя являются одновременное сохранение перепада давления на форсунках и давления продуктов сгорания в камере.

Условие поддержания постоянства перепада давления на форсунках при работе двигателя с изменяющейся тягой осуществляется варьированием: числа форсунок, через которые компоненты топлива впрыскива­ются в камеру сгорания; площади проходного сечения форсунки: плотности компонентов топлива (путем их насыщения газом); коэффициента соотношения компонентов топлива km.

Если различная величина тяги ЖРД с насосной системой подачи обес­печивается изменением частоты вращения насосов компонентов топлива, то турбина ТНА должна иметь систему, управляющую её мощностью. Нашли применение температурный, расходный и смешанный способы изменения мощности турбины ТНА.

Температурный способ применяется для двухкомпонентных ЖГТ; он
состоит в изменении температуры генераторного газа, подаваемого на турбину,
для чего на одной из магистралей питания газогенератора устанавливают регу­
лятор расхода с электро - или гидроприводом, позволяющим увеличивать или
уменьшать расход одного из компонентов в ЖГГ, а, следовательно, и коэффи­
циент соотношения km для газогенератора.

Расходный способ состоит в изменении расхода газа через турбину при поддержании его постоянной температуры, что обеспечивается постанов­кой на подающих магистралях ЖГТ регуляторов расхода со специальными ста­билизаторами, поддерживающими неизменным величину km.

При смешанном способе изменения мощности турбины одновременно изменяются и турбина и расход газа, подаваемого в камеру.

9.7. Основные направления совершенствования ЖРД

1. Применение перспективных жидких ракетных топлив.

а) повышение плотности компонентов (жидкий кислород и водород в «шугообразном» состоянии; кислород и водород в состоянии, соответствую­щем их тройной точке; углеводородные горючие из отходов и побочных про­дуктов нефтехимического производства);


б) повышение энергетических характеристик теплив (использование топлив на основе фтора, металлосодержащих горючих, трехкомпонентных топлив).

2. Разработка новых схем ЖРД и ДУ.

А) ЖРД с кольцевой камерой и соплом с центральным тел

б) двухтопливные ЖРД (один окислитель и два горючих, последова­
тельно подаваемые в камеру ЖРД, например, «(О2)ж + керосин» и «(О2)ж +
2)ж>>);

в) ЖРД линейной конструкции, в которых камера и сопло имеют пря­
моугольное сечение.

3. Уменьшение габаритных размеров.

А) переход на повышенные значения давления в камере;

б) использование рациональных компоновок двигателя;

в) усовершенствование конструкции агрегатов (использование камер с
центральным телом и т.д.).

4. Снижение массы ДУ.

а) использование конструкционных и композиционных материалов по­
вышенной прочности;

б) использование передовых технологий производства;

в) интенсификация методов охлаждения камеры сгорания.

5. Обеспечение простоты и удобства эксплуатации, снижение време­ни подготовительных работ при запуске.

6. Повышение уровня надежности, ресурса и безопасности работы

ДУ.

а) обеспечение эксплуатационной технологичности конструкции:

б) резервирование работы наиболее ответственных агрегатов;

в) испытание материалов, систем и агрегатов с имитацией эксплуата­
ционных условий;

в) использование перспективных стратегий технического обслужива­ния и ремонта.

7. Снижение стоимости и времени конструкторско-технологической
стадии создания ДУ

а) унификация основных узлов и агрегатов;

б) разработка систем, обеспечивающих спуск нижних ступеней раке­
тоносителей.


Литература

1. Болгарский А.В. Рабочие процессы в ЖРД. М: Высшая школа. 1990. 282 с.

2. Добровольский М.В. Жидкостные ракетные двигатели. М.: Машиностроение, 1968. 395 с.

3. Володин В.А., Ткаченко Ю.Н. Конструкция и проектирование ракетных двигателей. М.: Машиностроение, 1984, 273 с.

4. Козлов А.А., Новиков В.Н., Соловьев Е.В. Системы питания и управления ЖРДУ. М.: 1988. 286 с.

5. Овсянников Б.В., Боровский Б.И. Теория и расчёт агрегатов питания ЖРД. М.: Машиностроение, 1979, 343 с.

6. Ракеты - носители / под ред. Осипова СО. М.: Воениздат, 1981, 314 с.


ОГЛАВЛЕНИЕ

1. Принцип работы реактивного двигателя. Основные понятия и
определения
.............................................................................

1.1. Принцип создания реактивной силы...............................

1.2. Классификация ракетных двигателей (РД)........................... 4

1.3. Тяга ракетного двигателя.................................................. 6

1.4. Мощностные параметры ракетных двигателей.................... 8

1.5. Удельные параметры ракетных двигателей,........................ 8

2. Формула Циолковского и её практическое применение............. 10

2.1. Идеальная скорость и массовые характеристики ракеты......... 10

2.2. Относительные массовые характеристики субракет.............. 11

2.3. Формула Циолковского.................................................... 12

3. Рабочий процесс в химических ракетных двигателях............ 13

3.1. Аэродинамический нагрев в полете.................................... 13

3.2. Реакции химически активных газов...................................... 15

3.3. Потери в химических ракетных двигателях.......................... 16

3.4. Скорость истечения газов из сопла ракетного двигателя......... 17

3.5. Оценка эффективности процессов в химических ракетных двигателях 19

4 Характеристики ракетного двигателя........................................ 20

4.1. Дроссельная характеристика ракетного двигателя............... 20

4.2. Высотная характеристика ракетного двигателя...................... 23

4.3. Режимы работы сопла........................................................ 24

4.4. Влияние высотности сопла на протекание высотной

характеристики................................................................ 25

5. Общие сведения о ЖРД.......................................................... 26

5.1. Системы космических летательных аппартов....................

5.2. Классификация и схемы ЖРД........................................... 29

5.3. Общие сведения о жидкостных ракетных топливах (ЖРТ). Классификация ЖРТ 33

5.4. Требования, предъявляемые к ЖРТ................................... 37

5.5. Перспективные ЖРТ......................................................... 41

6. Основные конструктивные элементы камер ЖРД.
Топливные баки
...................................................................... 45

6.1. Особенности условий работы и конструкции камеры ЖРД.... 45

6.2. Особенности проведения прочностного расчета камер ЖРД... 49

6.3. Требования, предъявляемые к камерам ЖРД........................ 50

6.4. Выбор материала для камер ЖРД...................................... 51

6.5. Формы камер ЖРД........................................................... 52

6.6. Головки камер ЖРД и их конструкция................................ 57

6.7. Конструктивные особенности выполнения систем охлаждения камер сгорания 60

6.8. Потери в соплах ракетных двигателей.................................. 68

6.9. Схемы сопел ЖРД.............................................................. 69

6.10. Кольцевые сопла.............................................................. 73


б.11. Требования, предъявляемые к распиливающему устройству

ЖРД........................................................................................................ 75

6.12. Типы топливных форсунок.............................................................. 78

6.13. Способы размещения топливных форсунок на плоских

головках камеры ЖРД....................................................................... 86

6.14. Назначение, схемы и конструктивные особенности

топливных баков................................................................................. 88

7. Система охлаждения камер ЖРД........................................................... 91

7.1. Физическая картина теплообмена в камере ЖРД....................... 91

7.2. Распределение плотности теплового потока по длине

камеры ЖРД......................................................................................... 93

7.3. Классификация систем охлаждения ЖРД. Внешнее
охлаждение............................................................................................ 94

7.3. Требования, предъявляемые к внешнему (наружному)

охлаждению......................................................................................... 95

7.5. Внутреннее охлаждение.................................................................. 96

7.6. Система теплозащитных покрытий (ТЗП)................................... 98

8. Система подачи компонентов топлив................................................... 104

8.1. Турбонасосная система (ТНС) подачи компонентов

топлива.................................................................................................. 104

8.2. Компоновочные схемы ТНА............................................................. 104

8.3. Устройство центробежного насоса................................................ 106

8.4. Крыльчатки насосов.......................................................................... 107

8.5. Уплотнения крыльчаток..................................................................... 109

8.6. Основные параметры насосов......................................................... 109

8.7. Характеристики насосов.................................................................. 112

8.8. Кавитация............................................................................................... 117

8.9. Предвключенные насосы.................................................................., 121

 

8.10. Зависимость мощности и к.п.д. насоса от его объёмной производительности ' 122

8.11. Турбина ТНА......................................................................................... 123

8.12. Классификация турбин...................................................................... 130

8.13. Основные параметры турбины........................................................ 135

8.14. Требования, предъявляемые к газогенераторам....................... 136

8.15. Классификация газогенераторов................................................... 137

9. Системы управления ЖРД....................................................................... 145

9.1. Система запуска ЖРД......................................................................... 145

9.2. Параметры, влияющие на запуск ЖРД.......................................... 148

9.3. Способы воспламенения горючих смесей..................................... 150

9.4. Остановка двигателя............................................................................ 159

9.5. Система управления направлением вектора тяги....................... 160

9.6. Система регулирования величины вектора тяги ЖРД.............. 166

9.7. Основные направления совершенствования ЖРД....................... 166

Литература.............................................................................................................. 168


В. Г. Попов H.Л Ярославцев

ЖИДКОСТНЫЕ РАКЕТНЫЕ ДВИГАТЕЛИ

Под редакцией Н.Л. Ярославцева

Лицензия ЛР 20447 от 17.04.97







Date: 2015-05-05; view: 4299; Нарушение авторских прав



mydocx.ru - 2015-2026 year. (0.967 sec.) Все материалы представленные на сайте исключительно с целью ознакомления читателями и не преследуют коммерческих целей или нарушение авторских прав - Пожаловаться на публикацию