Главная Случайная страница


Полезное:

Как сделать разговор полезным и приятным Как сделать объемную звезду своими руками Как сделать то, что делать не хочется? Как сделать погремушку Как сделать так чтобы женщины сами знакомились с вами Как сделать идею коммерческой Как сделать хорошую растяжку ног? Как сделать наш разум здоровым? Как сделать, чтобы люди обманывали меньше Вопрос 4. Как сделать так, чтобы вас уважали и ценили? Как сделать лучше себе и другим людям Как сделать свидание интересным?


Категории:

АрхитектураАстрономияБиологияГеографияГеологияИнформатикаИскусствоИсторияКулинарияКультураМаркетингМатематикаМедицинаМенеджментОхрана трудаПравоПроизводствоПсихологияРелигияСоциологияСпортТехникаФизикаФилософияХимияЭкологияЭкономикаЭлектроника






Основные конструктивные элементы камер ЖРД. Топливные баки 1 page





6.1. Особенности условий работы и конструкции камеры ЖРД

Камера ЖРД—важнейший агрегат ЖРД, работающий в весьма труд­ных условиях. Сгорание топлива происходит в малом объеме при высоких зна-


чениях температуры и давления. С целью повышения скорости сгорания по­ступающие жидкие компоненты должны быть очень мелко распылены и рав­номерно перемешаны. Распыление осуществляется форсуночной головкой (ФГ), от хорошей работы которой зависит эффективность работы камеры ЖРД. Смешивание газообразных компонентов осуществляется смесительной голов­кой.

Внутренние стенки камеры сгорания омываются газами, температура которых значительно превышает температуру плавления материала стенки. Поэтому стенки должны интенсивно охлаждаться. Кроме того, стенки камеры ЖРД испытывают высокое давление газов. Так как вес камеры сгорания дол­жен быть минимальным, ее выполняют из высокопрочных тонколистовых ма­териалов.

Камера ЖРД, рис.28, состоит из следующих основных, технологиче­ских узлов: форсуночной или смесительной головки (СГ); камеры сгорания или средней части; охлаждаемой сопловой части; неохлаждаемой сопловой части — насадка.

Рис.28

Разбивка камеры ЖРД на технологические узлы

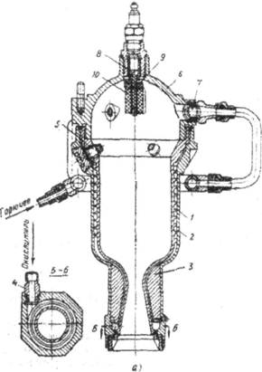
Эти узлы камеры ЖРД соединяются сваркой или с помощью болтов. Средняя часть и сопловая охлаждаемая часть часто выполняются за одно целое. Форсуночная головка схематически изображена на рис.2. Она состоит из огне­вого днища 1, среднего днища 2, верхнего днища 3, шаровой опоры 4, патруб­ков подвода окислителя 5, коллектора подвода горючего 6. форсунок окислите-


ля 8. форсунок горючего 7. Количество форсунок определяется размером каме­ры ЖРД и требованиями к распылу компонентов.

Рис. 29

Схема форсуночной головки:

А — полость окислителя; Б— полость горючего; 1—огневое днище; 2—среднее днище; 3—верхнее днище; 4— шаровая опора; 5—патрубок; 6—коллек­тор; 7— форсунка горючего; 8—форсунка окислителя

Некоторые камеры ЖРД вместо центральной шаровой опоры 4 имеют специальные цапфы, приваренные к рубашке средней части камеры примерно в центре тяжести (например, камеры ЖРД «Гамма» для ракеты «Блек Найт»).

Узел — камеры сгорания и охлаждаемая часть сопла - схематически изображен на рис.3. Он состоит из внутренней (огневой) оболочки или стенки 1, внешней оболочки или рубашки 2, цапф 3, коллектора 4, патрубков с флан­цами 5.

Стенка 1 соприкасается с газами при высокой температуре и должна нтенсивно охлаждаться. С этой целью по каналам межрубашечного простран­ства протекает охлаждающая жидкость — один из компонентов топлива, чаще всего горючее.

Каналы для жидкости могут быть образованы несколькими способами: а) установкой гофрированных проставок между рубашкой и стенкой (рис.30, а); 6) соединением пайкой П-образных профилей с последующей проточкой по поверхности прилегания рубашки (рис.30,6);

в) соединением пайкой профилированных трубок (рис.30, в);

г) фрезерованием, травлением или выдавливанием продольных каналов в
стенке (рис.30,г).


Рис 30

Конструкция средней части камеры ЖРД:

1 и 2 — внутренняя и внешняя стенки камеры ЖРД, соответственно;

3 — цапфа; 4 — коллектор; 5—патрубок с фланцем

Наибольшее распространение в практике фирм США, Англии и Фран­ции получил метод изготовления стенок из профилированных стальных или алюминиевых трубок (см. рис.30, в), хотя применяется и метод, указанный на рис.30, б.

Рубашка 2 изготовляется из высокопрочных материалов — стали, ти­тана. Она может быть выполнена сплошной по всему контуру стенки или в ви­де отдельных колец, что определяется расчетом на прочность камеры ЖРД при условии минимального веса конструкции. В некоторых конструкциях рубашка изготовляется намоткой стальной ленты или приволоки с последующей пай­кой. Применяются также рубашки из стекловолокна, пропитанного пласт­массой.

Цапфы 3 воспринимают силу тяги камеры и привариваются к усилен­ной части рубашки камеры ЖРД. Чтобы избежать больших деформаций гибких трубопроводов при поворотах качающихся камер, горючее и окислитель можно подводить через осевые сверления в цапфах.

Коллектор 4 служит для равномерного распределения охлаждающей жидкости по каналам стенки камеры. Он выполняется из листового металла и приваривается или припаивается к рубашке. Жидкость подводится через один, два или более патрубков с приваренными фланцами 5 для соединения с трубо­проводами, идущими от ТНА.


Неохлаждаемая часть сопла испытывает сравнительно небольшое внутреннее давление и изготовляется из тонколистового материала (стали, тагана). Для защиты от высокой температуры применяются различные по-крытия, наносимые электроосаждением, плазменным распылением, диффу­зионным и другими способами.


6.2. Особенности проведения прочностного расчёта камер ЖРД

1) Камера двигателя является, как правило, двустенной, скрепленной
связями, оболочкой, находящейся под силовым и температурным воздействи­
ем.

При работе ЖРД температуры наружной и внутренней оболочек раз­личны и переменны как вдоль оболочки, так и по ее толщине. В наиболее тяже­лых температурных условиях работает внутренняя оболочка. Средняя темпера­тура ее много выше, чем у наружной оболочки и, кроме того, значительно из­меняется температура по толщине ее (тем больше, чем больше тепловой поток через стенку и чем меньше теплопроводность стенки). При таких температур­ных условиях работы в стенках возникают большие температурные на-пряжения и ухудшаются механические свойства материала. Ввиду этого при прочностных расчетах камеры ЖРД необходимо учитывать температуру и не­равномерность ее по толщине внутренней оболочки, а также изменение меха­нических свойств материала при повышении температуры.

2) Разность между давлением в охлаждающем тракте и статистическим
давлением в камере, а также температура внутренней стенки переменны по
длине камеры двигателя.

Вследствие этого прочностные расчеты внутренней оболочки необхо­димо проводить минимум для двух сечений: сечения наибольшей разности давлений и сечения наибольшей температуры внутренней оболочки.

3) Проведение расчетов камеры двигателя на прочность по допускае­
мым напряжениям не всегда приемлемо. Дело в том, что одни только темпера­
турные напряжения в стенках камеры могут значительно превосходить предел
упругости, так что материал камеры двигателя работает в области пластиче­
ских деформаций при одновременном силовом и температурном воздействии.

Поэтому основным критерием пригодности камеры ЖРД целесообраз­но считать не значения возникающих напряжений, а величину деформаций как оболочки в целом, так и ее элементов.

4) Прочностные расчеты камеры ЖРД имеют характер проверочного
расчета.

Все основные размеры оболочек, способы скреплений, а также нагруз­ки на оболочку и температуры ее определяются в первую очередь условиями жности системы охлаждения и обеспечения заданной тяги двигателя и лишь затем - условиями прочности.

Если какие-либо элементы камеры не удовлетворяют условиям проч­ности, мы не можем изменять их размеры без введения существенных поправок в расчет охлаждения или тепловой расчет камеры. Так, например, мы не можем


увеличить толщину стенки внутренней оболочки, так как при этом резко изме­нятся условия охлаждения.

6.3. Требования, предъявляемые к камерам ЖРД

Камера ЖРД любого типа и конструкции должна удовлетворять опре­деленным требованиям, обусловленным особенностями ее работы и эксплуата­ции.

Основными особенностями камеры ЖРД отличающими ее от камер сгорания других тепловых двигателей, являются:

1) высокая теплонапряженность ее рабочего объема, что предъявляет особые требования к конструкции камеры сгорания;

2) большие давления и температуры газов в ней (около 20-80 ата и 2800-3600 К), что предъявляет особые требования к материалам и к системе охлаждения;


3) малое время, отводимое для сгорания в ней топлива (не больше 0,005 сек.), что требует очень хорошего распыла компонентов топли­ва при подаче в камеру сгорания для более полного их сгорания;

4) большие секундные расходы компонентов топлива, в силу чего тре­буется надежное зажигание его при запуске двигателя;

5) резкое ухудшение экономичности работы камеры двигателя и усло­вий ее охлаждения при изменении режима работы относительно рас­четного;

6) жёсткое ограничение по весу, вследствие специфики использования ЖРД на летательных аппаратах, что требует применения для изго­товления камеры легких и прочных материалов при условии их ра­боты с весьма малыми запасами прочности.

Главной задачей при проектировании и конструировании камеры дви­гателя является обеспечение возможно большего удельного импульса при ми­нимальном весе и максимальной надежности конструкции. В ряде случаев, когда это компенсируется соответствующим уменьшением веса, вполне допус­тимо некоторое снижение удельного импульса. Хотя такое мероприятие дает косвенный эффект и связано иногда со значительным изменением конструкции двигателя, но тем не менее им не следует пренебрегать.

Конструктивные и эксплуатационные особенности ЖРД во многом зависят от вида применяемых компонентов топлива.

При проектировании камеры двигателя необходимо стремиться обес­печить:

1) надежное воспламенение топлива при запуске в любых атмосферных условиях;

2) устойчивое горение топлива (без пульсаций давления) в диапазоне уста­новленных режимов работы двигателя;

3) малые потери энергии топлива при сгорании в минимальном объеме и заданном режиме работы двигателя;

4) надежность охлаждения (если двигатель охлаждаемый) и работы в пре­делах установленных режимов и ресурса;


5) небольшой перепад давления жидкости в охлаждающем тракте;

6) простоту конструкции камеры, минимальные удельный вес и стоимость.

Камеры ЖРД существующих двигателей, созданные на основании экс­периментальных исследований, большинству этих требований в значительной мере удовлетворяют.

Совершенство камеры ЖРД в основном определяется величиной раз­виваемого удельного импульса при простой, легкой и надежной конструкции. Величина удельного импульса двигателя является наиболее существенным па­раметром, определяющим дальность полета боевого аппарата при заданном совершенстве его конструктивного выполнения.

Основным фактором, влияющим на величину удельного импульса ка­меры двигателя, является качество организации и осуществления в ней рабоче­го процесса. Изучение процессов сгорания топлива в камерах ЖРД с целью дальнейшего их улучшения и совершенствования представляет весьма обшир­ную область экспериментальных и теоретических исследований.

Для совершенствования конструкции камеры двигателя необходимы дальнейшие исследования процессов сгорания в ней заданных топлив при раз­личных соотношениях компонентов и давлениях горения в зависимости от кон­струкций распыляющего устройства, скоростей впрыска компонентов топлива, конфигурации камеры сгорания и сопла, а также других факторов и условий работы двигателя.


6.4. Выбор материала для камеры ЖРД

Материал камеры двигателя должен быть по возможности более проч­ным, легким и обладать хорошими пластическими свойствами. Для материала внутренней оболочки желательно сочетание высокой теплопроводности и удовлетворительных прочностных свойств при высоких температурах, однако, как правило, жаропрочные сплавы имеют плохую теплопроводность. Для внешней оболочки теплопроводность большого значения не имеет и поэтому МПЧ главным требованием к материалу является его высокая прочность и воз­можно меньшая плотность. В некоторых случаях, при высокотеплопроводных скреплениях, температура наружной оболочки может достигать 300-400°С и тогда материал должен обладать достаточно хорошей жаропрочностью.

Кроме того, в зависимости от типа конструкции и применяемых ком-понентов, материал должен удовлетворять условиям свариваемости, кислото-стойкости и не являться катализатором.

Основные рекомендации по выбору конструкционных материалов при производстве камер ЖРД представлены ниже:

1. Сталь 12Х18НЮТ применяется для внутренних оболочек цилинд­рической и сужающейся части камер при температуре газа менее 3000 К, а также для внутренней оболочки расширяющихся частей сопел.

2. Сталь 12Х18Н9Т в настоящее время не рекомендуется для внутрен­них оболочек камер из-за склонности к межкристаллической коррозии.

3. Сталь 1X21Н5Т целесообразно применять для выполнения силовых колец камер, т.к. она не требует термообработки после сварки.


Кроме того, сталь 1X21Н5Т хорошо сваривается с бронзой, и поэтому может использоваться в качестве промежуточного кольца при сварке внутрен­них оболочек из стали 12Х18Н1ОТ и бронзы типа БрХ-08. Сталь 1Х21Н5Т ре­комендуется также для изготовления наружных оболочек расширяющихся час­тей сопел. Эта сталь при температуре пайки обладает высокой пластичностью, что обеспечивает хороший контакт со связями и высокое качество пайки узлов сложной формы.

4. Сталь Х16Н4БА используется для изготовления наружной оболочки цилиндрической и сужающейся частей камеры двигателя, т.к. при температуре более 500 К она обладает высокими механическими характеристиками.

5. Титановые сплавы применяются для изготовления наружной и внут­ренней оболочек расширяющейся части сопел, работающих в восстановитель­ной среде. Для окислительной среды титановые сплавы применять не рекомен­дуется, т.к. они могут возгораться из-за растрескивания окисной плёнки.

6. Медные сплавы используются для изготовления внутреннего днища и внутренних оболочек цилиндрической части камеры и суживающейся части сопла в двигателях с высоким давлением в камере (более 10 Мпа).

6.5. Формы камер ЖРД

Камера двигателя является главным агрегатом ракетной двигательной установки.

Различают изобарические и скоростные камеры сгорания. Камеры сго­рания с приблизительно постоянным по длине давлением иногда называются изобарическими камерами. К ним следует относить камеры, у которых FK/F*>3

Отношение FK/F*, называют обычно безразмерной площадью камеры сгорания. Если значение FK/F* < 3, то при сгорании в камере скорость потока

значительно возрастает по её длине, в то время как давление, согласно уравне­нию закона сохранения энергии, падает. Такие камеры сгорания уже нельзя относить к изобарическим; их называют скоростными. В пределе FK/F*=1 камеры двигателя носят название полутеплового сопла.

Известны следующие основные формы камер сгорания ЖРД рис.31.

1.Цилиндрическая.

2.Шарообразная (или грушевидная).

3.Коническая.

4.Кольцевая (торовая, цилиндрическая).

Рассмотрим особенности каждой из этих форм.

В настоящее время наиболее распространены цилиндрические каме­ры сгорания. Они применяются для камер двигателей всех тяг.

Основным достоинством цилиндрической камеры сгорания по сравне­нию с камерами сгорания других форм является простота ее конструкции и из­готовления а, следовательно, малая стоимость. Кроме того, она имеет меньший габаритный диаметр.


Рис.31

Формы камер сгорания:

а —цилиндрическая; б—полугепловое сопло; в —шарообразная; г — коническая; д, е —кольцевые

К основным недостаткам цилиндрической камеры сгорания, по срав­нению с камерами других форм, относятся:

1) при одинаковом объеме она имеет большую поверхность оболочки, что усложняет ее охлаждение;

2) при прочих равных условиях она имеет худшую прочностную характе­ристику, что увеличивает ее удельный вес и стоимость;

3) газовый поток в этой камере сгорания больше обжимается поверхностью оболочки, чем в шарообразной камере сгорания, что несколько гасит его тур­булентность и утоняет ламинарный слой газа около поверхности оболочки, снижая полноту сгорания топлива и, следовательно, удельный импульс и уве­личивая теплоотдачу от газов к оболочке;

4) меньшая устойчивость работы в отношении высокочастотных колебаний, что ограничивает ее расходонапряженность, а также сужает пределы регулиро­вания тяги изменением расхода топлива.

Цилиндрические камеры сгорания выполняются со съемными или при­варными головками. Эти камеры обычно стоят на двигателях малых и средних тяг однократного и многократного применения, где в первую очередь требуют­ся простота и дешевизна конструкции. В последнее время наиболее часто при­меняются камеры сгорания цилиндрической формы с плоской головкой и од-нокомпонентными центробежными форсунками. Примером ЖРД с цилин­дрической камерой сгорания могут служить двигатели ОРМ-65и РД-107, рис.32 Шарообразные и близкие к ним грушевидные камеры сгорания по сравнению с камерами сгорания других форм имеют следующие основные дос­тоинства:

1) при заданном объеме они имеют относительно меньшую поверхность оболочки, что уменьшает удельный вес камеры сгорания и облегчает ее охлаждение;




 


Рис. 32

Двигатели с цилиндрической камерой сгорания: а- ОРМ-65 (1936 г.); б— РД-107 (1954—1957 гг.); 1 - внутренняя оболочка камеры; 2 - корпус; 3 - вкладыш; 4 - штуцер подачи окисли­теля; 5—форсунка окислителя; 6—головка; 7—форсунка горючего, 8—нить накаливания: 9— воспламеняющий состав; 10 — зажигательная шашка

2) при заданном давлении в камере сгорания они имеют меньшую толщину оболочки, что уменьшает удельный вес камеры сгорания;

3) оболочка этих камер сгорания обладает большей устойчивостью против вдавливания внутрь под воздействием на нее статического давления ох­лаждающей жидкости;

4) процесс сгорания топлива в них протекает более полно благодаря сравни­тельно хорошей турбулизации газового потока, что повышает удельный импульс двигателя на 2—3%;

5) при прочих равных условиях в этих камерах меньше теплоотдача от газов к оболочке камеры вследствие наличия около ее поверхности более тол­стого ламинарного слоя, ухудшающего теплоотдачу к оболочке от газов и


облегчающего этим охлаждение камеры сгорания (газовый поток сравни­тельно меньше обжимается поверхностью оболочки).

К основным недостаткам шарообразных камер сгорания относятся:

1) сложность конструкции и технологии изготовления, что увеличивает ее стоимость;

2) сравнительно больший диаметр камеры сгорания, что может потребовать увеличения миделя ракеты.

Шарообразные камеры сгорания обычно имеют приварную ша­рообразную головку. Эту форму камеры сгорания имеют двигатели большой тяги со значительной продолжительностью работы, когда объем камеры сгора­ния настолько велик, что становится целесообразным предкамерный распыл компонентов, а также когда выгоды от уменьшения ее веса и повышения эко­номичности работы за счет формы преобладают над увеличением стоимости ее изготовления.

Примером ЖРД с шарообразными камерами сгорания может служить немецкий спирто-кислородный двигатель А-4, рис.33.

У конических камер сгорания по существу вся камера является вход­ной частью сопла. Они имеют пониженные значения Iуд по сравнению с дру­гими типами камер и вследствие этого не применяются, представляя только исторический интерес.

Основной причиной снижения Iуд являются большие скорости продук­тов сгорания в камере. Вследствие этого превращение тепловой энергии в ра­боту расширения является менее полным, т.е. имеют место большие потери на тепловое сопротивление. Кроме того, в конических камерах зона распыливания и испарения занимает значительную часть её полного объёма; зона сгорания при этом уменьшается, что приводит к худшему сгоранию или требует увели­чения полного объёма камеры.

Применение кольцевых камер сгорания в ЖРД определено исполь­зованием сопел с центральным телом. Различают цилиндрические и торовые кольцевые камеры сгорания.

Кольцевые камеры круглого сечения (торовые) целесообразно приме­нять при разгоне газа в сопле с центральным телом до больших чисел М.

По сравнению с другими типами кольцевые камеры сгорания имеют ряд недостатков. Поверхность их значительно больше, что приводит к увеличе­нию веса и затрудняет охлаждение камеры, особенно, «юбки» сопла. Кольцевая камера сгорания сложна в изготовлении, а для обеспечения её жесткости необ­ходимы либо специальные наружные рёбра жесткости, либо охлаждаемые стойки, связывающие наружный контур камеры с внутренним.

Достоинствами кольцевой камеры сгорания являются: возможность регулирования модуля и направления вектора тяги, а также уменьшение вероятности возникновения вибрационного горения при раз­бивке камеры по окружности на ряд отдельных секций; пониженные продольные геометрические размеры, по сравнению с дру­гими типами камер;

возможность установки в полости центрального тела ТНА или других аг­регатов.


Рис.33

Камера двигателя ракеты А-4: 1—верхняя полость; 2— главный клапан горючего; 3— нижняя полость горючего 4—форкамера; 5—"упор для передачи силы тяги на раму: 6—патрубок подвода горючего 7— тор; S—нижний пояс внутреннего охлаждения, 9—внутренняя оболочка камеры; 10— внешняя оболочка камеры;


11, 12 - пояса внутреннего охлаждения: и—дополнительный пояс внутреннего охлаждения; 14—

верхний пояс внутреннего охлаждения

6.6. Головки камер ЖРД и их конструкция

Головка камеры двигателя является главным узлом, обеспечивающим правильную организацию смесеобразования в камере сгорания. Конструк-ция головки должна обеспечить устойчивое горение в камере, а также способствовать плавному выходу двигателя на режим и уменьшению импульса последействия. При проектировании головки должно быть осуществлено необ-мое размещение и надежное крепление форсунок, наиболее удобный под­вод компонентов к форсункам и технологически возможно более простое со­единение головки с камерой сгорания.

На головке располагаются устройства для ввода в камеру топлива.

Жидкое топливо подается в камеру форсунками, а в случае применения схемы

с дожиганием газа, поступающего из ТНА, или при подаче топлива (например,

перекиси водорода) в газообразном состоянии - через специальные окна, вы-

полненные в головке. При двухкомпонентном жидком топливе головка имеет

днe полости. В двигателях с регулированием тяги путем отключения групп

форсунок эти полости могут иметь дополнительные перегородки, позволяющие

отдельно подводить топливо к различным группам форсунок.

На головке размещаются также узлы крепления двигателя, клапаны, служащие для запуска, отсечки и регулирования тяги двигателя, а в ряде случа­ев и антивибрационные устройства, и воспламенители.

Основным требованием к конструкции головки является обеспечение заданных условий смесеобразования и защиты стенок камеры от чрезмерного нагрева и прогара. Эти задачи, как указывалось, решаются рациональным раз­мещением форсунок на головке, выбором производительности отдельных групп форсунок и их характеристик, а также надлежащим охлаждением двига­теля. Одновременно конструкция головки должна обладать достаточной жест­костью несмотря на ослабление ее стенок большим количеством отверстий под форсунки, обеспечивать возможность подвода компонентов с минимальным гидравлическим сопротивлением и иметь надежную защиту от перегрева горя­чими газами.

Для наилучшего смешения компонентов на головке желательно раз­местить максимально возможное число форсунок. Минимальное расстояние между форсунками определяется условиями прочности стенки головки, усло­виями размещения в теле головки каналов для подвода компонентов, если го­ловка не имеет общей полости компонента, и, наконец, размерами форсунки. При центробежных форсунках определяющим фактором является размер фор­сунки, так как жесткость головки может быть обеспечена включением корпуса форсунки в силовую схему, а подвод компонентов в большинстве случаев осу­ществляется из общей полости. При струйных форсунках, имеющих относи­тельно малые размеры, минимальный шаг определяется при данном угле рас-пыла расстоянием от поверхности головки зоны соударения струй или усло-


виями подвода компонента. В выполненных конструкциях при центробежных форсунках шаг составляет 6-30 мм, а при струйных форсунках минимальный шаг может быть доведен до 3 - 4 мм.

Тот или иной способ размещения форсунок выбирается либо на осно­вании имеющегося опыта смешения компонентов топлива данного состава, либо из чисто конструктивных соображений, включающих подвод топлива и жесткость головки.

Основными конструктивными элементами головки являются форсу­ночное днище и наружная стенка. В свою очередь форсуночное днище чаще бывает двухстенным и реже - одностенным. При двухстенном форсуночном днище головка в целом является трехстенной. Тогда стенку форсуночного днища, обращенную к камере сгорания, называют внутренней или огневой, а вторую средней.

Одним из основных требований, предъявляемых к конструкции голов­ки, является обеспечение достаточной ее жесткости, а также сохранениягерме-тичности ее элементов при возможных деформациях.

Головки камер ЖРД подразделяются на плоские, шатровые, сфериче­ские, цилиндрические и вихревые, рис.34.

Плоские головки являются наиболее распространенным типом. Плоские головки камеры имеют различное конструктивное оформле­ние.- Иногда их выполняют трехстенной конструкции с отдельными полостями для горючего и окислителя. Верхнее днище обычно имеет шаровидную форму, тогда как последние два днища — плоские, в которых монтируют форсунки. При этом: компонент топлива, используемый для охлаждения камеры, поступа­ет в нижнюю полость головки, образуемую плоскими днищами, откуда через форсунки впрыскивается в камеру сгорания. Второй компонент топлива пода­ется прямо в верхнюю полость головки, образуемую шарообразным верхним и плоским средним днищами, а из нее затем поступает в камеру сгорания через сквозные трубки, пересекающие плоские днища головки и заканчивающиеся форсунками. Все три днища головки камеры связаны между собой. Верхнее днище связывается со средним плоским днищем косынками различной формы, а для связи плоских днищ можно использовать точечные выштамповки или развальцовку корпуса форсунок. Так как число форсунок обычно бывает весь­ма большим (измеряется сотнями), то последний способ связи между собой оболочек практически оказывается также достаточно надежным.

Конструктивное оформление головки в основном зависит от вы­бранной формы камеры сгорания, ее диаметра, вида компонентов топлива, а также от того, какой компонент топлива используется для охлаждения камеры. Плоские головки применяются в камерах двигателей малых и средних тяг. Они наиболее удобны для цилиндрических камер сгорания благодаря конструктив­ной простоте и удобству расположения на них струйных и центробежных фор­сунок горючего и окислителя. Плоские головки в сочетании с цилиндрической камерой сгорания обеспечивают хорошую однородность поля скоростей и кон­центрацию компонентов топлива по поперечному сечению камеры.


Рис.34

Классификация головок камер ЖРД


Преимущество плоских головок - в простоте конструкции; кроме того, плоские головки позволяют достаточно хорошо обеспечить однородность поля скоростей и концентраций топлива по поперечному сечению камеры сгорания. Недостатком плоских головок является относительно небольшая прочность и малая жесткость. Поэтому в плоских головках крegyогабаритных двигателей необходимо предусматривать подкрепляющие элементы, обеспечивающие тре­буемую прочность и жесткость головки.

Сферические головки часто выполняются с предкамерами и применя­ются в основном в камерах спирто-кислородных двигателей средних и боль­ших тяг. Эта головка удачна и с точки зрения борьбы с явлениями, связанными с поперечными акустическими колебаниями, характерными для двигателей с камерой сгорания большого диаметра. Достоинство этой головки состоит в вы­сокой ее прочности и жесткости, а недостаток—в сравнительно сложной кон­струкции.

Постановка предкамер на головке камеры облегчает экспери­ментальную отработку распыливающего устройства, так как в этом случае воз­можна предварительная доводка только одной предкамеры, что значительно проще и дешевле доводки всей распылительной плоской головки.

Шатровые головки, по форме напоминающие шатер, находят примене­ние в двигателях малых и средних тяг, а также в качестве форкамер. Преиму­ществами шатровой головки являются большая, чем у плоской головки, по­верхность для размещения форсунок и хорошие прочностные свойства. Недос­татки головки - в сложности изготовления и неравномерности распределения топлива по сечению. При шатровой головке возможно образование «жгута» распыленного топлива.







Date: 2015-05-05; view: 3767; Нарушение авторских прав



mydocx.ru - 2015-2026 year. (1.383 sec.) Все материалы представленные на сайте исключительно с целью ознакомления читателями и не преследуют коммерческих целей или нарушение авторских прав - Пожаловаться на публикацию