Главная Случайная страница


Полезное:

Как сделать разговор полезным и приятным Как сделать объемную звезду своими руками Как сделать то, что делать не хочется? Как сделать погремушку Как сделать так чтобы женщины сами знакомились с вами Как сделать идею коммерческой Как сделать хорошую растяжку ног? Как сделать наш разум здоровым? Как сделать, чтобы люди обманывали меньше Вопрос 4. Как сделать так, чтобы вас уважали и ценили? Как сделать лучше себе и другим людям Как сделать свидание интересным?


Категории:

АрхитектураАстрономияБиологияГеографияГеологияИнформатикаИскусствоИсторияКулинарияКультураМаркетингМатематикаМедицинаМенеджментОхрана трудаПравоПроизводствоПсихологияРелигияСоциологияСпортТехникаФизикаФилософияХимияЭкологияЭкономикаЭлектроника






Способы и точность перенесения осей





Способ прямоугольных координат (перпендикуляров) применяется для перенесения осей зданий и сооружений, расположенных вблизи линий опорной сети строительной сетки или красной линии застройки. Из рис. видно, что вдоль прямой MN откладывают отрезок d1, а затем теодолитом из полученной точки К восстанавливают перпендикуляр длиной d2 и получают точку А угла здания. Аналогично получают точку В. Ось АВ параллельна линии MN. Для контроля измеряют длину линии АВ и определяют ошибку в ее построении по формуле

Обычно этим способом переносят на местность только одну ось здания или сооружения. Поэтому линия АВ является основной для разбивки остальных осей. Построением прямых углов в точках А и В и построением проектных линий АС и BD получают на местности проектные точки С и D. Для контроля измеряют линию CD, диагонали AD и ВС и сравнивают их с проектными. Способ прямоугольных координат широко применяется в практике строительства, так как обеспечивает достаточную точность разбивки техническим теодолитом и не требует сложных измерений. Из рис. видно, что ошибка перенесения точек А и В проекта на местность способом прямоугольных координат зависит от точности построения прямых углов и расстояний d.

 

 

 

Способ полярных координат (полярный) чаще применяется на открытой и удобной для измерения линий местности от пунктов опорной сети по углу исходного направления до переносимой точки. Этот способ наиболее маневренный, достаточно точный и применяется на строительных площадках, где нет строительной сетки. Для перенесения на местность точек А и В пересечения основных осей здания необходимо отыскать на местности опорные точки М и N, знать величины разбивочных углов β1, β2 и длины линий d1, d2. Дирекционные углы линий, образующих разбивочные углы и длины линейной привязки, вычисляют по координатам конечных точек проекта и опорных пунктов решением обратной геодезической задачи по формулам:

По алгебраическим знакам числителя и знаменателя правой части формулы определяют румбы линий и дирекционные углы. По дирекционным углам линий вычисляют разбивочные углы:

Длины линий привязки находят по формулам:

 

При помощи теодолита и мерной ленты (рулетки) на местности строят углы β1, β2, откладывают расстояния d1, d2 и получают точки А и В, которые закрепляют кольями. Для контроля измеряют линию АВ и получают разность

Способ прямой угловой засечки применяется при перенесении на местность точек проекта, расстояние до которых измерить затруднительно или невозможно. Для перенесения в натуру точки А этим способом необходимо отыскать на местности опорные точки М и N, знать величины разбивочных углов β1, β2.

Схема перенесения точек осей:

а - способом прямой угловой засечки; б - способом линейных засечек

Разбивочные углы β1, β2 вычисляют как разность дирекционных углов, образованных исходной стороной и направлениями с ее конечных точек М и N на определяемую точку А. При этом угол у для достижения точности перенесения засечки должен приближаться к 90°, но быть-не менее 30° и не более 150°. По известным координатам опорных пунктов М, N и точки А решением обратной геодезической задачи вычисляют дирекционные углы соответствующих направлений. По дирекционным углам направлений вычисляют углы β1, β2:

Теодолит устанавливают над опорной точкой М, ориентируют трубу по линии MN и строят угол β1 |. Около точки А закрепляют полученный створ линии МА с помощью кольев с натянутым между ними шнуром (осевой проволокой). Аналогичным образом закрепляют створ по линии NA. Пересечение шнуров будет в проектной точке А. При работе с двумя теодолитами разбивочные углы откладывают одновременно. Таким же образом закрепляют точку В. Для контроля измеряют линию АВ и сравнивают ее с проектной.

Способ линейной засечки применяется на ровной открытой местности, когда проектные расстояния d1 и d2 не превышают длины мерного прибора. При этом обеспечивается достаточная точность и производительность измерений. Расстояния d1 и d2 для ответственных зданий и сооружений определяют решением обратной геодезической задачи, а для простых - графическим методом. Для перенесения точки А на местность в точке М закрепляется нулевое деление рулетки и радиусом, равным d1 прочерчивают на местности дугу. Затем нулевое деление ленты закрепляют в точке N и прочерчивают дугу радиусом d2. Пересечение дуг будет в проектной точке А. Точность перенесения на местность проектной точки А способом линейных засечек зависит от ошибок отложения расстояний d1, d2 и угла засечки γ. Ошибка в положении точки А определяется по формуле:


где ma - средняя квадратическая ошибка отложения расстояний d1 и d2 на местности;

γ - угол засечки фиксируемой точки А.

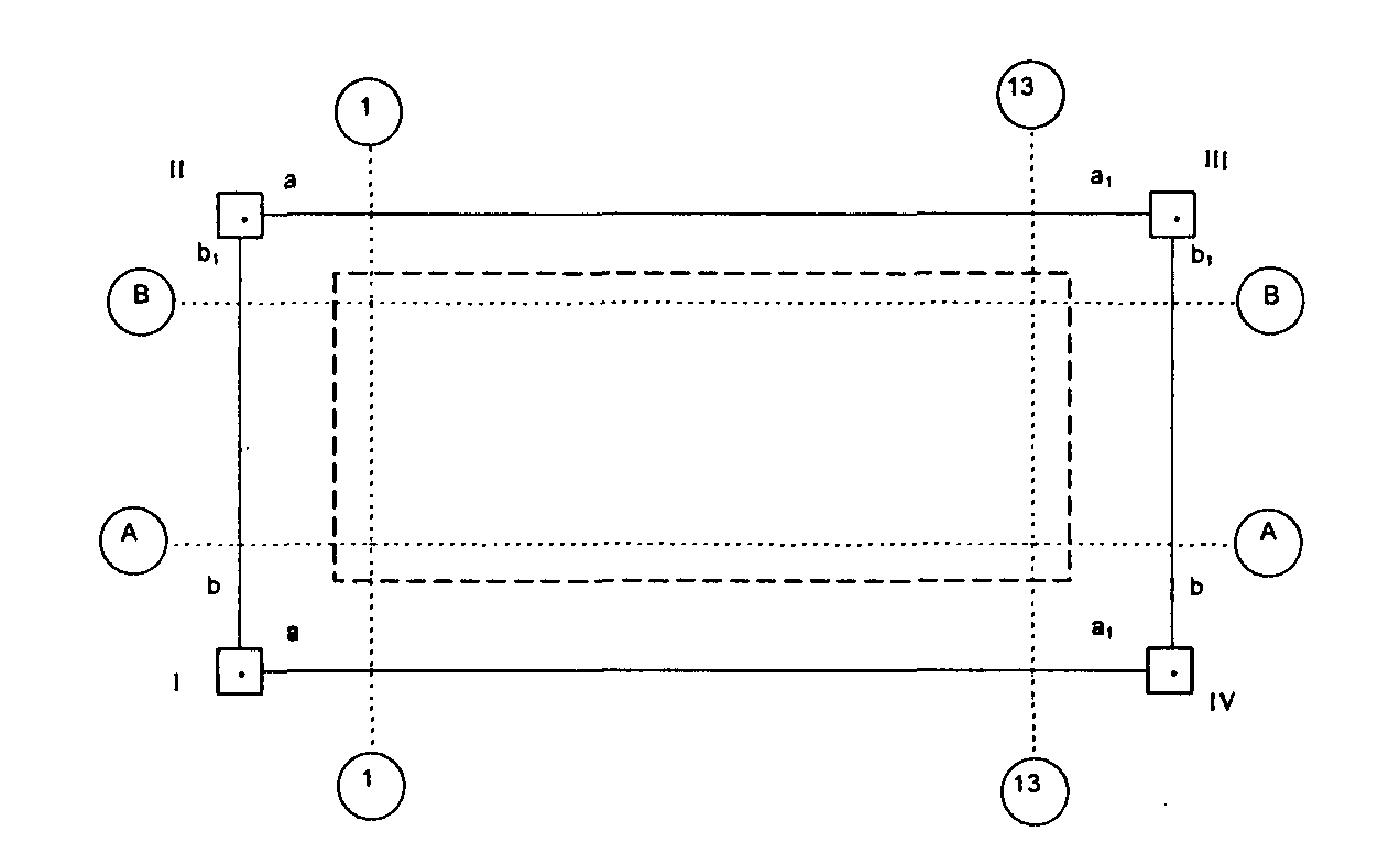
Способ створной засечки применяется при наличии строительной сетки или закрепленных на местности главных и основных осей зданий, сооружений. На рис.показана разбивка здания способом створных засечек. Проектную точку в этом случае определяют пересечением двух створных линий, которые получают с помощью теодолита или осевой проволоки.

 

Схема перенесения в натуру осей здания от строительной сетки способом створной засечки

По сторонам сетки I-IV и –II-III откладывают отрезки, равные проектному размеру а, а1, и по полученным точкам с помощью теодолита строят створ осей 1-1 и 13-13. По сторонам I-II и IV-III откладывают отрезки b, b1 и по полученным точкам строят створ осей А-А и В-В. Пересечение осей дает точку углов здания. Указанными выше способами можно производить разбивку зданий и сооружений на застроенных участках от местных предметов (например существующих зданий). Так как точность разбивки от местных предметов сравнительно небольшая, то геодезическая подготовка данных осуществляется графическим методом по плану крупного масштаба.







Date: 2015-09-19; view: 1964; Нарушение авторских прав



mydocx.ru - 2015-2026 year. (1.251 sec.) Все материалы представленные на сайте исключительно с целью ознакомления читателями и не преследуют коммерческих целей или нарушение авторских прав - Пожаловаться на публикацию