Главная Случайная страница


Полезное:

Как сделать разговор полезным и приятным Как сделать объемную звезду своими руками Как сделать то, что делать не хочется? Как сделать погремушку Как сделать так чтобы женщины сами знакомились с вами Как сделать идею коммерческой Как сделать хорошую растяжку ног? Как сделать наш разум здоровым? Как сделать, чтобы люди обманывали меньше Вопрос 4. Как сделать так, чтобы вас уважали и ценили? Как сделать лучше себе и другим людям Как сделать свидание интересным?


Категории:

АрхитектураАстрономияБиологияГеографияГеологияИнформатикаИскусствоИсторияКулинарияКультураМаркетингМатематикаМедицинаМенеджментОхрана трудаПравоПроизводствоПсихологияРелигияСоциологияСпортТехникаФизикаФилософияХимияЭкологияЭкономикаЭлектроника






Перенесение главных и основных осей





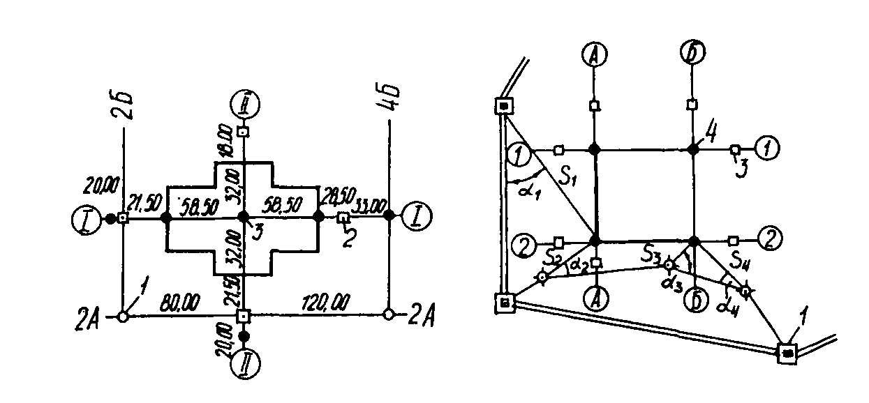
Перенесение на местность проекта здания или сооружения начинают с разбивки главных и основных осей по данным геодезической подготовки генплана (разбивочным чертежам, схемам), где указана их привязка к пунктам разбивочной основы. Главными осями или осями симметрии принято называть две взаимно перпендикулярные линии, относительно которых здание или сооружение располагается, симметрично. Основными осями здания или сооружения называют оси, образующие его контур в плане. В качестве главных осей линейных сооружений служат продольные оси этих сооружений. Главные и основные оси являются геодезической основой для последующих разбивочных работ. Оси разбивают от пунктов плановой разбивочной основы (красных линий, строительной сетки, пунктов полигонометрии и др.). Примеры разбивки главных и основных осей приведены на рис.

Схема разбивки, закрепления Схема перенесения и закрепления

и привязки главных осей: и привязки основных осей:

1 - пункты строительной сетки; 1- пункты полигонометрии

2 - постоянный знак закрепления; 2- точки теодолитных ходов

3 - металлический штырь 3- постоянные знаки закрепления

4- металлические штыри

Разбивку зданий и сооружений сложной в плане формы начинают с перенесения главных осей I—II, II—II, а зданий простой формы - с основных осей. В первом случае от опорного пункта переносят и закрепляют сначала одну из длинных главных осей. Затем путем промеров находят на ней точку 3 пересечения осей. Установив теодолит в точке 3, строят полным приемом два прямых угла и получают направление оси II—II. Основные оси здания разбивают, пользуясь отнесенными к главным осям координатами точек внешнего контура здания. Главные оси здания закрепляют на местности не менее чем в пяти точках. Закрепления должны быть тем надежнее, чем сложнее здание. Для этого применяют обрезки труб, рельсов, уголка, скобы с рисками. Их крепят на вблизи расположенных зданиях и сооружениях, лежащих на оси и ее продолжении. В простейших случаях - это деревянные столбы с гвоздем, забитым сверху, костыли, метки масляной краски на зданиях. Разбивку основных осей начинают от опорных пунктов с перенесения на местность двух крайних точек: А/2, Б/2, определяющих положение наиболее длинной продольной оси, от которой в последующем проводится дальнейшая разбивка. Построением полным приемом прямых углов в этих точках и отложением в полученном направлении проектной длины получают точки А/1 и Б/1. Для контроля измеряют линию А/1 и Б/1 и сравнивают с проектным значением. Перенесение осей осуществляется различными способами, в зависимости от рельефа местности, вида опорных пунктов, точности разбивочных работ.







Date: 2015-09-19; view: 1480; Нарушение авторских прав



mydocx.ru - 2015-2026 year. (0.625 sec.) Все материалы представленные на сайте исключительно с целью ознакомления читателями и не преследуют коммерческих целей или нарушение авторских прав - Пожаловаться на публикацию