Главная Случайная страница


Полезное:

Как сделать разговор полезным и приятным Как сделать объемную звезду своими руками Как сделать то, что делать не хочется? Как сделать погремушку Как сделать так чтобы женщины сами знакомились с вами Как сделать идею коммерческой Как сделать хорошую растяжку ног? Как сделать наш разум здоровым? Как сделать, чтобы люди обманывали меньше Вопрос 4. Как сделать так, чтобы вас уважали и ценили? Как сделать лучше себе и другим людям Как сделать свидание интересным?


Категории:

АрхитектураАстрономияБиологияГеографияГеологияИнформатикаИскусствоИсторияКулинарияКультураМаркетингМатематикаМедицинаМенеджментОхрана трудаПравоПроизводствоПсихологияРелигияСоциологияСпортТехникаФизикаФилософияХимияЭкологияЭкономикаЭлектроника






Система контроля





Мониторинг атмосферного воздуха — слежение за его состоянием и пре­дупреждение о критических ситуациях, вредных или опасных для здоровья людей и других живых организмов.

Для обеспечения мониторинга в развитых странах созданы автоматизи­рованные системы контроля загрязнения воздуха (АСКЗВ).

Задачи, решаемые АСКЗВ:

• автоматическое наблюдение и регистрация концентраций загрязняю­
щих веществ;

• анализ полученной информации с целью определения фактического
состояния загрязнения воздушного бассейна;

• принятие экстренных мер по борьбе с загрязнением;

• прогноз уровня загрязнения;

• выработка рекомендаций для улучшения состояния окружающей среды;

• уточнение и проверка расчетов рассеивания примесей.

АСКЗВ рассчитаны на измерение концентраций одного или нескольких ингредиентов из следующего ряда: SO2; CO; NOx; O3; CmHn; H2S; NH3; взве­шенных веществ, а также определения влажности, температуры, направле­ния и скорости ветра.

АСКЗВ оснащаются приборами на основе сенсоров. Различают элект­рохимические, амперометрические, полупроводниковые, пьезокварцевые, фотометрические сенсоры с использованием волоконной оптики и инди­каторных трубок, биосенсоры, сенсоры на поверхностно-активных волок­нах и др. АСКЗВ функционируют на уровне отдельных предприятий, го­рода, региона, а также на национальном и межгосударственном уровнях.

Центральная станция системы укомплектована вычислительным комп­лексом. Система имеет обратную связь с предприятиями-источниками за­грязнения атмосферного воздуха.

Частота фиксации результатов измерений — от 3 раз в сутки до 60 раз в час. Для передачи информации используются телефонные линии, УКВ-ра­диоканалы или телеграфный канал.

Станции, как правило, работают без обслуживающего персонала, все виды контроля осуществляются автоматически.

Развитие АСКЗВ происходит путем увеличения числа стационарных стан­ций и применения передвижных постов наблюдений. Дальнейшее совер-


210 Экология города

шенствование систем наблюдений осуществляется путем применения более современной техники, объединения отдельных локальных систем в регио­нальные, общегосударственные, интернациональные.

В Украине наблюдение за уровнем загрязнения атмосферы осуществляют с помощью постов.

Посты наблюдения размещаются в павильоне или на автомобиле, обору­дованном соответствующими приборами.

Установлено 3 категории постов наблюдений: стационарный, маршрут­ный и передвижной (подфакельный).

Стационарный пост предназначен для непрерывной регистрации содер­жания загрязняющих веществ или регулярного отбора проб воздуха для по­следующего анализа. Выделяются опорные стационарные посты — для выяв­ления долговременных изменений содержания основных и наиболее распро­страненных загрязняющих веществ.

Маршрутный пост предназначен для регулярного отбора проб воздуха в фиксированной точке местности при наблюдениях, которые проводят с по­мощью специально оборудованного автомобиля-лаборатории.

Передвижной (подфакельный) пост предназначен для отбора проб под дымовым факелом с целью выявления зоны влияния данного источника. Наблюдения под факелом производятся с помощью лаборатории, смонтиро­ванной в автомобиле. Подфакельные посты располагаются в определенных точках на фиксированных расстояниях от источника. Они перемещаются в соответствии с направлением факела обследуемого источника выброса.

Стационарные и маршрутные посты размещаются в местах, выбранных на основе предварительного исследования загрязнения атмосферы, как пра­вило, в центральной части населенного пункта, в жилых районах с различ­ным типом застройки, в первую очередь в наиболее загрязненных, на терри­ториях, прилегающих к магистралям наиболее интенсивного движения транс­порта, а также в зонах отдыха.

К числу наиболее загрязненных районов относят зоны наибольших мак­симальных разовых и среднесуточных концентраций, создаваемых выброса­ми промпредприятий (в радиусе 0,5—2 км от низких источников и 2—3 км от высоких).

Подфакельные посты размещают с учетом ожидаемых наибольших кон­центраций на расстояниях 0,5; 1; 2; 3; 10 км от границы санитарно-защитной зоны или источника загрязнения атмосферы с подветренной стороны от него. Направление факела определяется визуальными наблюдениями за очертания­ми облака дыма или по направлению ветра, если дымовое облако отсутствует.

Каждый пост независимо от категории размещается на открытой, про­ветриваемой со всех сторон площадке с непылящим покрытием (асфальт, твердый грунт, газон) таким образом, чтобы исключить искажение результа­тов измерений из-за наличия зеленых насаждений, зданий и других объектов.



Раздел 4. Воздушная среда города 211

Необходимое количество постов устанавливается в зависимости от чис­ленности населения, площади населенного пункта, рельефа местности, осо­бенностей размещения и уровня развития промышленных предприятий, рас­положения магистралей с интенсивным движением, расположения мест от­дыха и курортных зон, метеоусловий.

Оптимальное количество постов, обеспечивающих минимальные затраты при заданной погрешности наблюдений в зависимости от численности населе­ния города, следующее: до 50 тыс. жителей — 1 пост; до 100 тыс. — 2 поста; 100—200 тыс. — 2—3 поста; 200—500 тыс. — 3—5 постов; более 500 тыс. — 5—10 постов; более 1 млн жителей — 10—20 стационарных и маршрутных постов.

Расстояние между стационарными постами составляет от 0,5 до 5 км.

Уровень загрязнения атмосферы оценивается по данным наблюдений за год. При этом количество наблюдений должно быть не менее 200. Чтобы учесть колебания метеорологических условий и получить более достоверные сведе­ния об уровне загрязнения используются данные наблюдений за период 2—5 лет. Общее число наблюдений за рассматриваемый период — не менее 800.

Перечень веществ, подлежащих контролю, определяется по составу вы­бросов предприятий города. Далее оценивается возможность превышения ПДК этих веществ. Окончательно список веществ, подлежащих контролю, уточня­ется по величине параметра потребления воздуха (ПВ). Этот показатель ха­рактеризует расход воздуха, необходимый для разбавления выбросов /-го ве­щества А/, до уровня концентрации qj или до уровня ПДК(.

Реальный ПВ: ПВ. = MJqr Требуемый ПВ: ПВТІ = М^ПДК,

где А/. — суммарное количество выбросов /-ой примеси от всех источников, расположенных на территории города, т/год; qt — концентрация /-ой приме­си, установленная по данным расчетов или наблюдений, мг/м3.

Если ПВП > ПВ,, то ожидаемая концентрация примеси в воздухе может быть равна ПДК или превысит ее и, следовательно, /-ая примесь должна контролироваться.

Дополнительно в обязательный список контролируемых веществ вклю­чаются: бенз(а)пирен растворимые сульфаты — в городах с населением более 100 тыс. жителей; формальдегид и соединения свинца — в городах с населе­нием более 500 тыс. жителей; металлы — в городах с предприятиями черной и цветной металлургии; пестициды — в городах, расположенных вблизи сель­скохозяйственных территорий. Перечень контролируемых веществ пересмат­ривается не реже одного раза в 3 года.

При подфакельных наблюдениях выполняется контроль за специфи­ческими загрязняющими веществами, характерными для выбросов данно­го предприятия.



Экология города


4.5.2. Методы контроля и приборы для измерения концентрации примесей в атмосфере и в промышленных выбросах

Контроль концентрации примесей сводится к отбору пробы воздуха или дымового газа, подготовке и проведению анализов отобранных проб, обра­ботке и обобщению результатов анализов.

Используются следующие режимы отбора проб:

• разовый, продолжительностью 20—30 мин;

• дискретный, при котором в один поглотительный прибор или фильтр
через равные промежутки времени в течение суток отбирают несколько
разовых проб;


• суточный, при котором в один поглотительный прибор или фильтр про­
изводится отбор проб в течение суток непрерывно.

Отбор проб осуществляется путем аспирации определенного объема воз­духа через поглотительный прибор, заполненный жидким или твердым сор­бентом для улавливания газообразного вещества, или аэрозольный фильтр, задерживающий твердые частицы. Тип поглотительного прибора, расход воз­духа и продолжительность его аспирации устанавливаются в зависимости от контролируемого вещества.

При определении приземной концентрации примеси в атмосфере отбор проб проводится на высоте 1,5—2 м от поверхности земли.

Для отбора проб используются электроаспираторы (рис. 4.17), снабжен­ные автономным источником питания.



 


Рис. 4.17. Принципиальная схема электроаспиратора:

1 - ротационный насос; 2 - ротаметры; 3 - регулирующие вентили; 4 - реле времени

Для контроля содержания твердых частиц и аэрозолей используются гра­виметрический (весовой) и оптический методы анализов.

Гравиметрический {весовой) метод заключается в выделении частиц пыли из пылегазового потока путем прокачивания его через фильтр. Масса пыли,


Раздел 4. Воздушная среда города



находящаяся в исследуемом потоке газа, определяется как разница веса фильтра до и после анализа.

Концентрация пыли определяется по формуле: С = m/Qr, мг/м3, где т — масса пробы пыли, мг; Q — расход воздуха, пропущенного через пробоотборное устройство, м3/с; т — время отбора пробы, с.

Весовой метод позволяет получить концентрацию пыли без учета ее хи­мического и дисперсного состава.

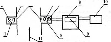
Оптический метод основан на определении непрозрачности (дымности) воздуха или дымовых газов. Метод основан на просвечивании газов с после­дующим преобразованием оптического сигнала в электрический, проведении коррекции показателя по заданному алгоритму ослабления светового луча и преобразования его в показатель непрозрачности (рис. 4.18).


7 6

3 4

 

 


Рис. 4.18. Принципиальная схема измерителя непрозрачности:

1 — источник света; 2 — электрическая лампочка; 3 — объектив; 4 — защитное стекло; 5 — светоприемник; 6 — фотодиод; 7 — линза; 8 — блок преобразования информации; 9 — цифровой вольтметр; 10 — блок питания

Непрерывный контроль содержания вредных примесей в воздухе произ­водится с помощью газоанализаторов типа УГ-2, ГХ-2 и др., принцип работы которых основан на линейноколористическом методе анализа.

При просасывании воздуха через индикаторные трубки газоанализатора, заполненные твердым веществом-поглотителем, происходит изменение ок­раски индикаторного порошка. Длина окрашенного слоя пропорциональна концентрации исследуемого вещества. Газовый анализатор УГ-2 позволяет определять концентрацию 16 различных газов и паров с погрешностью, не превышающей ± 10% от верхнего предела каждой шкалы.


В термокондуктометрическом газоанализаторе используют отличие теп­лопроводности анализируемого компонента от теплопроводности других ком­понентов. При наличии в дымовых газах примесей, близких по теплопровод­ности к определяемой, их удаляют из анализируемой пробы путем поглоще­ния или сжигания.

Термохимические газоанализаторы применяются для анализа горючих компонентов газовой смеси. С их помощью определяют более 100 наимено­ваний горючих газов, паров и их смесей.


214 Экология города

Работа термомагнитных газоанализаторов основана на движении в не­однородном магнитном поле при наличии температурного градиента па­рамагнитных частиц — молекул кислорода и оксидов азота. Это явление называется термомагнитной конвекцией. Изменения температуры, давле­ния и расхода анализируемой газовой смеси могут оказывать влияние на результаты измерения.

Принцип действия оптических газоанализаторов основан на особеннос­тях поглощения — излучения отдельных компонентов газовой смеси. К ним относятся газоанализаторы оптико-акустические, фотоколометрические, хе-милюминесцентные и лазерные.

В оптико-акустических газоанализаторах, предназначенных для анализа многоатомных газов, используются свойства газов поглощать лучистую энер­гию при определенных длинах волн, соответствующих их полосам спектра поглощения. Амплитуда колебаний зависит от концентрации анализируемо­го компонента в измерительной камере.

В хемилюминесцентных газоанализаторах используется зависимость ин­тенсивности люминесцентного излучения, возникающего в результате хими­ческой реакции анализируемого компонента с реагентом, от концентрации этого компонента. Применяются для измерения очень малых концентраций О3, NOx и других веществ.

Лазерный газоанализатор использует особенности поглощения метаном излучения при длине волны, совпадающей с одной из длин волн спектра излучения метана.

В электрохимических газоанализаторах выходной сигнал зависит от электрохимических явлений, протекающих в электродных системах при наличии анализируемого компонента. Из электрохимических наибольшее распространение получили вольтамперометрические и кулонометрические газоанализаторы.

В вольтамперометрических газоанализаторах значение тока в электродной цепи зависит от содержания деполяризующего компонента, например, кис­лорода, в щелочном гальваническом элементе.

В кулонометрических газоанализаторах содержание анализируемого ком­понента определяется по количеству электричества, израсходованного при электролизе вещества, вступающего в реакцию с анализируемым. Значение тока, при котором обеспечивается нейтрализация раствора с анализируемым компонентом, и служит величиной концентрации этого компонента.

К электрохимическим может быть отнесен и плазменно-ионизационный газоанализатор, в котором концентрация анализируемого комплекса опреде­ляется по ионизационному току, образующемуся в водородном пламени вслед­ствие ионизации молекул органических соединений.

Хроматографы относятся к анализаторам, которые могут проводить од­новременно качественный и количественный анализ газообразных и жидких сред. Принцип действия основан на разделении газовых смесей на отдельные компоненты при движении вдоль поверхности сорбента, последующей идеи-


Раздел 4. Воздушная среда города 215

тификации компонентов и определения их содержания в смеси. Этот метод может быть использован для определения содержания любых газов с концен­трацией до Ю"5— 10~6 %. Хроматографы — приборы периодического действия с временем анализа 10—20 минут.

Качественный и количественный анализ может одновременно проводиться на масс-спектрометрах с разделением ионов по времени пролета. Эти более сложные, чем хроматографы, приборы обеспечивают непрерывное измере­ние состава газовоздушной смеси.







Date: 2015-09-02; view: 829; Нарушение авторских прав



mydocx.ru - 2015-2026 year. (1.124 sec.) Все материалы представленные на сайте исключительно с целью ознакомления читателями и не преследуют коммерческих целей или нарушение авторских прав - Пожаловаться на публикацию