Ãëàâíàÿ Ñëó÷àéíàÿ ñòðàíèöà


Ïîëåçíîå:

Êàê ñäåëàòü ðàçãîâîð ïîëåçíûì è ïðèÿòíûì Êàê ñäåëàòü îáúåìíóþ çâåçäó ñâîèìè ðóêàìè Êàê ñäåëàòü òî, ÷òî äåëàòü íå õî÷åòñÿ? Êàê ñäåëàòü ïîãðåìóøêó Êàê ñäåëàòü òàê ÷òîáû æåíùèíû ñàìè çíàêîìèëèñü ñ âàìè Êàê ñäåëàòü èäåþ êîììåð÷åñêîé Êàê ñäåëàòü õîðîøóþ ðàñòÿæêó íîã? Êàê ñäåëàòü íàø ðàçóì çäîðîâûì? Êàê ñäåëàòü, ÷òîáû ëþäè îáìàíûâàëè ìåíüøå Âîïðîñ 4. Êàê ñäåëàòü òàê, ÷òîáû âàñ óâàæàëè è öåíèëè? Êàê ñäåëàòü ëó÷øå ñåáå è äðóãèì ëþäÿì Êàê ñäåëàòü ñâèäàíèå èíòåðåñíûì?


Êàòåãîðèè:

ÀðõèòåêòóðàÀñòðîíîìèÿÁèîëîãèÿÃåîãðàôèÿÃåîëîãèÿÈíôîðìàòèêàÈñêóññòâîÈñòîðèÿÊóëèíàðèÿÊóëüòóðàÌàðêåòèíãÌàòåìàòèêàÌåäèöèíàÌåíåäæìåíòÎõðàíà òðóäàÏðàâîÏðîèçâîäñòâîÏñèõîëîãèÿÐåëèãèÿÑîöèîëîãèÿÑïîðòÒåõíèêàÔèçèêàÔèëîñîôèÿÕèìèÿÝêîëîãèÿÝêîíîìèêàÝëåêòðîíèêà






Óë âõ âûõ^ âõ *^âõ âûõ ^*âûõ . âûõ *^âûõ





4 Ì Ì Ñ Q Ñ Q

Âõ âõ âõ^âõ âõ^âõ

ãäå Ì, Ìâõ, Ìúûõ — ñîîòâåòñòâåííî êîëè÷åñòâî óëîâëåííîãî â àïïàðàòå, âõî­äÿùåãî è âûõîäÿùåãî èç àïïàðàòà çàãðÿçíÿþùåãî âåùåñòâà, êã/ñ; Ñâõ, Ñøõ — êîíöåíòðàöèÿ çàãðÿçíÿþùåãî âåùåñòâà â åäèíèöå îáúåìà ñóõîãî ãàçà ñîîò­âåòñòâåííî íà âõîäå è âûõîäå èç àïïàðàòà, ã/ì3; Qbx, (?âûõ — ðàñõîä ãàçà ñîîò­âåòñòâåííî íà âõîäå è âûõîäå èç àïïàðàòà, ì3.

Ïðè ðàáîòå ãàçîî÷èñòíîãî àïïàðàòà áåç óòå÷åê è ïîäñîñîâ âîçäóõà, ñóùå­ñòâåííîãî èçìåíåíèÿ òåìïåðàòóðû, äàâëåíèÿ è âëàæíîñòè î÷èùàåìîãî ãàçà ñòåïåíü î÷èñòêè îïðåäåëÿåòñÿ ñëåäóþùèì îáðàçîì:

Âûõ


Ðàçäåë 4. Âîçäóøíàÿ ñðåäà ãîðîäà



Êîýôôèöèåíò ïðîñêîêà — îòíîøåíèå êîëè÷åñòâà çàãðÿçíÿþùåãî âåùå­ñòâà, âûõîäÿùåãî ñ âûáðîñàìè èç àïïàðàòà ïûëåãàçîî÷èñòêè, ê êîëè÷åñòâó, ïîñòóïèâøåìó â íåãî:

Ì

ïð Ì ' *

Âõ

Ñòåïåíü (ýôôåêòèâíîñòü) î÷èñòêè è êîýôôèöèåíò ïðîñêîêà âûðàæàþòñÿ â äîëÿõ åäèíèöû èëè â %.

Ýôôåêòèâíîñòü óëàâëèâàíèÿ ÷àñòèö ïûëè (ñòåïåíü î÷èñòêè) çàâèñèò îò åå äèñïåðñíîãî ñîñòàâà.  ïåðâóþ î÷åðåäü óëàâëèâàþòñÿ êðóïíûå ÷àñòèöû ïûëè. Ýôôåêòèâíîñòü ïûëåóëàâëèâàþùåãî îáîðóäîâàíèÿ õàðàêòåðèçóåòñÿ äî­ñòèãàåìîé ôðàêöèîííîé èëè ïàðöèàëüíîé ñòåïåíüþ î÷èñòêè.

Ôðàêöèîííàÿ ñòåïåíü î÷èñòêè — îòíîøåíèå êîëè÷åñòâà ïûëè äàííîé ôðàê­öèè, óëîâëåííîé â àïïàðàòå, ê êîëè÷åñòâó âõîäÿùåé ïûëè òîé æå ôðàêöèè.

Ïàðöèàëüíàÿ ñòåïåíü î÷èñòêè — îòíîøåíèå êîëè÷åñòâà ÷àñòèö äàííîãî
ðàçìåðà, óëîâëåííûõ â àïïàðàòå, ê êîëè÷åñòâó ÷àñòèö äàííîãî ðàçìåðà íà
âõîäå â àïïàðàò.,...

Íàèáîëåå øèðîêî â ïðàêòèêå ïðèìåíÿþòñÿ àïïàðàòû ñóõîé èíåðöèîííîé î÷èñòêè ãàçîâ. Ïðèíöèï äåéñòâèÿ ýòèõ àïïàðàòîâ ñîñòîèò â îñàæäåíèè ïûëè â ðåçóëüòàòå èçìåíåíèÿ íàïðàâëåíèÿ è ñêîðîñòè äâèæåíèÿ ñ÷èùàåìîãî ãàçî­âîãî ïîòîêà è óäàðåíèÿ ÷àñòèö ïûëè î ñòåíêè è ïîïåðå÷íûå ïðåãðàäû. Ýòè àïïàðàòû îòëè÷àþòñÿ ïðîñòîòîé êîíñòðóêöèè è èçãîòîâëåíèÿ.

Ïðîñòåéøèìè óñòàíîâêàìè äëÿ óëàâëèâàíèÿ êðóïíîäèñïåðñíîé ïûëè, ðà­áîòàþùèìè ïî ïðèíöèïó ãðàâèòàöèîííîãî îñàæäåíèÿ, ÿâëÿþòñÿ ïûëåîñàäèòåëü-íûå êàìåðû. Îíè èñïîëüçóþòñÿ â êà÷åñòâå ïåðâîé ñòóïåíè î÷èñòêè ãàçîâ äëÿ óëàâëèâàíèÿ íàèáîëåå êðóïíûõ ÷àñòèö (30—100 ìêì), ïîçâîëÿþò èçáåæàòü îñàæ­äåíèÿ ïûëè â ãàçîõîäàõ è ñíèæàþò íàãðóçêó íà ïîñëåäóþùèå ñòóïåíè î÷èñòêè.

Ðèñ. 4.7. Ïûëåîñàäèòåëüíàÿ êàìåðà: 1— âõîäíîé ïàòðóáîê; 2 — êîðïóñ; 3 — âûõîäíîé ïàòðóáîê; 4 — áóíêåðà äëÿ ïûëè

Óñòðîéñòâî è ïðèíöèï äåéñòâèÿ ïûëåîñàäèòåëüíîé êàìåðû ïîêàçàíû íà ðèñ. 4.7. Ñòåïåíü î÷èñòêè çàâèñèò îò âðåìåíè ïðåáûâàíèÿ ÷àñòèö â êàìåðå. ×àñòèöû, äâèæóùèåñÿ â ãàçîâîì ïîòîêå, îïóñêàþòñÿ ïîä äåéñòâèåì ñèëû òÿ­æåñòè íà äíî áóíêåðà. Ñêîðîñòü ãàçîâîãî ïîòîêà â ïûëåîñàäèòåëüíîé êàìåðå íå äîëæíà âûçûâàòü óíîñà îñåâøèõ ÷àñòèö ïûëè.  çàâèñèìîñòè îò ïëîòíîñ­òè, ôîðìû è ðàçìåðà ÷àñòèö îíà ñîñòàâëÿåò 1,7—7,0 ì/ñ.



Ýêîëîãèÿ ãîðîäà


Ê ÷èñëó ñóõèõ èíåðöèîííûõ ïûëåóëîâèòåëåé îòíîñÿòñÿ æàëþçèéíûå, âåí­òèëÿòîðíûå è ðàäèàëüíûå ïûëåóëîâèòåëè. Îíè ýôôåêòèâíî óëàâëèâàþò ÷àñ­òèöû ðàçìåðîì îò 20—30 ìêì. Áîëåå òîíêàÿ î÷èñòêà îò ïûëè îáåñïå÷èâàåòñÿ ñ ïîìîùüþ öèêëîíîâ. Öèêëîí — îäèí èç øèðîêî ðàñïðîñòðàíåííûõ ïûëå­óëàâëèâàþùèõ àïïàðàòîâ, ïðåäíàçíà÷åííûé äëÿ óëàâëèâàíèÿ ÷àñòèö ðàçìå­ðîì 5—20 ìêì è áîëåå.

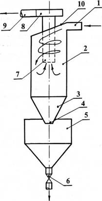
Óñòðîéñòâî è ïðèíöèï äåéñòâèÿ öèêëîíà ïîêàçàíû íà ðèñ. 4.8.

Ðèñ. 4.8. Öèêëîí:

1 — âõîäíîé ïàòðóáîê; 2 — öèëèíäðè÷åñêàÿ ÷àñòü êîðïóñà; 3 — êîíè÷åñêàÿ ÷àñòü êîð­ïóñà; 4 — ïûëåâûïóñêíîå îòâåðñòèå; 5 — áóíêåð äëÿ ïûëè; 6 — ïûëåâîé çàòâîð; 7 — âûõëîïíàÿ òðóáà; 8 — ðàñêðó÷èâàþùàÿ óëèòêà; 9 — âûõîäíîé ïàòðóáîê; 10 — íà­êëîííàÿ êðûøêà

Âðàùåíèå ãàçîâîãî ïîòîêà äîñòèãàåòñÿ ïóòåì åãî òàíãåíöèàëüíîãî ââîäà â öèêëîí èëè ïóòåì èñïîëüçîâàíèÿ ñïåöèàëüíîãî çàâèõðèòåëÿ.  ðåçóëüòàòå äåéñòâèÿ öåíòðîáåæíûõ ñèë ÷àñòèöû ïûëè, âçâåøåííûå â ïîòîêå ãàçà, îòáðà­ñûâàþòñÿ íà ñòåíêè êîðïóñà öèêëîíà è âûïàäàþò èç ïîòîêà. Î÷èùàåìûé ïîòîê ãàçà, îñâîáîæäåííûé îò ïûëè, ïðîäîëæàÿ âðàùàòüñÿ, èçìåíÿåò íàïðàâ-


Ðàçäåë 4. Âîçäóøíàÿ ñðåäà ãîðîäà 201

ëåíèå äâèæåíèÿ íà 180° è âûõîäèò èç öèêëîíà ÷åðåç ðàñïîëîæåííóþ íà îñè âûõëîïíóþ òðóáó. ×àñòèöû ïûëè, äîñòèãøèå ñòåíîê êîðïóñà, îïóñêàþòñÿ ïîä äåéñòâèåì ñèëû òÿæåñòè è ïîñòóïàþò â áóíêåð. Ïî ìåðå íàïîëíåíèÿ áóíêåðà ïûëü ÷åðåç ïûëåâîé çàòâîð îòãðóæàåòñÿ íà óòèëèçàöèþ èëè çàõîðîíåíèå. Î÷èùåííûé âîçäóõ ÷åðåç âûõîäíîé ïàòðóáîê îòâîäèòñÿ èç öèêëîíà.

Ðåêîìåíäóåìàÿ ñêîðîñòü ãàçà â öèëèíäðè÷åñêîé ÷àñòè öèêëîíà — 2,5— 4,5 ì/ñ.

Äèàìåòð öèêëîíà íå ñëåäóåò çàäàâàòü áîëåå 1000 ìì. Äëÿ ïîâûøåíèÿ ýôôåêòèâíîñòè î÷èñòêè öèêëîíû êîìïîíóþò â ãðóïïû ñ îáùèì ïîäâîäîì è îòâîäîì î÷èùàåìîãî âîçäóõà. Òàêèå öèêëîíû íàçûâàþò áàòàðåéíûìè. Ýòèì äîñòèãàåòñÿ ñóùåñòâåííàÿ ýêîíîìèÿ êàïèòàëüíûõ è ýêñïëóàòàöèîí­íûõ çàòðàò.


Ê âûñîêîýôôåêòèâíûì òèïàì àïïàðàòîâ ñóõîé î÷èñòêè ãàçîâ îòíîñÿòñÿ ôèëüòðû.

 îñíîâå ðàáîòû ôèëüòðîâ âñåõ âèäîâ ëåæèò ôèëüòðàöèÿ çàïûëåííîãî âîçäóõà ÷åðåç ïîðèñòóþ ïåðåãîðîäêó, â ïðîöåññå êîòîðîé ÷àñòèöû ïûëè, âçâå­øåííûå â ãàçå, çàäåðæèâàþòñÿ ïåðåãîðîäêîé, à ãàç áåñïðåïÿòñòâåííî ïðîõî­äèò ÷åðåç íåå.

Ïîðèñòûå ïåðåãîðîäêè ìîãóò ïðåäñòàâëÿòü ñîáîé òêàíè, áóìàãó, âîëîê­íèñòûå ìàòåðèàëû, êåðàìèêó, ìåòàëëè÷åñêèå ñåòêè, çåðíèñòûå ñëîè.

 îòëè÷èå îò àïïàðàòîâ èíåðöèîííîé î÷èñòêè ôèëüòðû ìîãóò ñ äîñ­òàòî÷íîé ýôôåêòèâíîñòüþ çàäåðæèâàòü ÷àñòèöû ëþáîãî ðàçìåðà. Íàèáî­ëåå öåëåñîîáðàçíî èñïîëüçîâàòü ôèëüòðû äëÿ óëàâëèâàíèÿ ÷àñòèö ïûëè ðàçìåðîì ìåíåå 5 ìêì.

Ñêîðîñòü ïðîöåññà ôèëüòðîâàíèÿ îïðåäåëÿåòñÿ ïåðåïàäîì äàâëåíèÿ íà ïîðèñòîé ïåðåãîðîäêå. Ïî ìåðå íàêîïëåíèÿ íà ôèëüòðå ÷àñòèö ïûëè ñêî­ðîñòü ïðîõîæäåíèÿ ãàçà ïîñòåïåííî ñíèæàåòñÿ. Ïåðåãîðîäêó íåîáõîäèìî ïå­ðèîäè÷åñêè ïîäâåðãàòü ðåãåíåðàöèè ïóòåì îñâîáîæäåíèÿ îò óëîâëåííîé ïûëè. Ýòî ñóùåñòâåííî îñëîæíÿåò ýêñïëóàòàöèþ ôèëüòðîâ.

Ñòåïåíü î÷èñòêè ãàçà â ôèëüòðå çàâèñèò îò ïîðèñòîñòè ôèëüòðóþùåãî ìàòåðèàëà, òîëùèíû ôèëüòðóþùåãî ñëîÿ, îáúåìà ôèëüòðîâàëüíîãî ìàòåðèà­ëà â åäèíèöå îáúåìà ôèëüòðà è ñóììàðíîãî êîýôôèöèåíòà çàõâàòà ÷àñòèöû ïûëè ôèëüòðóþùèì âîëîêíîì, âåëè÷èíà êîòîðîãî â ñâîþ î÷åðåäü çàâèñèò îò ìåõàíèçìà ïðîöåññà ôèëüòðîâàíèÿ.

Òêàíåâûå ôèëüòðû ïðåäíàçíà÷åíû äëÿ î÷èñòêè èõ îò òâåðäûõ ÷àñòèö îòõîäÿùèõ ãàçîâ ïëàâèëüíûõ ïå÷åé ïðåäïðèÿòèé ÷åðíîé è öâåòíîé ìåòàë­ëóðãèè, ïå÷åé îáæèãà â ñòåêîëüíîé è êåðàìè÷åñêîé ïðîìûøëåííîñòè è êîòåëüíûõ.  êà÷åñòâå ôèëüòðóþùåãî ìàòåðèàëà ïðèìåíÿþò áåëüòèíã, ëàâ­ñàí, êàïðîí è äð.

Íàèáîëåå ðàñïðîñòðàíåííûì òèïîì òêàíåâîãî ôèëüòðà ÿâëÿåòñÿ ðóêàâ­íûé ôèëüòð (ðèñ. 4.9).



Ýêîëîãèÿ ãîðîäà



 


Ðèñ. 4.9. Ðóêàâíûé ôèëüòð:

1 — âõîä çàïûëåííîãî ãàçà; 2 — ðóêàâà; 3 — êîðïóñ ôèëüòðà; 4 — âîçäóõîâîä î÷èùåííîãî ãàçà; 5 — âîçäóõîâîä ïðîäóâî÷íîãî âîçäóõà; 6 — ìåõàíèçì âñòðÿõèâàíèÿ; 7 — êëàïàíû; 8 — áóíêåð äëÿ ñáîðà ïûëè

Çàïûëåííûé ãàç, ïîñòóïàþùèé ÷åðåç âõîäíîé ïàòðóáîê â íèæíþþ ÷àñòü êîðïóñà ôèëüòðà, ïîäâîäèòñÿ âíóòðü ðóêàâîâ. Ïîñëå ïðîõîæäåíèÿ ÷åðåç ôèëü­òðóþùóþ òêàíü î÷èùåííûé âîçäóõ óäàëÿåòñÿ èç àïïàðàòà.

×àñòèöû ïûëè îñåäàþò íà ôèëüòðóþùåé ïîâåðõíîñòè ðóêàâà, â ðåçóëüòà­òå ÷åãî åãî ñîïðîòèâëåíèå ïîñòåïåííî óâåëè÷èâàåòñÿ. Êîãäà îíî äîñòèãàåò íåêîòîðîãî ïðåäåëüíîãî çíà÷åíèÿ, ôèëüòð ïåðåâîäèòñÿ â ðåæèì ðåãåíåðàöèè. Íàèáîëåå ÷àñòî ðåãåíåðàöèÿ îñóùåñòâëÿåòñÿ îáðàòíîé ïðîäóâêîé. Äëÿ ïîâû­øåíèÿ ýôôåêòèâíîñòè ðåãåíåðàöèè ðóêàâîâ èõ ìîãóò âñòðÿõèâàòü ïðè ïîìî­ùè ñïåöèàëüíûõ ìåõàíèçìîâ.

Êàìåðû ôèëüòðà ïåðåâîäÿò â ðåæèì ðåãåíåðàöèè ïî î÷åðåäè è òàêèì îáðàçîì îáåñïå÷èâàþò åãî íåïðåðûâíóþ ðàáîòó.

Ñòåïåíü î÷èñòêè îò ìåëêîäèñïåðñíîé ïûëè â ðóêàâíîì ôèëüòðå ìîæåò äîñòèãàòü 99,9%. Ñêîðîñòü ïðîõîæäåíèÿ î÷èùàåìîãî ãàçà ÷åðåç ôèëüòðóþ­ùóþ òêàíü ñîñòàâëÿåò 0,5—1 ì/ñ.

Âîëîêíèñòûå ôèëüòðû ïðåäíàçíà÷åíû äëÿ î÷èñòêè îò ïûëè ñëàáîçàïû-ëåííûõ ïîòîêîâ âîçäóõà ñ êîíöåíòðàöèåé ïûëè íå áîëåå 5 ìã/ì3. Îíè ïðåä­ñòàâëÿþò ñîáîé ïîðèñòûå ïåðåãîðîäêè, ñîñòàâëåííûå èç áåñïîðÿäî÷íî ðàñ­ïîëîæåííûõ ðàâíîìåðíî ðàñïðåäåëåííûõ ïî ñå÷åíèþ âîëîêîí (ðèñ. 4.10).


Ðàçäåë 4. Âîçäóøíàÿ ñðåäà ãîðîäà 203




|\\\\\\\\\\\\\\\\\\\\\\\\\Ó1

\\\ \\\\\\\\\\\«\\\\\\ \\w\\\i

 


Ðèñ. 4.10. Âîëîêíèñòûé ôèëüòð:

1 — âõîä ãàçà; 2 — âûõîä ãàçà; 3 — áîêîâàÿ ñòåíêà; 4 — ôèëüòðóþùèé ìàòåðèàë

Èç-çà ãëóáîêîãî ïðîíèêíîâåíèÿ óëàâëèâàåìûõ ÷àñòèö ïûëè âãëóáü ïîðèñ­òîãî ìàòåðèàëà ðåãåíåðàöèÿ âîëîêíèñòûõ ôèëüòðîâ çàòðóäíåíà. Ïî îêîí÷àíèè ñðîêà ñëóæáû îòðàáîòàâøèé ôèëüòðóþùèé ìàòåðèàë îáû÷íî çàìåíÿåòñÿ íîâûì.

 âîëîêíèñòûõ ôèëüòðàõ èñïîëüçóþòñÿ êàê åñòåñòâåííûå, òàê è ñïåöè­àëüíî èçãîòîâëåííûå âîëîêíà òîëùèíîé îò 0,01 äî 100 ìêì (îòõîäû òåê­ñòèëüíîãî ïðîèçâîäñòâà, øëàêîâàÿ âàòà, ñòåêëîâîëîêíî è äð.). Ñòåïåíü î÷èñ­òêè ïðè óëàâëèâàíèè ìåëêîäèñïåðñíîé ïûëè ìîæåò äîñòèãàòü 99%. Ðåêîìåí­äóåìàÿ ñêîðîñòü ôèëüòðàöèè — 0,01 — 0,1 ì/ñ.

Çåðíèñòûå ôèëüòðû ïðèìåíÿþòñÿ ïðè î÷èñòêå ãàçîâ ñ âûñîêèìè òåìïåðàòó­ðàìè (äî 500—800° Ñ) â óñëîâèÿõ àãðåññèâíîé ñðåäû ïðè ðåçêèõ èçìåíåíèÿõ äàâëåíèÿ è òåìïåðàòóðû. Îíè ïðåäñòàâëÿþò ñîáîé åìêîñòü, çàïîëíåííóþ ôèëü­òðóþùèì ìàòåðèàëîì, â êà÷åñòâå êîòîðîãî ìîãóò áûòü ïðèìåíåíû ïåñîê, ùå­áåíü, øëàê, îïèëêè, êðîøêà ðóäû, óãëÿ, ãðàôèòà, ïëàñòìàññ è äð.  êà÷åñòâå ôèëüòðóþùåãî ñëîÿ â çåðíèñòûõ ôèëüòðàõ èñïîëüçóþòñÿ íàñûïíûå ìàòåðèàëû.

Çåðíèñòûå ôèëüòðû ïðèìåíÿþòñÿ äëÿ óëàâëèâàíèÿ ñëèïàþùèõñÿ è àá­ðàçèâíûõ ïûëåé â òåõ ñëó÷àÿõ, êîãäà çàòðóäíåíî ïðèìåíåíèå àïïàðàòîâ äðóãîãî òèïà.

 íåêîòîðûõ ñëó÷àÿõ â çåðíèñòûõ ôèëüòðàõ âîçìîæåí âîçâðàò ôèëüòðóþ­ùåãî ñëîÿ â òåõíîëîãè÷åñêèé ïðîöåññ, åñëè â êà÷åñòâå çåðåí èñïîëüçóåòñÿ èñõîäíîå ñûðüå (÷àñòèöû óãëÿ, èñïîëüçóåìûå â êà÷åñòâå çåðåí ôèëüòðà ïðè î÷èñòêå âîçäóõà îò óãîëüíîé ïûëè, ìîæíî âîçâðàùàòü â òîïêó êîòëà).

Ðàçíîâèäíîñòüþ çåðíèñòûõ ôèëüòðîâ ÿâëÿþòñÿ ôèëüòðû ñîðáöèîííîé î÷èñòêè, ãäå â êà÷åñòâå ôèëüòðóþùåé çàãðóçêè èñïîëüçóþòñÿ êàòàëèçàòîðû è ñîðáåíòû. Ñîðáöèîííûå ôèëüòðû ïðåäíàçíà÷åíû äëÿ óëàâëèâàíèÿ ãàçîîá­ðàçíûõ ïðèìåñåé.

 çàâèñèìîñòè îò âèäà óëàâëèâàåìîé ïûëè è çåðåí ôèëüòðà ñòåïåíü î÷è­ñòêè ìîæåò äîñòèãàòü 95—99,5%, ñêîðîñòü ôèëüòðàöèè — 15 — 35 ì/ñ.



Ýêîëîãèÿ ãîðîäà


Ýëåêòðîôèëüòðû ïðåäíàçíà÷åíû äëÿ î÷èñòêè ïðîìûøëåííûõ ãàçîâ îò òâåðäûõ ÷àñòèö, âûäåëÿþùèõñÿ ïðè ðàçëè÷íûõ òåõíîëîãè÷åñêèõ ïðîöåññàõ. Ýòè àïïàðàòû íåçàìåíèìû ïðè î÷èñòêå âûáðîñîâ öåìåíòíûõ, èçâåñòêîâûõ, ãèïñîâûõ è äðóãèõ ïðîèçâîäñòâ, ãäå ñîäåðæàòñÿ ïûëåâèäíûå ÷àñòèöû, ïîä­âåðæåííûå ñõâàòûâàíèþ ïðè êîíòàêòàõ ñ âëàãîé. Óëîâëåííàÿ â ýëåêòðî­ôèëüòðàõ ïûëü ÿâëÿåòñÿ öåííûì ãîòîâûì ïðîäóêòîì èëè âòîðè÷íûì ìèíå­ðàëüíûì ñûðüåì.

Ê ïðåèìóùåñòâàì ýëåêòðîôèëüòðîâ îòíîñèòñÿ âûñîêàÿ ñòåïåíü î÷èñòêè, äîñòèãàþùàÿ 99%, âîçìîæíîñòü óëàâëèâàíèÿ ÷àñòèö øèðîêîãî äèàïàçîíà ðàçìå­ðîâ, ñòàáèëüíàÿ ðàáîòà ïðè âûñîêîé çàïûëåííîñòè è òåìïåðàòóðå ãàçà, âûñîêàÿ ïðîèçâîäèòåëüíîñòü è âîçìîæíîñòü ïîëíîé àâòîìàòèçàöèè ïðîöåññà î÷èñòêè.

Ê íåäîñòàòêàì ýëåêòðîôèëüòðîâ ñëåäóåò îòíåñòè âûñîêóþ ÷óâñòâèòåëü­íîñòü ê ïàðàìåòðàì î÷èùàåìîãî ãàçà (òåìïåðàòóðà, âëàæíîñòü, ýëåêòðè÷åñêîå ñîïðîòèâëåíèå), íåâîçìîæíîñòü èñïîëüçîâàíèÿ äëÿ î÷èñòêè âçðûâî- è ïîæà­ðîîïàñíûõ ñìåñåé, îòíîñèòåëüíî âûñîêóþ ñòîèìîñòü àïïàðàòà è ïîâûøåí­íûå òðåáîâàíèÿ ê òåõíèêå áåçîïàñíîñòè ïðè ýêñïëóàòàöèè.


Óñòàíîâêà äëÿ ýëåêòðîñòàòè÷åñêîé î÷èñòêè âûáðîñîâ ñîñòîèò èç ýëåêòðî­ôèëüòðà, àãðåãàòîâ ïèòàíèÿ, ñèñòåìû òðàíñïîðòèðîâêè óëîâëåííîé ïûëè.

Ýëåêòðîôèëüòð (ðèñ. 4.11) ìîíòèðóåòñÿ â ìåòàëëè÷åñêîì êîðïóñå ïðÿìî­óãîëüíîãî ñå÷åíèÿ. Âíóòðè íåãî ðàñïîëàãàþòñÿ îñàäèòåëüíûå è êîðîíèðóþ-ùèå ýëåêòðîäû. Íà âõîäå â ýëåêòðîôèëüòð óñòàíàâëèâàåòñÿ ãàçîðàñïðåäåëè­òåëüíîå óñòðîéñòâî, îáåñïå÷èâàþùåå ðàâíîìåðíîå ðàñïðåäåëåíèå ãàçà â àê­òèâíîé çîíå àïïàðàòà.  íèæíåé ÷àñòè êîðïóñà óñòàíîâëåíû áóíêåðà äëÿ ñáîðà è ñèñòåìû äëÿ òðàíñïîðòèðîâêè ïûëè.



î÷èùåííûé ãàç

çàïûëåííûé ãàç

óëîâëåííàÿ ïûëü

 


Ðèñ. 4.11. Ýëåêòðîôèëüòð:

1 — êîðïóñ; 2 — îñàäèòåëüíûå ýëåêòðîäû; 3 — êîðîíèðóþùèå ýëåêòðîäû; 4 — ãàçî­ðàñïðåäåëèòåëüíîå óñòðîéñòâî; 5 — áóíêåðà äëÿ ñáîðà ïûëè; 6 — ñèñòåìà òðàíñïîðòè­ðîâêè ïûëè


Ðàçäåë 4. Âîçäóøíàÿ ñðåäà ãîðîäà 205

Îñíîâîé ïðîöåññà î÷èñòêè ÿâëÿåòñÿ èîíèçàöèÿ ïûëåâèäíûõ ÷àñòèö è ìîëåêóë ãàçà ïîä âîçäåéñòâèåì ýëåêòðîñòàòè÷åñêîãî ïîëÿ. Çàðÿæåííûå ÷à­ñòè÷êè îñåäàþò íà ïîâåðõíîñòü ýëåêòðîäà ñ ïðîòèâîïîëîæíûì ýëåêòðè­÷åñêèì çàðÿäîì. Îñàæäåííûå ÷àñòèöû óäàëÿþòñÿ ñ ýëåêòðîäîâ âñòðÿõèâà­íèåì èëè ïðîìûâíîé âîäîé. Óëîâëåííàÿ ïûëü (øëàì) ïîñòóïàåò â áóíêåð ýëåêòðîôèëüòðà è äàëåå â ñèñòåìó óäàëåíèÿ.

 çàâèñèìîñòè îò êîíñòðóêöèè ýëåêòðîôèëüòðà ñêîðîñòü ïðîõîæäåíèÿ î÷èùàåìûõ ãàçîâ êîëåáëåòñÿ â ïðåäåëàõ 0,8—1,7 ì/ñ.

Ìîêðàÿ î÷èñòêà âûáðîñîâ ÿâëÿåòñÿ îäíèì èç íàèáîëåå ýôôåêòèâíûõ è øèðîêî ðàñïðîñòðàíåííûõ ìåòîäîâ ïûëåãàçîóëàâëèâàíèÿ. Ïðè ìîêðîé î÷è­ñòêå äîñòèãàåòñÿ âûñîêàÿ ñòåïåíü èçâëå÷åíèÿ òâåðäûõ, æèäêèõ è ãàçîîá­ðàçíûõ ïðèìåñåé.

Îñíîâîé ïðîöåññà ìîêðîé î÷èñòêè ÿâëÿåòñÿ îñàæäåíèå ÷àñòèö ïûëè íà êàïëÿõ èëè íà ñëîå æèäêîñòè.  êà÷åñòâå îðîøàþùåé æèäêîñòè ÷àùå âñåãî èñïîëüçóåòñÿ âîäà. Èíîãäà, â çàâèñèìîñòè îò îñîáåííîñòåé ñîñòàâà î÷èùàåìûõ âûáðîñîâ, âîäó ïîäùåëà÷èâàþò èëè ïîäêèñëÿþò.

Àïïàðàòû ìîêðîé ãàçîî÷èñòêè îòëè÷àþòñÿ ïðîñòîòîé êîíñòðóêöèè è ýêñïëóàòàöèè, îòíîñèòåëüíî íåâûñîêîé ñòîèìîñòüþ.  íèõ ìîæíî î÷è­ùàòü âûáðîñû ëþáîé âëàæíîñòè, à òàêæå ïîæàðî- è âçðûâîîïàñíûå ñìåñè.

Ê íåäîñòàòêàì ìîêðîãî ñïîñîáà ïûëå- ãàçîî÷èñòêè ñëåäóåò îòíåñòè: îá­ðàçîâàíèå ñòî÷íûõ âîä è øëàìà, êîòîðûå òðåáóþò äàëüíåéøåé îáðàáîòêè; êîððîçèþ îáîðóäîâàíèÿ ïðè âîçäåéñòâèè àãðåññèâíûõ óâëàæíåííûõ ãàçîâ è æèäêîñòè; îòíîñèòåëüíî âûñîêèå óäåëüíûå çàòðàòû ýëåêòðîýíåðãèè.

Ïðîñòåéøèì àïïàðàòîì ìîêðîé î÷èñòêè âûáðîñîâ ÿâëÿåòñÿ ôîðñóíî÷­íûé ñêðóááåð. Îí ïðåäíàçíà÷åí äëÿ óëàâëèâàíèÿ ÷àñòèö ðàçìåðîì áîëåå 10—15 ìêì, à òàêæå äëÿ îõëàæäåíèÿ è óâëàæíåíèÿ î÷èùàåìûõ âûáðîñîâ.

Ôîðñóíî÷íûé ñêðóááåð (ðèñ. 4.12) ïðåäñòàâëÿåò ñîáîé öèëèíäðè÷åñ­êóþ åìêîñòü, îñíàùåííóþ ïàòðóáêàìè äëÿ ïîäâîäà è îòâîäà î÷èùåííîãî âîçäóõà.  âåðõíåé ÷àñòè êîðïóñà ðàñïîëîæåíû îäèí èëè íåñêîëüêî ÿðó­ñîâ ôîðñóíîê äëÿ ðàñïûëåíèÿ îðîøàþùåé æèäêîñòè. Æèäêîñòü â âèäå äîæäÿ ñ äèàìåòðîì êàïåëü 0,6—1 ìì êàê áû ïðîìûâàåò î÷èùàåìûé ãàç, äâèæóùèéñÿ ïðîòèâîòîêîì, ò.å. ñíèçó ââåðõ, ñî ñêîðîñòüþ 0,7—1,5 ì/ñ. Ïðè áîëüøèõ ñêîðîñòÿõ ïðîèñõîäèò âûíîñ âëàãè è îòëîæåíèå ïûëè íà âíóò­ðåííèõ ïîâåðõíîñòÿõ âûõîäíîãî ïàòðóáêà ñêðóááåðà. Óäåëüíûé ðàñõîä âîäû â ñêðóááåðàõ ñîñòàâëÿåò 1—6 ë/ì3.

 ìåõàíè÷åñêîì ñêðóááåðå ðàñïûëåíèå æèäêîñòè ïðîèçâîäèòñÿ ñ ïî­ìîùüþ âðàùàþùåãîñÿ äèñêà.  ñêðóááåðå Âåíòóðè ðàñïûëåíèå æèäêîñòè ïðîèñõîäèò çà ñ÷åò òóðáóëåíòíîãî äâèæåíèÿ î÷èùàåìîãî ïîòîêà ãàçà ÷å­ðåç êîíôóçîð òðóáû Âåíòóðè (ðèñ. 4.13). Ïðîõîäÿ äàëåå ÷åðåç èíåðöèîí­íûé êàïëåóëîâèòåëü, ïîòîê ãàçà îñâîáîæäàåòñÿ îò êàïåëü æèäêîñòè, êî­òîðûå óäåðæèâàþò ÷àñòèöû ïûëè, îòêóäà æèäêîñòü îòâîäèòñÿ ÷åðåç ãèä­ðîçàòâîð.



Ýêîëîãèÿ ãîðîäà



Ðèñ. 4.12. Ôîðñóíî÷íûé ñêðóááåð:

1 — öèëèíäðè÷åñêèé êîðïóñ; 2 — âõîä­íîé ïàòðóáîê; 3 — ïàòðóáîê äëÿ îòâîäà î÷èùåííîãî ãàçà; 4 — ïîäâîä âîäû íà îðî­øåíèå; 5 — êîíòðîëüíî-èçìåðèòåëüíûå ïðèáîðû ïàðàìåòðîâ âîäû; 6 — ðåãóëèðó­þùàÿ çàäâèæêà; 7 — ôîðñóíêè âåðõíåãî è íèæíåãî ÿðóñà îðîøåíèÿ; 8 — ãèäðîçàò­âîð

Ðèñ. 4.13. Ñêðóááåð Âåíòóðè:

1 — âõîä î÷èùàåìîãî ãàçà; 2 — âûõîä î÷è­ùåííîãî ãàçà; 3 — îðîøàþùåå óñòðîéñòâî; 4 — êîíôóçîð òðóáû Âåíòóðè; 5 — ãîðëî­âèíà; 6 — äèôôóçîð; 7 — êàïëåóëîâèòåëü; 8 — ãèäðîçàòâîð


Ðàçäåë 4. Âîçäóøíàÿ ñðåäà ãîðîäà



Ðàçìåð ÷àñòèö, óëàâëèâàåìûõ â ñêðóááåðå Âåíòóðè, — îò 0,2 ìêì è âûøå. Ïðè ýòîì ñòåïåíü î÷èñòêè ìîæåò äîñòèãàòü 96—99%. Ñêîðîñòü ãàçà â ãîðëî­âèíå òðóáû Âåíòóðè äîñòèãàåò 100—180 ì/ñ, óäåëüíûé ðàñõîä îðîøàþùåé æèäêîñòè — 0,5—1,5 ë/ì3.

Ïðèíöèï äåéñòâèÿ è êîíñòðóêöèÿ öåíòðîáåæíîãî ñêðóááåðà àíàëîãè÷íû öèêëîíó (ðèñ. 4.14). Ïîä âîçäåéñòâèåì öåíòðîáåæíûõ ñèë, âîçíèêàþùèõ ïðè

âðàùåíèè ãàçîâîãî ïîòîêà â àïïàðàòå, ÷àñòè­öû ïûëè îòáðàñûâàþòñÿ íà ñïèðàëü ñêðóááå­ðà, îòêóäà ñìûâàþòñÿ æèäêîñòüþ, ïîäàâàåìîé ÷åðåç ñîïëà, ðàñïîëîæåííûå ïî îêðóæíîñòè â âåðõíåé ÷àñòè êîðïóñà.

Ðèñ. 4.14. Öåíòðîáåæíûé ñêðóááåð:

1 — òàíãåíöèàëüíûé ïàòðóáîê äëÿ âõîäà î÷èùàåìîãî ãàçà; 2 — âûõîä î÷èùåííîãî ãàçà; 3 — ñèñòåìà ïîäà÷è âîäû; 4 — öèëèíäðè÷åñêèé êîðïóñ; 5 — ãèäðîçàòâîð

Ñêîðîñòü ãàçà â öèëèíäðè÷åñêîì ñå÷åíèè êîðïóñà äîñòèãàåò 4—5 ì/ñ; ñòåïåíü î÷èñòêè äîâîëüíî âûñîêàÿ è çàâèñèò îò ðàçìåðà è ïëîò­íîñòè ÷àñòèöû ïûëè, à òàêæå äèàìåòðà öåíò­ðîáåæíîãî ñêðóááåðà.

Àïïàðàòû ìîêðîé ãàçîî÷èñòêè óäàðíî-èíåðöèîííîãî äåéñòâèÿ — ïûëåóëîâè­òåëü âåíòèëÿöèîííûé ìîêðûé (ÏÂÌ), ðîòîêëîí ïðèìåíÿþòñÿ ïðè îòñóòñòâèè äîñòàòî÷íîãî êîëè÷åñòâà ÷èñòîé âîäû è îòíîñèòåëüíî íåâûñîêèõ òåìïåðàòóðàõ î÷èùàåìîãî ãàçà äëÿ î÷èñòêè îò ÷àñòèö ïûëè ðàçìåðîì íå ìåíåå 5 + 10 ìêì.

Ïðèíöèï äåéñòâèÿ ýòèõ àïïàðàòîâ îñíîâàí íà ðåçêîì ïîâîðîòå íà 180° ãàçîâîãî ïîòîêà, íàïðàâëåííîãî ñ áîëüøîé ñêîðîñòüþ ïåðïåíäèêóëÿðíî ê ïîâåðõíîñòè æèäêîñòè (ðèñ. 4.15). Âçâåøåííûå â ãàçå ÷àñòèöû, óäàðÿÿñü î

ïîâåðõíîñòü æèäêîñòè, óëàâëèâàþòñÿ åþ. Âîäà, óâëåêàåìàÿ ãàçîâûì ïîòîêîì, äâèæåòñÿ äî âåðõíåé êðîìêè ïåðåãîðîä­êè, à çàòåì ñåïàðèðóåòñÿ â êàïëåóëîâè-òåëå. Î÷èùåííûé ãàç ñ ïîìîùüþ âåí­òèëÿòîðà âûáðàñûâàåòñÿ íàðóæó.

Ðèñ. 4.15. Ïûëåóëîâèòåëü âåíòèëÿöèîííûé ìîêðûé (ÏÂÌ):

1 — êîðïóñ; 2, 3 — ïåðåãîðîäêè; 4 — êàïëå-îòáîéíèê-êàïëåóëîâèòåëü; 5 — îòâåðñòèå äëÿ âõîäà î÷èùàåìûõ ãàçîâ; 6 — ïàòðóáîê äëÿ âû­õîäà î÷èùåííûõ ãàçîâ; 7 — ñêðåáêîâûé êîí­âåéåð



Ýêîëîãèÿ ãîðîäà


Àïïàðàò ñî ùåëåâûì êàíàëîì ñëîæíîé êîíôèãóðàöèè (èìïåëëåðîì) íà­çûâàåòñÿ ðîòîêëîí.

Óëîâëåííàÿ ïûëü îñåäàåò íà äíå êîðïóñà àïïàðàòà è óäàëÿåòñÿ ñêðåáêî­âûì êîíâåéåðîì.

Ðàñõîä âîäû íà îðîøåíèå ãàçà íå ïðåâûøàåò 0,03 êã/ì3. Ñòåïåíü î÷èñòêè ïðè äèàìåòðå ÷àñòèö ïûëè äî 10 ìêì ñîñòàâëÿåò 98—99%. Ñêîðîñòü ãàçà â ùåëè ìåæäó ïåðåãîðîäêàìè äîñòèãàåò 15 ì/ñ.

Áàðáîòàæíûå ïåííûå àïïàðàòû ïðåäíàçíà÷åíû äëÿ î÷èñòêè íåáîëüøèõ ðàñõîäîâ ãàçà îò ÷àñòèö ïûëè ðàçìåðîì íå ìåíåå 5 ìêì.

Ïðîöåññ áàðáîòàæà ñîñòîèò â ïðîõîæäåíèè î÷èùàåìîãî ãàçà ÷åðåç ñëîé æèäêîñòè.

Áàðáîòàæíûé ïåííûé àïïàðàò (ðèñ. 4.16) ïðåäñòàâëÿåò ñîáîé êîðïóñ, ïåðå­
ãîðîæåííûé ãîðèçîíòàëüíîé ðåøåòêîé ñ ðàâíîìåðíî ðàñïîëîæåííûìè ìåëêè­
ìè îòâåðñòèÿìè. Çàïûëåííûé ãàç ïîäàåòñÿ ïîä ðå-
3 øåòêó è îòâîäèòñÿ èç âåðõíåé ÷àñòè àïïàðàòà.

Ðèñ. 4.16. Áàðáîòàæíûé ïåííûé àïïàðàò:

1 — êîðïóñ; 2 — âõîä î÷èùàåìîãî ãàçà; 3 — âûõîä î÷èùåí­íîãî ãàçà; 4 — îðîñèòåëü; 5 — îòâîä æèäêîñòè â ïåðåëèâ­íîé îòñåê; 6 — ðåøåòêà; 7 — îòâîä æèäêîñòè, ïðîøåäøåé ÷åðåç ðåøåòêó

Ïðè ñêîðîñòè ãàçà äî 1 ì/ñ íàáëþäàåòñÿ áàðáî­òàæíûé ðåæèì, ïðè êîòîðîì âîçäóõ ïðîõîäèò ÷åðåç ñëîé æèäêîñòè â âèäå îòäåëüíûõ ïóçûðüêîâ. Ïðè ïîâûøåíèè ñêîðîñòè áàðáîòàæíûé ðåæèì ïåðåõî­äèò â ïåííûé.

Äèàìåòð êîðïóñà áàðáîòàæíîãî àïïàðàòà îáû÷­íî ñîñòàâëÿåò 2—2,5 ì, äèàìåòð îòâåðñòèé ðåøåòêè — 4—8 ìì, ñêîðîñòü ãàçîâ ïðè ïðîõîæäåíèè ðå­øåòêè — 6—10 ì/ñ.

Ìåòîäû î÷èñòêè ïðîìûøëåííûõ âûáðîñîâ îò ãàçî- è ïàðîîáðàçíûõ ïðèìåñåé ïî õàðàêòåðó ïðîòåêàíèÿ ôèçèêî-õèìè÷åñêèõ ïðîöåññîâ ïîäðàçäåëÿåòñÿ íà ñëåäóþùèå ãðóïïû:

• ïðîìûâêà âûáðîñîâ ðàñòâîðèìûõ ïðèìåñåé (àäñîðáöèÿ);

• ïðîìûâêà âûáðîñîâ ðàñòâîðàìè ðåàãåíòîâ, ñâÿçûâàþùèõ ïðèìåñè õè­
ìè÷åñêè (õåìîñîðáöèÿ);

• ïîãëîùåíèå ãàçîîáðàçíûõ ïðèìåñåé òâåðäûìè àêòèâíûìè âåùåñòâàìè
(àäñîðáöèÿ);

• òåðìè÷åñêàÿ íåéòðàëèçàöèÿ âðåäíûõ ïðèìåñåé îòõîäÿùèõ ãàçîâ (ïðî­
öåññû ñæèãàíèÿ);

• êàòàëèòè÷åñêàÿ î÷èñòêà ãàçîâ;

• áèîõèìè÷åñêàÿ î÷èñòêà ãàçîâ.


Ðàçäåë 4. Âîçäóøíàÿ ñðåäà ãîðîäà 209

4.5. Êîíòðîëü óðîâíÿ çàãðÿçíåíèÿ àòìîñôåðíîãî âîçäóõà â ãîðîäàõ







Date: 2015-09-02; view: 941; Íàðóøåíèå àâòîðñêèõ ïðàâ



mydocx.ru - 2015-2026 year. (0.526 sec.) Âñå ìàòåðèàëû ïðåäñòàâëåííûå íà ñàéòå èñêëþ÷èòåëüíî ñ öåëüþ îçíàêîìëåíèÿ ÷èòàòåëÿìè è íå ïðåñëåäóþò êîììåð÷åñêèõ öåëåé èëè íàðóøåíèå àâòîðñêèõ ïðàâ - Ïîæàëîâàòüñÿ íà ïóáëèêàöèþ