Главная Случайная страница


Полезное:

Как сделать разговор полезным и приятным Как сделать объемную звезду своими руками Как сделать то, что делать не хочется? Как сделать погремушку Как сделать так чтобы женщины сами знакомились с вами Как сделать идею коммерческой Как сделать хорошую растяжку ног? Как сделать наш разум здоровым? Как сделать, чтобы люди обманывали меньше Вопрос 4. Как сделать так, чтобы вас уважали и ценили? Как сделать лучше себе и другим людям Как сделать свидание интересным?


Категории:

АрхитектураАстрономияБиологияГеографияГеологияИнформатикаИскусствоИсторияКулинарияКультураМаркетингМатематикаМедицинаМенеджментОхрана трудаПравоПроизводствоПсихологияРелигияСоциологияСпортТехникаФизикаФилософияХимияЭкологияЭкономикаЭлектроника






Назначение, устройство и принцип работы стилоскопа СЛУ





Для визуального спектрального анализа используются различные спектральные приборы - стилоскопы и стилометры.

Стилоскопы – это спектроскопы, имеющие специальное устройство для перехода от одного участка к другому. Промышленность выпускает два типа стилоскопов – стационарные и переносные. Рассмотрим стилоскоп универсальный СЛУ, общий вид стационарного варианта показан на рис. 1 [1, стр.20].

Стилоскоп универсальный СЛУ предназначается для быстрого визуального качественного и сравнительного количественного спектрального анализа черных и цветных сплавов в видимой области спектра.

Универсальный стилоскоп применяется для экспрессных анализов, к точности которых не предъявляется высоких требований. Анализу могут быть подвергнуты образцы любых размеров и форм как непосредственно на месте, где расположен объект анализа, так и в лабораторных условиях.

Стилоскоп может быть использован на складах при контроле материала, на шихтовых дворах, пунктах сортировки металлического лома, экспресс-лабораториях литейных цехов, в научно-исследовательских лабораториях.

Универсальный стилоскоп СЛУ включает собственно стилоскоп 3 (рис. 1), источник света 2, блок питания 1, рельс 8, подставку 6, кабель 9.

Анализ с помощью стилоскопа заключается в следующем. Между анализируемым образцом и электродом зажигается электрическая дуга или искра и ее излучение направляется однолинзовым осветителем в щель стилоскопа. Наблюдатель рассматривает в окуляр спектр анализируемого сплава. Спектральные линии имеют кривизну, выпуклость которой обращена к красной области спектра.

Рисунок 1 – Общий вид стационарного варианта стилоскопа СЛУ

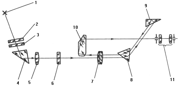
Оптическая схема стилоскопа построена по автоколлимационной схеме. Свет от дуги 1 (рис. 2) [1,стр. 16] призмой 4 направляется на линзу 5, которая формирует изображение источника на пластинку 6 со щелью, установленной в фокальной плоскости объектива 7. Параллельный пучок

Рисунок 2 – Оптическая принципиальная схема стилоскопа СЛУ

света попадает на диспергирующие призмы 8 и 9. Большой катет призмы 9 посеребрен, поэтому лучи отражаются от него, проходя в обратном направлении через призмы на объектив 7, затем призмой 10 направляются в окуляр 11, где и наблюдается спектр. Для защиты призмы 4 от атмосферных паров, пыли, грязи и брызг расплавленного металла используются постоянное защитное стекло 3 и сменное защитное стекло 2.

Стилоскоп 3 (Рис.1) состоит из головки с осветительной системой и спектрального аппарата. В корпусе головки 16 (рис. 3) [1, стр. 21] находятся постоянное защитное стекло, призма и линза.

Перед постоянным защитным стеклом 3 (рис.2) имеется сменное защитное стекло 2. Сменное защитное стекло принимает на себя во время работы брызги расплавленного металла, предохраняя тем самым от порчи постоянное защитное стекло. Когда сменное защитное стекло покроется пятнами (от выгорания стекла), дающими заметное ослабление интенсивности спектра, его необходимо заменить.

Головка изолируется от остальной части стилоскопа изолятором 6 (рис. 3). Необходимый при работе разворот призмы 4 (рис.2) осуществляется с помощью штока 13 (Рис. 3), который крепится к стилоскопу хомутом 14 и стопорным винтом 15 в шарнире.

Рисунок 3 – Конструкция стилоскопа

Спектральный аппарат заключен в корпус 12 (рис.3), на котором закреплен окуляр 8, а с помощью трубы 19 присоединен изолятор с головкой. В трубе помещается оправа с оптической щелью. В поле зрения окуляра имеется указатель для фиксации спектральных линий. На окулярной части закреплены наглазник и налобник 9. Наглазник и налобник защищают глаза от света дуги. На корпусе смонтирован маховичок 10. Вращением маховичка осуществляется поворот диспергирующей призмы 9 (рис. 2), вследствие чего спектр перемещается в поле зрения окуляра.

Блок питания представляет собой портативное устройство, позволяющее получить дугу переменного тока и низковольтную искру.

Корпус блока питания выполнен из двух боковых стоек 3, 5 (рис. 4) [1, стр. 23], верхней панели 2 и нижнего шасси 4. Боковые крышки крепятся внизу винтами.

На верхней панели расположены:

- колодка Х3 -для подключения блока питания к сети 220 В через кабель;

- сигнальная лампа Н1;

- вставки плавкие FU1 и FU2, защищающие блок питания от перегрузок в сети;

- клемма заземления ХТ1;

Рисунок 4 – Конструкция блока питания

- рукоятка 1 разрядника F1 -для регулировки искрового промежутка во время работы;

- розетки Х4, Х5 - для стыковки блока питания со стилоскопом или источником света;


- тумблер Q1 ДУГА, ИСКРА - для переключения режимов работы блока питания;

- тумблер Q2 ЕМКОСТЬ - для подключения дополнительной емкости при работе в искровом режиме.

В корпусе блока питания установлены:

- высокочастотный трансформатор ТV3;

- высоковольтные конденсаторы С11, С12;

- высокочастотный фильтр, состоящий из дросселя и конденсатора;

- нагрузочные сопротивления R1, R2, выполненные в виде спиралей из высокоомной проволоки;

- вентилятор М1 для уменьшения нагрева корпуса;

- разделительный трансформатор ТV1;

- высоковольтный трансформатор ТV2;

- реле КV1;

- конденсаторы С8, С9 и сопротивление R4.

Источник света представляет из себя электрический разрядник, работающий в дуговом и искровом режимах, и состоит из стойки 8 (рис. 5) [1, стр. 24], корпуса 7 и крышки 4.

С помощью стойки 10 (рис.1) источник света устанавливается на рельс 8. Анализируемый образец любой формы помещается под крышкой на токопроводящем столике 6 (рис.5). Образцы малых размеров закрепляются съемным зажимом 5, который ввинчивается в любое из четырех отверстий столика.

Рисунок 5 – Конструкция источника света

Зажим может быть использован и как прижимное устройство для образцов малой массы и неустойчивой формы.

Дисковый электрод 10 (медный или стальной) закрепляется на откидывающейся заслонке 11, что обеспечивает легкость доступа к дисковому электроду при его замене. Дисковый электрод можно эксплуатировать длительное время без заточки, для чего предусмотрено вращение диска рукояткой 2 с фиксацией через 15°.

Необходимый промежуток между анализируемым образцом и электродом устанавливается по накладным калибрам 3 подъемом дискового электрода с помощью винта 1. Для устранения срезания светового потока рекомендуется устанавливать анализируемый образец на столике краем над дисковым электродом.

Напряжение от блока питания к источнику света подводится с по­мощью жгута с разъемами. Включение блока питания при работе с источником света осуществляется тумблером S2. Блокирующая кнопка размыкает низковольтную цепь при открывании крышки, предохраняя работающего от поражения током. Обязательное заземление источника света осуществляется с помощью клеммы ХТ2.

Для сбора и удаления окалины из корпуса источника света пре­дусмотрен поддон.

Рельс 8 (рис. 1) стандартного профиля предназначен для крепления подставки 6 и стойки 10 для крепления источника света. Для установки на столе рельс снабжен четырьмя регулируемыми опорами 5.

Подставка 6 предназначена для крепления стилоскопа на рельсе. Высота подставки регулируется гайкой 7. Стилоскоп устанавливается в направляющую 4 и зажимается рукояткой.

 

Порядок работы на стилоскопе СЛУ по стационарному варианту

Перед началом работы необходимо установить расстояние от электрода до анализируемого образца. Для этого по калибрам 3 (рис.5) устанавливается расстояние от электрода до образца. Анализируемый образец помещается на столике 6 источника света и закрывается крышка 4. После установки на блоке питания необходимый для работы режима включается источник света тумблером S2.

Затем регулируя величину искрового промежутка рукояткой 1 (рис. 4), добиваются устойчивого горения дуги без перебоев зажигания. Требуемую яркость наблюдаемого спектра добиваются разворотом поворотной призмы 4 (рис.2) с помощью штока 13 (рис. 3). После этого вращая маховичок 10, выводят на окуляр 8 необходимую для работы спектральную линию. Соответствие отсчета по шкале 11 маховичка истинному значению длины волны спектральной линии устанавливается по дисперсионной кривой (рис. 6) [1, стр. 29]. В случае не соответствия отсчета необходимо вести поправочный коэффициент.


Рисунок 6 – Дисперсная кривая к стилоскопу СЛУ

Резкость спектральных линий добиваются окуляром 8, после чего приступают к оценке содержаний элементов в анализируемом образце.

Каждому химическому элементу соответствуют определенные линии спектра излучения. Следовательно, присутствие в спектре линий данного элемента указывает на наличие его в анализируемом образце. По яркости спектральных линий можно судить о количестве вещества в анализируемом образце: чем больше содержание примесей, тем интенсивнее линии спектра.

Однако спектральные линии примеси нельзя наблюдать изолированно от других линий спектра, т.к. интенсивность линий зависит не только от содержания примесей в образце, но и от условий возбуждения спектра; кроме того, довольно трудно судить об интенсивности отдельной линии, не сравнивая ее со стандартом. Интенсивность спектральной линии оценивают путем сравнения ее с другими спектральными линиями, интенсивность которых принята за условный стандарт, в нашем случае спектр железа.

Таким образом, о концентрации искомой примеси судят по отношению интенсивности двух линий: линии примеси и линии сравнения, за которую принимается линия основы сплава.

Спектроскопические признаки для определения легирующих элементов в сталях приведены в атласе спектральных линий универсального стилоскопа СЛУ.

При анализе трудновозбудимых элементов (кремний, фосфор) рекомендуется подключать дополнительную емкость тумблером Q2 ЕМКОСТЬ (рис. 4) на блоке питания.

Режим работы блока питания должен быть повторно- кратковременным - 5 минут работы, 5 минут перерыва.

 







Date: 2015-08-06; view: 6039; Нарушение авторских прав



mydocx.ru - 2015-2026 year. (0.478 sec.) Все материалы представленные на сайте исключительно с целью ознакомления читателями и не преследуют коммерческих целей или нарушение авторских прав - Пожаловаться на публикацию