Главная Случайная страница


Полезное:

Как сделать разговор полезным и приятным Как сделать объемную звезду своими руками Как сделать то, что делать не хочется? Как сделать погремушку Как сделать так чтобы женщины сами знакомились с вами Как сделать идею коммерческой Как сделать хорошую растяжку ног? Как сделать наш разум здоровым? Как сделать, чтобы люди обманывали меньше Вопрос 4. Как сделать так, чтобы вас уважали и ценили? Как сделать лучше себе и другим людям Как сделать свидание интересным?


Категории:

АрхитектураАстрономияБиологияГеографияГеологияИнформатикаИскусствоИсторияКулинарияКультураМаркетингМатематикаМедицинаМенеджментОхрана трудаПравоПроизводствоПсихологияРелигияСоциологияСпортТехникаФизикаФилософияХимияЭкологияЭкономикаЭлектроника






Монтаж серьги на петлю прибора ППК-У-165А-Д или АД-3У-Д-165 и монтаж прибора на ранец





Монтаж прибора, проверенного согласно разделу 2.2. «Первый этап укладки» настоящего документа, производите в следующей последовательности:

- выверните специальный винт с петлей из специальной гайки прибора, а петлю прибора выведите из прорези винта (рис.56, А);
- заведите петлю прибора в одно из отверстий серьги (рис.56, Б);
- вставьте петлю прибора в прорези винта (рис.56, В) и заверните специальный винт в специальную гайку (рис.56, Г).

ВНИМАНИЕ! СПЕЦИАЛЬНЫЙ ВИНТ, КРЕПЯЩИЙ ПЕТЛЮ К СПЕЦИАЛЬНОЙ ГАЙКЕ, ДОЛЖЕН БЫТЬ ЗАВЕРНУТ ДО ОТКАЗА.


Рис. 56. Монтаж серьги к петле прибора: 1 - шланг; 2 - штифт хомута; 3 - хомут; 4 - наконечник шланга; 5 - амортизатор; 6 - гайка специальная; 7 - винт специальный; 8 - петля прибора; 9 - серьга

Если специальный винт не вошел полностью в специальную гайку, то его выверните, а находящийся внутри гайки хомут с наконечником троса доверните до конца и после этого вверните специальный винт до отказа.

Сместите хомут относительно наконечника шланга в сторону петли прибора до упора (рис.56). Вставьте гибкую шпильку с фалом в прибор (рис.57) и плавно (без рывка) взведите его силовые пружины.


Рис. 57. Контровка гибкой шпильки с прибором: 1 - ушко гибкой шпильки; 2 - нить контровочная; 3 - фал; 4 - затвор прибора; а - узел нити контровочной

Установите шкалу высот прибора на отметку 8000 м (8,0 км), а стрелку механизма - на отметку 5 с (при применении прибора ППК-У-165А-Д).

Установите стрелку часового механизма прибора на отметку 3 с (при применении прибора АД-3У-Д-165).

Законтрите гибкую шпильку в затворе прибора одной контровочной нитью, продев ее через отверстие затвора прибора, ушко гибкой шпильки и петлю фала. Завяжите концы контровочной нити тройным прямым узлом (рис.57). На рис. 57 узел для наглядности показан незатянутым.

ПРЕДУПРЕЖДЕНИЕ. ПРИ ИСПОЛЬЗОВАНИИ АНЕРОИДНОГО УСТРОЙСТВА ПРИБОРА ШКАЛУ ВЫСОТ УСТАНОВИТЕ В СООТВЕТСТВИИ С ЗАДАНИЕМ. ПРИ ЭТОМ УЧИТЫВАЙТЕ АТМОСФЕРНОЕ ДАВЛЕНИЕ И РЕЛЬЕФ МЕСТНОСТИ В РАЙОНЕ ВОЗМОЖНОГО ПРИЗЕМЛЕНИЯ. В ПРИБОРЕ ППК-У-165А-Д ОТМЕТКОЙ 300 м (0,3 км) ШКАЛЫ ВЫСОТ ПОЛЬЗОВАТЬСЯ НЕ РЕКОМЕНДУЕТСЯ, ТАК КАК ПРИ ОТСУТСТВИИ ДАННЫХ О РЕЛЬЕФЕ МЕСТНОСТИ И ПОГОДЕ ЭТО НЕБЕЗОПАСНО.

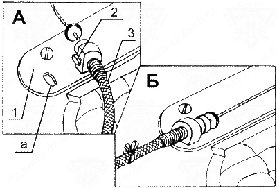
Вставьте штифт хомута прибора в отверстие монтажной пластины двухконуспого замка (рис.58).


Рис. 58. Монтаж штифта хомута прибора в отверстие монтажной пластины: 1 - пластина монтажная; 2 - штифт хомута; 3- шланг прибора; а - отверстие

Развяжите ленты-завязки на кармане прибора, если они завязаны, и без резких изгибов шланга и приложения усилий вложите корпус прибора в карман (рис.59).


Рис. 59. Размещение корпуса прибора в кармане: 1 - ленты-завязки; 2 - корпус прибора; 3 - карман

Привяжите лентами-завязками корпус прибора в кармане (рис.60) и шланг прибора на ранце. На рис.60, А узел для наглядности показан незатянутым.

Сдвиньте амортизатор на тросе в направлении к шлангу прибора (рис.60). Положите фал гибкой шпильки вдоль кармана фала и прикройте клапаном, после чего клапан заправьте в карман (рис.60).


Рис. 60. Привязка корпуса прибора: 1 - карман фала гибкой шпильки; 2 - клапан; 3 - фал гибкой шпильки; 4 - амортизатор; 5 - шланг прибора; 6 - ленты-завязки







Date: 2015-08-06; view: 590; Нарушение авторских прав



mydocx.ru - 2015-2026 year. (1.395 sec.) Все материалы представленные на сайте исключительно с целью ознакомления читателями и не преследуют коммерческих целей или нарушение авторских прав - Пожаловаться на публикацию