Главная Случайная страница


Полезное:

Как сделать разговор полезным и приятным Как сделать объемную звезду своими руками Как сделать то, что делать не хочется? Как сделать погремушку Как сделать так чтобы женщины сами знакомились с вами Как сделать идею коммерческой Как сделать хорошую растяжку ног? Как сделать наш разум здоровым? Как сделать, чтобы люди обманывали меньше Вопрос 4. Как сделать так, чтобы вас уважали и ценили? Как сделать лучше себе и другим людям Как сделать свидание интересным?


Категории:

АрхитектураАстрономияБиологияГеографияГеологияИнформатикаИскусствоИсторияКулинарияКультураМаркетингМатематикаМедицинаМенеджментОхрана трудаПравоПроизводствоПсихологияРелигияСоциологияСпортТехникаФизикаФилософияХимияЭкологияЭкономикаЭлектроника






Правила построения технологических схем сборки





На технологической схеме сборки лежит большая информационная нагрузка. В схематичном виде она отображает технологический процесс сборки изделия. На схеме представляют сопроводительные особенности выполнения технологического процесса, что позволяет однозначно судить о сложности сборочных работ при анализе технологической схемы сборки. Технологические схемы сборки изображают горизонтально или вертикально.

Правила построения технологических схем сборки можно коротко сформулировать в следующей последовательностью:

1) Выбирают базовую деталь. Она должна обеспечивать надежность базирования и удобство последующей сборки с наименьшим количеством переустановов.

2) Процесс сборки обозначают горизонтальной (вертикальной) прямой от базовой детали (узла) до изделия (сборочной единицы). Данная прямая ассоциирует временной путь сборки.

3) Сверху (слева) от прямой в порядке последовательности сборки обозначают входящие в изделие (сборочную единицу) детали.

4) Снизу (справа) от прямой – аналогично обозначают сборочные единицы, входящие в основную сборку.

5) В соответствующих местах технологической схемы (пропорционально времени) делают выноски с поясняющим текстом, отображающие особенности процесса сборки, например, расклепать с силой не более 50 Н, затянуть с моментом М=100 Н/м, проверить зазор и т.д.

6) Перед изделием, на выносных линиях, выписывают технические характеристики собранного изделия.

7) Все детали и сборочные единицы представляют в виде табличной условной записи

   
    , где  
       

1 – название детали (сборочной единицы);

2 – номер по спецификации;

3 – количество штук.

 

Как происходит построение технологической схемы сборки показано на примере 5.

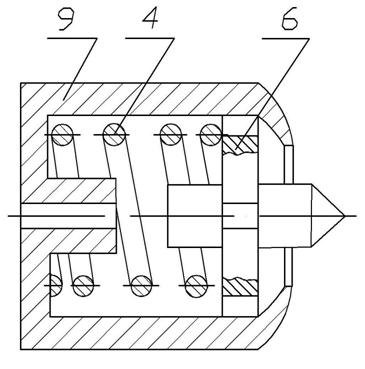
Пример 5. Составление технологической схемы сборки баллона в сборе (см рис 10 и 11).

Рис. 10 Баллон в сборе

9 – баллон;

4 – пружина;

6 – клапан.

 

  Технические характеристики сборочной единицы    
  Пружина     Клапан      
 
     
 
       
Баллон   Баллон в сборе
        Сб. 9  
     
Развальцевать корпус с силой P=200 Н
                       

 

Рис. 11 Технологическая схема сборки баллона

 

Сборку следует начинать с наиболее сложной и ответственной цепи, звенья которой являются составляющими звеньями других более простых цепей. В каждой размерной цепи сборку завершают установкой тех элементов соединения, которые образуют ее замыкающее звено. Для выбора наиболее технологичного варианта сборки составляют несколько вариантов технологических схем и оценивают их по показателям технологичности, экономическим показателям, по требуемому количеству рабочих, удобству автоматизации и механизации процесса. По принятым технологическим схемам общей и узловой сборки определяют содержание сборочных операций.

Содержание сборочной операции определяется – типом производства (его характеристикой: поточный, не поточный); оснащением рабочего места; квалификацией рабочих; временем, затрачиваемым на операцию; номенклатурой собираемых узлов; особыми условиями сборки (например, требованием термоконстантного помещения). В поточном производстве операции формируют кратными такту. В серийном непоточном производстве – по наиболее полной загрузке рабочих мест.

 







Date: 2015-07-23; view: 1925; Нарушение авторских прав



mydocx.ru - 2015-2026 year. (0.816 sec.) Все материалы представленные на сайте исключительно с целью ознакомления читателями и не преследуют коммерческих целей или нарушение авторских прав - Пожаловаться на публикацию