Главная Случайная страница


Полезное:

Как сделать разговор полезным и приятным Как сделать объемную звезду своими руками Как сделать то, что делать не хочется? Как сделать погремушку Как сделать так чтобы женщины сами знакомились с вами Как сделать идею коммерческой Как сделать хорошую растяжку ног? Как сделать наш разум здоровым? Как сделать, чтобы люди обманывали меньше Вопрос 4. Как сделать так, чтобы вас уважали и ценили? Как сделать лучше себе и другим людям Как сделать свидание интересным?


Категории:

АрхитектураАстрономияБиологияГеографияГеологияИнформатикаИскусствоИсторияКулинарияКультураМаркетингМатематикаМедицинаМенеджментОхрана трудаПравоПроизводствоПсихологияРелигияСоциологияСпортТехникаФизикаФилософияХимияЭкологияЭкономикаЭлектроника






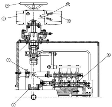
Порядок эксплуатации после запуска двигателя





 

После того, как двигатель выйдет на рабочую скорость, проводится процедура замыкания контактных колец, включающая устройство подъема и замыкания (1), или, альтернативно, включается тормозной двигатель (9), или вручную поворачивается маховик (7).

Замыкание производится через скользящую щетку (2) с серебряными контактами (3). После этого включается механизм подъема щеток (4).

После полного подъема щеток устройство автоматически отключается с помощью переключателя CCE.

OBS.:

1) Автоматическая система подъема щеток поставляется в комплекте с системой защиты от перегрузок для включения тормозного двигателя (9) через моментные выключатели с отключением при опускании (CLD) или подъеме щеток (CLE).


 


Рисунок 4.15

 

ДОПОЛНИТЕЛЬНЫЕ ПЕРЕКЛЮЧАТЕЛИ КОНЦА ЦИКЛА ДЛЯ СИГНАЛИЗАЦИИ.

CCL1 и CCL2 = Переключатель конца цикла, показывающие, что щетки полностью подняты.

CCA1 и CCA2 = Переключатель конца цикла, показывающие, что щетки полностью опущены.



2) До запуска двигателя убедитесь, что переключатели CLD, CLE, CCD и CCE правильно подключены к панели управления.

3) Если один из переключателей CLE или CLD находится в работе, до выяснения причины их работы система должна быть повторно подсоединена.

4) Предполагается, что конечный пользователь установит надежную систему сигнализации с выводом


рабочего алгоритма логической системы на панель управления автоматической системы подъема щеток.

5) Устройства управления и сигнализации в системе подъема щеток не входит в комплект поставки двигателя WEG.

6) После запуска двигателя щетки не могут соприкасаться с контактными кольцами, так как это может привести к повышенному износу щеток и контактного кольца и сбоям в работе системы подъема щеток.




Рисунок 4.16


Рисунок 4.17



СБОРКА







Date: 2015-07-23; view: 438; Нарушение авторских прав



mydocx.ru - 2015-2026 year. (0.565 sec.) Все материалы представленные на сайте исключительно с целью ознакомления читателями и не преследуют коммерческих целей или нарушение авторских прав - Пожаловаться на публикацию