Главная Случайная страница


Полезное:

Как сделать разговор полезным и приятным Как сделать объемную звезду своими руками Как сделать то, что делать не хочется? Как сделать погремушку Как сделать так чтобы женщины сами знакомились с вами Как сделать идею коммерческой Как сделать хорошую растяжку ног? Как сделать наш разум здоровым? Как сделать, чтобы люди обманывали меньше Вопрос 4. Как сделать так, чтобы вас уважали и ценили? Как сделать лучше себе и другим людям Как сделать свидание интересным?


Категории:

АрхитектураАстрономияБиологияГеографияГеологияИнформатикаИскусствоИсторияКулинарияКультураМаркетингМатематикаМедицинаМенеджментОхрана трудаПравоПроизводствоПсихологияРелигияСоциологияСпортТехникаФизикаФилософияХимияЭкологияЭкономикаЭлектроника






Приведите пример и поясните технологического процесса изготовления тонких пленок для ГИМС





Согласно определению, приведенному в лекции1, гибридные ИС представляют собой совокупность пленочных пассивных элементов и навесных активных компонентов. Поэтому технологию тонкопленочных ГИС можно разбить на технологию тонкопленочных пассивных элементов и технологию монтажа активных компонентов.

Рассмотрим здесь лишь изготовление пассивных элементов, так как основные виды монтажа НК, представлены выше, а технология монтажа достаточно прозрачна.

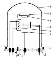
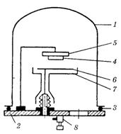
Изготовление пассивных элементов. Тонкопленочные элементы ГИС осуществляются с помощью технологических методов, путем локального (через маски) термического, катодного или ионно-плазменного напыления (см. курс «Основы технологии ЭКБ») того или иного материала на диэлектрическую подложку. Схемы технологических процессов представлены на рис. 2.10.

а б в

Рис. 3.1. Структурные схемы технологий получения тонких пленок: а – термическое напыление; б – катодное напыление; в – ионно-плазменное напыление (подробное представление о технологиях можно узнать из учебника «Основы микроэлектроники» И.П. Степаненко и др.)

 

В качестве масок длительное время использовались накладные металлические трафареты. Такие трафареты представляли собой тонкую биметаллическую фольгу с отверстиями-окнами. Основу трафарета составлял слой электрохимически нанесенного никеля толщиной 10-20 мкм. Последний определял размеры окон, т.е. рисунок трафарета, а слой бериллиевой бронзы выполнял роль несущей конструкции.

Серьезные недостатки металлических накладных трафаретов заключаются в том, что, во-первых, в процессе напыления пленок происходит напыление на сами трафареты, что меняет их толщину и постепенно приводит их в негодность. Во-вторых, металлические трафареты мало пригодны при катодном и ионно-плазменном напылении, так как металл искажает электрическое поле и, следовательно, влияет на скорость напыления. Поэтому в последние годы от металлических накладных трафаретов практически отказались и используют для получения необходимого рисунка фотолитографию – метод, заимствованный из технологии полупроводниковых ИС (подробнее можно узнать из учебника «Основы микроэлектроники» И.П. Степаненко и др.).

 

27. Какие материалы используются для изготовления подложек гибридных и совмещенных ИМС? Требования к подложкам.

Материалом подложек служат стекла, представляющие собой различные системы оксидов; керамика (в частности, поликор и бериллиевая керамика); ситалл; синтетический сапфир.

Подложки, используемые при изготовлении тонкопленочных схем, должны удовлетворять следующим требованиям:

· иметь большую механическую прочность при небольших толщинах;

· обладать высоким удельным электрическим сопротивлением и малыми потерями на высоких частотах и при высокой температуре;

· быть химически инертными к осаждаемым веществам;

· не иметь газовыделений в вакууме;

· сохранять физическую и химическую стойкость при нагревании до 400–5000С;

· иметь температурный коэффициент линейного расширения, близкий к коэффициентам расширения осаждаемых пленок;

· иметь хорошую адгезию к осаждаемым пленкам;

· обладать высокой электрической прочностью;

· иметь высокую теплопроводность.

Характеристики материалов подложек ГИМС показаны в таблице.

Электрофизические и механические параметры некоторых материалов подложек

Если требуется обеспечить хороший теплоотвод, высокую механическую прочность и жесткость конструкции, то применяют металлические подложки: алюминиевые, покрытые слоем диэлектрика или эмалированные стальные.

 







Date: 2015-07-23; view: 828; Нарушение авторских прав



mydocx.ru - 2015-2026 year. (0.889 sec.) Все материалы представленные на сайте исключительно с целью ознакомления читателями и не преследуют коммерческих целей или нарушение авторских прав - Пожаловаться на публикацию