Главная Случайная страница


Полезное:

Как сделать разговор полезным и приятным Как сделать объемную звезду своими руками Как сделать то, что делать не хочется? Как сделать погремушку Как сделать так чтобы женщины сами знакомились с вами Как сделать идею коммерческой Как сделать хорошую растяжку ног? Как сделать наш разум здоровым? Как сделать, чтобы люди обманывали меньше Вопрос 4. Как сделать так, чтобы вас уважали и ценили? Как сделать лучше себе и другим людям Как сделать свидание интересным?


Категории:

АрхитектураАстрономияБиологияГеографияГеологияИнформатикаИскусствоИсторияКулинарияКультураМаркетингМатематикаМедицинаМенеджментОхрана трудаПравоПроизводствоПсихологияРелигияСоциологияСпортТехникаФизикаФилософияХимияЭкологияЭкономикаЭлектроника






Проверка и регулирование топливных насосов высокого давления





Топливные насосы различны по конструкции, поэтому, приступая к проверке и регулированию их, необходимо это помнить. Правила регулирования топливных насосов указываются в инструкции по эксплуатации двигателя.

В реверсивных двигателях проверка осуществляется отдельно для работы «Вперед» и «Назад» и в случае съемных кулачных шайб - для каждого цилиндра.

Рассмотрим проверку и регулирование топливных насосов, показанных на рис. 1 - 4.

Проверка и регулирование начала подачи топлива. При проверке и регулировании начала подачи топлива отсоединяют трубопровод от насоса к форсунке и вместо него устанавливают стеклянную трубку (моментоскоп) внутренним диаметром 1 —1,5 мм и присоединяют ее к нагнетательному штуцеру насоса с помощью резиновой трубки.

Рис. 1. Топливный насос двигателя 8ДР 43/61.

Рукоятку поста управления двигателя ставят в позицию «Полный ход» и таким образом включают насосы на полную подачу топлива. Открывают на насосах устройства для выпуска воздуха и, применяя рычаг, передвигают плунжер до появления из этих устройств топлива без пузырьков воздуха.

Затем устройство для выпуска воздуха закрывают и продолжают передвигать плунжер, заполняя топливом часть стеклянной трубки.

Медленно проворачивают коленчатый вал по направлению вращения двигателя, наблюдая за положением топлива в моментоскопе. Как только уровень топлива стронется с места (насос начал подачу), вращение прекращают и определяют положение метки в.м.т. данного поршня на маховике по отношению к стрелке, закрепленной на станине двигателя.

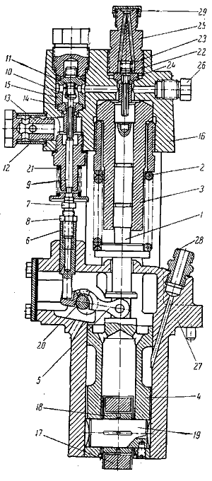
Рис. 2. Топливный насос двигателя СД 16,5/20.

Для этого рулеткой замеряют расстояние от отметки в.м.т. на маховике до стрелки и полученную величину делят на длину дуги, соответствующую повороту коленчатого вала на 1°. Полученная величина угла соответствует началу подачи топлива насосом. Например, длина обода маховика равна 5400 мм и в момент начала подачи топлива насосом отметка в.м.т. не дошла до стрелки при такте сжатия на расстояние 150 мм. В этом случае длина дуги, соответствующая повороту коленчатого вала на 1°, будет 5400/360= 15 мм и угол начала подачи топлива составит 150/15=10°. Полученный угол сравнивают с данными инструкции по эксплуатации двигателя.

Угол начала подачи топлива регулируют следующими способами:

  • перестановкой кулачных шайб (если позволяет конструкция);
  • изменением зацепления между шестернями, передающими вращение от коленчатого вала к валу топливных насосов;
  • изменением положения вала топливных насосов;
  • специальными устройствами в конструкции топливного насоса.

Момент начала подачи топлива насосом с регулированием количества подаваемого топлива концом подачи (см. рис. 2, 3) изменяют перестановкой кулачной шайбы, что влияет на начало подъема плунжера.

Рис. 3. Топливный насос двигателя МАН.

В насосе с регулированием количества подаваемого топлива началом подачи с помощью клапана (см. рис. 1) регулированием винта изменяют момент закрытия перепускного клапана, что обеспечивает изменение момента начала подачи топлива.

В насосе плунжерного типа с регулированием количества топлива началом подачи (см. рис. 4) регулированием активного хода плунжера изменяют момент закрытия верхним торцом плунжера отверстия в гильзе, вследствие чего изменяется момент начала подачи топлива.

Рис. 4. Схема топливного насоса золотникового типа.

Если начало подачи топлива регулируют перестановкой кулачной шайбы или изменением зацепления шестерен, передающих вращение от коленчатого вала к валу топливных насосов, либо изменением положения вала топливного насоса, то поступают следующим образом:

  • устанавливают коленчатый вал в положение, при котором насос проверяемого цилиндра должен начать подачу топлива. Для этого поворачивают вал по направлению вращения двигателя так, чтобы отметка в. м. т. соответствующего цилиндра не дошла до стрелки на угол опережения подачи топлива;
  • поворачивают кулачную шайбу относительно неподвижного вала, или выводят из зацепления шестерни и поворачивают вал топливных насосов, или отсоединяют вал топливных насосов и переставляют его на необходимый угол. Кулачную шайбу или, вал переставляют в сторону их вращения во время работы двигателя и заканчивают перестановку в момент изменения уровня топлива в моментоскопе, который присоединен к насосу проверяемого цилиндра;
  • закрепляют кулачную шайбу, или соединяют шестерни совпавшими зубьями, или присоединяют вал топливных насосов.

По окончании регулирования убеждаются в правильности ее выполнения, проверяя момент начала подачи топлива, как описывалось ранее.


Определение и регулирование количества, топлива, подаваемого насосом. При определении количества топлива, подаваемого насосами, к ним подсоединяют трубопроводы 1 высокого давления с эталонными или хорошо отрегулированными форсунками 2 (рис. 5) и рычаг, установленный на посту управления двигателя и действующий на топливные насосы, ставят в положение «Полный ход».

Рис. 5. Проверка топливных насосов на подачу количества топлива.

Затем методом, указанным выше (см. проверку начала подачи топлива), из насосов удаляют воздух и с помощью рычага производят каждым насосом равное число подач топлива в мензурки 3. Если количество топлива в мензурках разных форсунок отличается не больше чем на 5%, то насосы отрегулированы с достаточной точностью.

Ориентировочно максимальное количество топлива, подаваемого насосом в цилиндр за один впрыск, определяют следующим образом. Предположим, что мощность одного цилиндра четырехтактного двигателя 100 л. с. при 600 об/мин и расход топлива на 1 л. с.-ч 180 г (данные указываются в паспорте двигателя). В этом случае число рабочих ходов в час составляет (600·60)/2 =18 000 и, следовательно, подача топлива на один рабочий ход будет (180·100)/18000=1 г. Максимальное количество топлива, подаваемого насосом, с учетом перегрузки двигателя на 10% должно быть 1,1 г.

Количество топлива, подаваемого насосом, зависит от конструкции последнего. В насосе, изображенном на рис. 3, изменяют положение винта, вследствие чего клапан открывается раньше или позже, и количество подаваемого топлива изменяется.

В насосе, показанном на рис. 2, ввертывают или вывертывают винт, благодаря чему перепускная игла открывается на различную величину, и количество подаваемого топлива изменяется. В насосе, приведенном на рис. 4, поворотом плунжера изменяют момент совпадения отсечной кромки с отверстием в гильзе и, следовательно, количество подаваемого топлива изменяется.

Лучше всего проверять топливные насосы на равномерность подачи топлива по цилиндрам на специальном стенде, который приводится в действие электродвигателем.

Окончательное регулирование топливных насосов осуществляют во время работы двигателя по температуре отработавших газов, путем определения среднего индикаторного давления и т. п.

Проверка и регулирование «нулевого положения» топливных насосов. При положении рукоятки поста управления двигателем в позиции «Стоп» насосы не должны подавать топливо («нулевое положение»), вследствие чего двигатель останавливается.

Метод регулирования на «нулевое положение» зависит от конструкции насоса и механизма, передающего усилие от рукоятки поста управления к насосам. Регулирование на «нулевое положение» осуществляют следующим образом:

  • устанавливают моментоскоп, удаляют воздух из насосов, плунжер передвигают при помощи рычага, наблюдают за подачей топлива насосом в моментоскоп (см. проверку начала подачи топлива);
  • рукоятку поста управления двигателем переводят в позицию «Стоп» и продолжают передвигать плунжер. Если уровень топлива в моментоскопе не изменяется, то насос на «нулевое положение» отрегулирован правильно.

При необходимости регулируют механизм, передающий усилие от рукоятки поста управления к насосам, или переставляют ограничитель передвижения рукоятки в положение, обеспечивающее нулевую подачу топлива насосами.


Проверка плотности клапанов и пары плунжер—втулка. Для проверки плотности нагнетательного клапана отсоединяют от насоса трубопровод форсунки и вместо него присоединяют трубку, на конце которой устанавливают манометр. При помощи рычага (предварительно выпустив воздух) прокачивают насос и создают в манометре давление топлива, примерно в 2 раза большее, чем при подъеме иглы форсунки.

Затем плунжер передвигают вниз (нагнетательный клапан закроется) и наблюдают за показанием манометра. Падение давления на 100 кгс/см2 должно происходить не скорее чем за 5 мин при начальном давлении около 500 кгс/см2 и за 10 мин при начальном давлении 300 кгс/см2. При более быстром падении давления требуется притирка клапана пастой ГОИ или другими подобными пастами, величина зерна (крупинок) которых не превышает 0,003—0,005 мм.

Плотность всасывающего, перепускного или отсечного клапана можно проверить только с предварительной частичной разборкой насоса, с использованием специального пресса или соседнего насоса для создания необходимого давления, при установке заглушек в необходимые места в зависимости от конструкции насоса и объекта испытания.

Например, для проверки в насосе, изображенном на рис. 2, всасывающего клапана необходимо:

  • установить заглушки под седло 10, между корпусом и втулкой, вынуть нагнетательный клапан и присоединить к штуцеру соседний топливный насос;
  • открыть всасывающий клапан и топливом из соседнего насоса прокачать проверяемый насос с целью удаления воздуха из системы;
  • закрыть всасывающий клапан и соседним насосом создать необходимое давление, которое контролируется по манометру, установленному на трубопроводе между насосами.

Если проверяется перепускная игла, то заглушки устанавливают вместо гнезда между корпусом и втулкой, вынимают нагнетательный клапан, присоединяют к штуцеру соседний топливный насос, открывают перепускную иглу и воздушный клапан, прокачивают систему топливом из соседнего насоса. Затем перепускную иглу закрывают и соседним насосом в системе создают давление опрессовки.

Давление испытания различных клапанов насоса и нормы его падения те же, что и при испытании нагнетательного клапана.

Плотность пары плунжер - втулка проверяют также опрессовкой с помощью соседнего насоса, но заглушки устанавливают вместо всех клапанов, кроме нагнетательного. Последний вынимают. Например, при проверке плотности пары плунжер - втулка в насосе, изображенном на рис. 2, заглушки устанавливают под седло и вместо гнезда.

Нормы плотности пары плунжер — втулка должны соответствовать величинам, указанным в заводской инструкции. При отсутствии этих данных можно руководствоваться помещенными ниже средними нормами.


Время падения давления с 200 до 150 кгс/см2 (на 50 кгс/см2) для плунжерных пар золотникового типа должно быть не менее 15 сек для новых и не менее 5 сек для имеющих износ; для гладких плунжеров — не менее 20 сек для новых и не менее 7 сек для имеющих износ.

Разность плотности плунжерных пар, установленных на одном двигателе, должна быть не более ±15% средней плотности для новых плунжерных пар и не менее ±20% средней плотности для плунжерных пар, имеющих износ.

При необходимости пару плунжер — втулка заменяют запасной.







Date: 2015-07-01; view: 1471; Нарушение авторских прав



mydocx.ru - 2015-2026 year. (2.692 sec.) Все материалы представленные на сайте исключительно с целью ознакомления читателями и не преследуют коммерческих целей или нарушение авторских прав - Пожаловаться на публикацию