Главная Случайная страница


Полезное:

Как сделать разговор полезным и приятным Как сделать объемную звезду своими руками Как сделать то, что делать не хочется? Как сделать погремушку Как сделать так чтобы женщины сами знакомились с вами Как сделать идею коммерческой Как сделать хорошую растяжку ног? Как сделать наш разум здоровым? Как сделать, чтобы люди обманывали меньше Вопрос 4. Как сделать так, чтобы вас уважали и ценили? Как сделать лучше себе и другим людям Как сделать свидание интересным?


Категории:

АрхитектураАстрономияБиологияГеографияГеологияИнформатикаИскусствоИсторияКулинарияКультураМаркетингМатематикаМедицинаМенеджментОхрана трудаПравоПроизводствоПсихологияРелигияСоциологияСпортТехникаФизикаФилософияХимияЭкологияЭкономикаЭлектроника






Относительное положение поверхности и плоскости





Сечение поверхности плоскостью – это плоская фигура все точки которой принадлежат одновременно поверхности и плоскости.

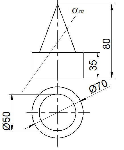
Задача 7.1. Построить три проекции сечений поверхности цилиндра плоскостями (рис. 10).

Рис. 10.

Задача 7.2. Построить проекции сечений поверхности конуса плоскостями (рис. 11).

 

Рис. 11.

Задача 7.3. Построить три проекции сечения поверхности сферы плоскостью (рис. 12).

Рис. 12.

Задача 7.4. Построить три проекции поверхности цилиндра с вырезом (рис. 13).

Рис. 13.

 

Задача 7.5. Построить три проекции поверхности сферы с вырезом (рис. 14).

Рис. 14.

Задача 7.6. Построить три проекции поверхности конуса с вырезом (рис. 15).

Рис. 15.

Задача 7.7. Построить три проекции сечения комбинированной поверхности плоскостью и определить натуральную величину сечения (рис. 16, 17, 18, 19).

Рис. 16. Рис. 17.

Рис. 18. Рис. 19.

Задача 7.8. Построить натуральную величину сечения тора плоскостью.

Рис. 20.

Задача 7.9. Построить три проекции поверхности с вырезом (рис. 21, 22, 23, 24).

Рис. 21. Рис. 22.

Рис. 23. Рис. 24.

 

 







Date: 2015-07-01; view: 1777; Нарушение авторских прав



mydocx.ru - 2015-2026 year. (0.464 sec.) Все материалы представленные на сайте исключительно с целью ознакомления читателями и не преследуют коммерческих целей или нарушение авторских прав - Пожаловаться на публикацию