Главная Случайная страница


Полезное:

Как сделать разговор полезным и приятным Как сделать объемную звезду своими руками Как сделать то, что делать не хочется? Как сделать погремушку Как сделать так чтобы женщины сами знакомились с вами Как сделать идею коммерческой Как сделать хорошую растяжку ног? Как сделать наш разум здоровым? Как сделать, чтобы люди обманывали меньше Вопрос 4. Как сделать так, чтобы вас уважали и ценили? Как сделать лучше себе и другим людям Как сделать свидание интересным?


Категории:

АрхитектураАстрономияБиологияГеографияГеологияИнформатикаИскусствоИсторияКулинарияКультураМаркетингМатематикаМедицинаМенеджментОхрана трудаПравоПроизводствоПсихологияРелигияСоциологияСпортТехникаФизикаФилософияХимияЭкологияЭкономикаЭлектроника






Аэродромные пожарные автомобили





 

К уровню противопожарной защиты аэродромов предъявляют ряд специфических требований. Они обусловлены, прежде всего, необходимостью спасания людей при авариях воздушных судов и тушению пожаров на них. На аэродромах возникает потребность тушения горящего разлитого топлива как под фюзеляжами самолетов, так и на взлетно-посадочной полосе (ВПП) и вне ее. Иногда появляется необходимость покрытия ВПП слоем воздушно-механической пены для облегчения посадки самолетов, терпящих бедствие.

Аэродромы гражданской авиации, в зависимости от габаритных размеров эксплуатируемых судов и интенсивности взлетов и посадок на них летательных аппаратов, разделяются на 9 категорий.

Для обеспечения пожарной безопасности на аэродромах должно быть по одному пожарному автомобилю с запасом огнетушащих веществ до 8 т (на аэродроме 9-й категории – 2 таких автомобиля). На аэродромах более 1-4 категории должно быть еще от 1 до 3 пожарных автомобилей с запасом огнетушащих веществ более 8 т.

В зависимости от категории аэродрома пожарные автомобили должны обеспечивать подачу огнетушащих веществ в количестве от 6 до 220 л/с.

Расположение аварийно-спасательных станций на аэродромах и требования к техническим характеристикам аэродромных пожарных автомобилей требуют боевого развертывания в течение не более трех минут. При этом следует исходить из того, что до 30 % всех аварий с летательными аппаратами происходит на ВПП; до 30 % – вне ее, а около 16 % – за пределами ВПП (рис. 9.10).

По требованию международной организации гражданской авиации (ИКАО) аэродромные ПА должны развивать скорость более 100 км/ч, а разгон до 80 км/ч должен осуществляться за время 40 – 45 с.

Тушение пожаров на аэродромах осуществляется только огнетушащими веществами, которые содержатся в цистернах пожарных автомобилей. Поэтому аэродромные пожарные автомобили создаются на шасси большой грузоподъемности.

 
 

 


Рис. 9.10. Распределение аварий с самолетами

 

Необходимость движения на взлетно-посадочной полосе и вне ее требует, чтобы использовались полноприводные шасси с колесной формулой 6х6 или 8х8.

Задачи по тушению пожаров характеризуются узким диапазоном работ, поэтому численность боевых расчетов на них невелика – 3 – 4 человека, включая водителя.

Для тушения пожаров или покрытия пеной ВПП требуется большой расход огнетушащих веществ, поэтому управляющая арматура водопенных коммуникаций оборудуется пневмо- или гидроэлектроприводом.

Стартовые пожарные автомобили находятся на дежурстве вблизи ВПП непрерывно. Они, как и дежурные пожарные автомобили, оборудованы подогревающими устройствами цистерны с водой, пенобака, насосного отсека. На них используются подогреватели типа ПДЖ-600 (теплопроизводительность до 25 МДж) или электроподогреватели. Общая мощность электроподогревателей достигает на некоторых машинах 12 кВт.

Пожарные аэродромные автомобили имеют дополнительные средства тушения. Такими средствами могут быть переносные установки СЖБ-50, порошковые огнетушители ОП-100, углекислотные установки с запасом углекислоты в количестве 50 – 100 кг.

Аэродромные пожарные автомобили укомплектованы пожарными напорными рукавами различных диаметров (по 4 – 6 штук), всасывающими и напорно-всасывающими рукавами.

Для вскрытия фюзеляжа на машинах могут быть одна-две дисковые пилы ПДС-400.

Пожарные насосы. На пожарных аэродромных автомобилях устанавливают насосы ПН-40УВ, ПН-60Б, на некоторых машинах применяют насосы фирмы Zigler с подачей 80 л/с и развиваемым напором (100±5) м.

Насос ПН-60Б при напоре 100 м и 3000 об/мин при высоте всасывания подает воды 60 л/с. Максимальная глубина всасывания равна 7,5 м. Эти насосы, как правило, имеют автономный двигатель привода.

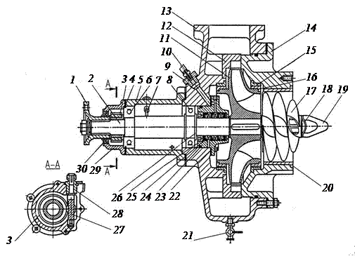
Насос (рис. 9.11) центробежный одноступенчатый с направляющим аппаратом 12 и предвключенным колесом 17. Предвключенное колесо обеспечивает лучшую всасывающую способность насоса, а направляющий аппарат устраняет радиальные нагрузки на вал.

 
 

 


Рис. 9.11. Пожарный насос:

1 – муфта фланца; 2 – вал; 3 – червяк привода спидометра; 4 – кольцо; 5 - проставка корпуса; 6, 8 – подшипник; 7 – щуп; 9 – штуцер; 10 – шланг; 11 – рабочее колесо;
12 – направляющий аппарат; 13 – корпус; 14 – корпус крышки насоса; 15, 16, 20,
23 – уплотнительное кольцо; 17 – предвключенное колесо; 18 – стопорная шайба;
19 – гайка; 21 – сливной краник; 22 – прокладка; 24 – манжета; 25 – уплотнительный стакан; 26 – кольцо стопорное; 27 – ведомая шестерня привода тахометра;
28 – направляющая втулка; 29 – крышка; 30 – сальник


 

Направляющий аппарат имеет шесть отводных каналов, равномерно расположенных по окружности.

При работе насоса вода от рабочего колеса 11 по каналам аппарата поступает в кольцевую камеру корпуса 13, к напорному патрубку, на котором крепится напорный коллектор водопенных коммуникаций. К корпусу крышки насоса 14 подсоединяется тройник всасывающей линии.

Рабочее и предвключенное колеса закреплены на валу 2 шпонкой и стопорной шайбой 18 и гайкой 19.

Герметизация рабочего колеса внутри корпуса насоса осуществляется уплотнительными кольцами. От внешней среды внутренняя полость насоса защищается резиновыми манжетами, размещенными в стакане. Червячное колесо привода тахометра закреплено на валу насоса. В хвостовой его части на шлицах закреплена муфта привода от двигателя.

Система всасывания оборудована газоструйным вакуумным аппаратом. На насосе используется пеносмеситель ПС-5.

Источником энергии пожарного насоса может быть двигатель шасси или автономный двигатель. При последнем варианте насос и двигатель могут быть в одном агрегате или соединены трансмиссией с карданными валами.

Технические характеристики современных аэродромных автомобилей приводятся в табл. 9.3.

Таблица 9.3

Показатели Раз- мер- ность Модель автомобиля
АА-40(43105)-189 АА-5,3/40-50/3 АА-8/60-60/3 АА-7,2/55-(4320) АА-60(7310)-180 АА-15/80-100/3
Тип шасси - КамАЗ-43105 КамАЗ-433101 КамАЗ-43118 «Урал-4320» МАЗ-7310 МЗКТ
Колесная формула - 6х6 8х8
Боевой расчет (включая водителя) человек   3/5        
Полная масса кг            
Скорость км/ч        
Тип насоса - ПН-40УВ ПН-60Б Циглер ГР-48/8-24
Подача насоса л/с      
Число ГПС-600 для покрытия пеной ВПП шт. -     16 ГПС-200 -  
Число подбамперных насадков ГПС-600 шт.   - -   -  
Дополнительные средства тушения   ОП-100 -1 шт. СО2 – 50 кг СО2 – 50 кг   СЖБ-50 - 2 шт. ОП-100 -1 шт. СО2 – 100 кг

Примечание: Расшифровка обозначения АА-5,3/40-50/3 – запас ОВ/мод. насоса – доп. ОВ/боевой расчет.

 

Рассмотрим конструктивные особенности ряда аэродромных автомобилей (АА).

Аэродромный автомобиль АА-60(7310)-160.01 сооружен на шасси грузового автомобиля высокой проходимости МАЗ-7310. Его колесная формула 8х8, мощность двигателя 386 кВт. Общее устройство АА показано на рис. 9.12. За кабиной водителя размещен двигатель базового шасси в отсеке 2. За ним установлена цистерна 6 и пенобак 7. Цистерна имеет теплоизоляцию и подогрев воды. Он осуществляется тремя трубчатыми электроподогревателями НВЖ 2/3 или выхлопными газами подогревателя ПЖД-600 (мощность 25 МДж). Пенобак обогревается одним электроподогревателем.

 
 

 


Рис. 9.12. Автомобиль аэродромный пожарный АА-60(7310) мод 160.01:

1 – лафетный ствол; 2 – отсек для двигателя шасси; 3 – ящик для ЗИП; 4 – подогреватель; 5 – ящик ЗИП; 6 – цистерна для воды; 7 – бак пенообразователя; 8 – ящик ЗИП шасси; 9, 10 – отсек моторно-насосного агрегата; 11 – радиатор обогрева
насосного отсека; 12 – подножка откидная; 13 – система выпуска газов;
14 – щит электрооборудования; 15 – отсек ПТВ; 16 - шасси МАЗ-7310


 

Пожарный насос ПН-60Б имеет автономный привод от двигателя ЗИЛ-375 мощностью 132 кВт. Мотор – насосный агрегат 9 установлен в корме автомобиля. Отсек агрегата обогревается специальным радиатором от двигателя.

Пожарно-техническое вооружение и ЗИП автомобиля размещены, соответственно в отсеке 15, на крыше автомобиля и в ящиках 3 и 5.

В передней части автомобиля установлена опора для лафетного ствола 1. Лафетный ствол комбинированный и может подавать воду или воздушно-механическую пену.

Принципиальная схема водопенных коммуникаций представлена на рис. 9.13. В отличие от ранее рассматриваемых схем следует указать на ряд особенностей. Во-первых, клапаны 4, 6, 10, 11 и 13, кроме ручного включения, могут управляться дистанционно с помощью пневмосистемы.

Во-вторых, задвижка 13 коллектора открывается только при заправке цистерны водой насосом или перед использованием лафетного ствола 9.
В-третьих, в системе имеет-ся дополнительная линия
подачи пенообразователя из пенобака 5, через клапан 4,
минуя пеносмеситель 2.
Этот путь используется при работе лафетным стволом 9.

Включение клапана 13 может осуществляться как от пневмосети автомобиля, так и от компрессора автономного двигателя ЗИЛ-375.

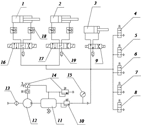
Управление элементами водопенных коммуникаций может осуществляться вручную или дистанционно системой пневмоуправления (рис. 9.14). Питание системы дублировано и осуществляется от пневмосети автомобиля (воздушный баллон 11) или от компрессора 12 двигателя ЗИЛ-375. На приводимой схеме с помощью распределителей с электроуправлением 16 и 17 осуществляется управление пневмоцилиндрами двойного действия 1 и 2, переключающими подачу к лафетному стволу воду или раствор пенообразователя. Пневмоцилиндр 3 двойного действия, включаемый распределителем 9 с электроуправлением, предназначен для включения и выключения сцепления моторно-насосного агрегата. Отдельные электропневматические клапаны обеспечивают управление клапанами Ду-32, Ду-90, Ду-125, Ду-150 и Ду-50.

Для дистанционного управления положением лафетного ствола предусмотрен гидропривод (рис. 9.15). Он состоит из маслобака 1, установленного на крыше насосного агрегата, масляного насоса 3, золотника 5 (1) управления гидроцилиндром 7 перемещения лафетного ствола в вертикальной плоскости, золотника 5 (2) управления гидроцилиндром 6 поворота лафетного ствола, трубопроводов, шлангов высокого давления, предохранительного клапана 4 и фильтра 11. Для заполнения системы гидропривода используется ручной насос 8, который входит в комплект автомобиля.


В этом гидроприводе используется масляный насос гидроусилителя руля автомобиля ЗИЛ-375, вал которого находится в постоянном зацеплении с валом двигателя.

 
 

 


Рис. 9.14. Система пневмопривода:

1, 2 – цилиндр управления лафетным стволом; 3 – цилиндр управления сцеплением;
4 – клапан Ду-32; 5 – клапан Ду-90; 6 – клапан Ду-125; 7 – клапан Ду-150; 8 – клапан Ду-50; 9 – распределитель с электроуправлением; 10 – клапан ограничитель;
11 – воздушный баллон; 12 – компрессор; 13 – фильтр; 14 – регулятор давления;
15 – манометр; 16, 17 – пневмораспределители с электроуправлением;
18 – дроссель с обратным клапаном; 19 – пневмоглушитель

 

Щитки управления лафетным стволом, запорной арматурой водопенных коммуникаций, запуском двигателя насосного агрегата, включения сцепления и контроля за работой агрегатов находятся в правой и левой кабине автомобиля, в насосном отсеке и у лафетного ствола.

В комплект пожарного оборудования основного аэродромного автомобиля входят две установки СЖБ-60 и порошковый огнетушитель ОП-100. Для вскрытия конструкций самолетов на автомобилей вывозятся две дисковые пилы ПДС-400 с бензомоторными двигателями. Все пожарное оборудование размещается в отсеках кузова, насосном отсеке, на крыше автомобиля и надежно закрепляется специальными зажимами.

Аэродромный автомобиль АА-7,2/55-(4310). Автомобиль сооружен на шасси Урал-4310. Основные элементы компоновки его представлены на рис. 9.16. За кабиной шасси находится площадка для ПТВ. На ней размещены колонка, напорно-всасывающие рукава, огнетушитель ОПУ-2-03 9, огнетушитель ОУ-80 и другое оборудование. В переднем отсеке 3 установлен автономный двигатель ЯМЗ-236 для привода насоса, размещенного в заднем отсеке 7. Трансмиссия насоса включает редуктор, повышающий обороты, и два карданных вала, соединенных промежуточным валом.

На кузове автомобиля установлен лафетный ствол 4 СПЛК-60 с ручным управлением с помощью оператора. Цистерна 5 размещена между автономным двигателем и пожарным насосом. На крыше кузова закреплено ПТВ 6. Оно включает лестницу, пять пеногенераторов ГПС-600, два всасывающих рукава и трубы для заливки полосы пеной.

В переднем отсеке (за двигателем) размещаются соединительные головки, стволы СРК, гидроэлеватор, сетка СВ-125, водосборник и другое оборудование.

В заднем отсеке установлен насос ПН-60, бак с пенообразователем и размещается ПТВ. Оно включает 16 пеногенераторов ГПС-200; шесть ПНР диаметром 77 мм; четыре ПНР диаметром 51 мм, аптечку.

 
 

 


Рис. 9.16. Общий вид АА-7,2/55(4310):

1 – шасси; 2 – площадка ПТВ; 3 – передний отсек, двигатель ЯМЗ-238; 4 – лафетный ствол; 5 – цистерна; 6 – ПТВ; 7 – задний отсек, центробежный насос ПН-60 и ПТВ;
8 – установка покрытия ВПП пеной; 9 – углекислотная установка; 10 – установка тушения пожара самолета УТПС-3

В кормовой части автомобиля размещается установка 8, предназначенная для покрытия взлетно-посадочной полосы воздушно-механической пеной. Она имеет ручное управление, которое осуществляется пожарным с подножки насосного отсека.

На бампере впереди автомобиля сооружена установка тушения пожара самолета (УТПС-3). Она включает три блока ГПС-600. Управление ею электрогидравлическое дистанционное – осуществляется из кабины водителя.

УТПС-3 предназначена для тушения разлитой горючей жидкости воздушно-механической пеной на взлетно-посадочной полосе; пожаров под крылом и фюзеляжем воздушного судна, а также для тепловой защиты кабины пожарного автомобиля.

Взаимное размещение УТПС, лафетного ствола и пожарного насоса представлено на рис. 9.17. Вода или пенообразователь подается насосом 9 в лафетный ствол 6 и (или) к установке УТПС 1. Включение лафетного ствола осуществляется краном управления 7. УТПС 1 включается краном управления 3, который приводится в действие пневмоприводом 5.

 
 


Рис. 9.17. Установка УТПС и лафетного ствола:

1 – установка УТПС; 2 – передний отсек; 3 – кран управления УТПС; 4 – упор;
5 – пневмопривод включения крана; 6 – лафетный ствол; 7 – кран управления лафетным стволом; 8 – цистерна; 9 – насос

Установка тушения пожара самолета, размещенная на коллекторе, состоит из трех поворотных блоков 1 и 2, расположенных на коллекторе 4 ствола-пеногенератора, поворотного коллектора 4, подводящей магистрали 5 и гидрооборудования 6, 7, 8 и 9 (рис. 9.18).

Поворотный блок ствола-пеногенератора состоит из распылителя 1 и пеногенератора 2 ГПС-600. Он поворачивается гидроцилиндром 3 в горизонтальной плоскости на угол от 0 до 55о вправо и влево от оси автомобиля. Пеногенератор 2 служит для подачи воздушно-механической пены. Ствол-распылитель предназначен для создания водяной завесы. При подаче водопенной эмульсии в ствол-распылитель 1 турбина 13 на конце ствола приводится во вращение и разбрызгивает ее веером перед кабиной автомобиля.

 
 

 

 


Рис. 9.18. Установки тушения пожаров самолета:

1 – ствол-распылитель; 2 – пеногенератор; 3 – гидроцилиндр поворота; 4 –коллектор;
5 – подводящая магистраль; 6 – маслопроводы; 7 – гидропанель гидрораспределителей; 8 – насос масляный; 9 – бак масляный; 10 – гидроцилиндр подъема; 11 – фиксатор подъема; 12 – фиксатор поворота; 13 – турбина

 

Гидроцилиндр 10 осуществляет поворот коллектора 4 вместе с блоками стволов и пеногенераторов в вертикальной плоскости: от 45о вверх относительно горизонтального уровня до 20о вниз (рабочее положение).

В транспортном положении коллектор и блоки ствола-пеногенератора закрепляются фиксаторами 11 и 12. Перед началом работы фиксаторы необходимо вытянуть на себя и повернуть на 90о относительно оси фиксатора.

Подводящая магистраль 5 служит для подвода раствора пенообразователя от пожарного насоса к УТПС.

Гидрооборудование предназначено для управления блоками ствола-пеногенератора и коллектора 4. Оно включает маслобак 9 вместимостью 30 л, установленный под левым передним отсеком, гидроцилиндры и масляный насос 8. Насос лопастной двойного действия (от гидроусилителя руля) с подачей от 9 до 23 л/мин. Он установлен на двигателе ЯМЗ-236 и приводится во вращение ременной передачей от шкива коленчатого вала.

В гидросистеме используется масло ВМГ3 ТУ 38-101479-74. Рабочее давление масла 5,5 МПа контролируется маномером, установленном на гидропанели 7.

Управление движением блоков ствола-пеногенератора осуществляется четырьмя электромагнитами (напряжение 24 В), входящими в состав гидрораспределителей и четырех включателей, подающих питание от аккумуляторных батарей автомобиля на электромагниты гидрораспределителей. Кнопки для управления размещены в кабине на передней панели.

Водопенные коммуникации АА-7,2/55(4310) по сравнению с авто-
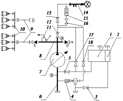
цистернами имеют ряд особенностей. Рассмотрим их по принципиальной схеме, представленной на рис. 9.19.

1. В систему включена установка 1 тушения пожара самолета. При максимальном расходе воды 40 л/с достигается подача пены средней кратности 1800 л/с. Кран 2 Ду-100 имеет пневмопривод.

 
 

 


Рис. 9.19. Водопенные коммуникации АА-7,2/55(4310):

1 – установка тушения пожара самолета (УТПС); 2, 5, 20 – краны Ду-100;
3, 11 – краны Ду-150; 4 – лафетный ствол ЛСПК-60; 6 – цистерна; 7 – уровнемер;
8 – пожарный насос ПН-60; 9 – вентиль Ду-100; 10 – кран сливной; 12 – коллектор
с соединительными головками Ду-50; 13 – всасывающий патрубок насоса;
14 – пеносмеситель; 15 – головка-заглушка всасывания Ду-50; 16, 17 – кран Ду-40;
18 – пенобак; 19 – головка-заглушка напорная Ду-80; 21 – затвор вакуумный

 

При работе насоса 8 вода поступает в насос из цистерны 6 при включенном кране 11. Пенообразователь из пенобака 18 при включенном кране 17 поступит в пеносмеситель 14, а затем во всасывающий патрубок 13 насоса 8. Раствор пенообразователя из насоса через кран 2 будет подводиться к ГПС-600 УТПС 1.

2. Пневмоприводом оборудован кран 17 Ду-40 подачи пенообразователя.

3. В схеме предусмотрено устройство для покрытия взлетно-посадочной полосы (ВПП) пеной. Пеногенераторы ГПС-200 в количестве 16 штук присоединяются к головкам коллектора 12. Коллектор состоит из трех частей: центрального коллектора, жестко закрепленного на раме автомобиля и двух боковых съемных коллекторов. Эти коллекторы соединяются с центральным коллектором соединительными муфтами. В рабочем положении они удерживаются тягами и распорными штангами. В походном положении боковые коллекторы размещаются на крыше автомобиля, а ГПС-200 – в заднем отсеке.

Смесь пенообразователя с водой образуется в насосе, как и в случае подачи ее в УТПС. Из коллектора насоса 8 через вентиль 9 она поступит к коллекторам 12, а затем в ГПС-200.

Комплект 16 ГПС-200 обеспечивает подачу пены средней кратности до 3000 л/с, покрывая полосу шириной не менее 12 м.

4. В системе водопенных коммуникаций установлен вакуумный затвор 21 оригинальной конструкции (рис. 9.20). При повороте рукоятки газового крана 5 вакуумный кран через патрубок 6 соединит полость насоса с камерой газоструйного вакуумного аппарата. Привод его заслонки пневматический. Контроль заполнения насоса водой осуществляется через прозрачную втулку 3. По заполнении насоса водой при выворачивании дренажного винта 7 трубопровод, идущий к газоструйному насосу, соединяется с атмосферой, что способствует полному и быстрому сливу воды из трубопровода при закрытом кране 5.

5. Водопенные коммуникации позволяют подавать воду или раствор пенообразователя к стволам или пеногенераторам по рукавным линиям, подсоединяемым к кранам 20 при снятых напорных заглушках 19 (см. рис. 9.19).

Заполнение цистерны водой может производиться при заборе ее из открытого водоисточника или от пожарной водопроводной сети. При этом через всасывающий патрубок 13 вода поступит в насос, а затем через кран 5 в цистерну.

Заполнение пенобака 18 пенообразователем можно осуществлять через заливную горловину или из посторонней емкости через кран 16 при снятой головке-заглушке 15.

Автомобиль аэродромный АА-8,0/60-50/3 (43118). Агрегаты и системы автомобиля установлены на шасси грузового автомобиля КамАЗ-48118 с колесной формулой 6х6. Энергетической установкой на нем является дизель КамАЗ-740 с турбонаддувом мощностью 191 кВт при частоте вращения вала 2600 об/мин. Общий вид автомобиля представлен на рис. 9.21.

На автомобиле установлен центробежный насос ПН-60. Привод к нему осуществляется от коробки отбора мощности с помощью трех карданных валов и двух промежуточных опор. Насосный отсек оборудован подогревателем ОВ65.

 
 

 

 


Рис. 9.21. Пожарный аэродромный автомобиль АА-8,0/60-50/3 (43118):

1 – шасси; 2 – проблесковый маячок; 3 – рукав; 4 – лафетный ствол; 5 – цистерна с пенобаком; 6 – кузов; 7 – пожарно-техническое вооружение; 8 – насосная установка;
9 – установка для покрытия ВПП пеной

 

Вакуумная система состоит из газоструйного вакуумного аппарата, вакуумного клапана и трубопровода.

Цистерна вместимостью 7500 л сварена из листовой стали. Пенобак вместимостью 500 л встроен в цистерну. Цистерна и пенобак имеют по пять датчиков уровня воды. Светодиоды сигнализатора уровня воды и пенообразователя расположены на панелях приборов в насосном отделении и в кабине водителя.

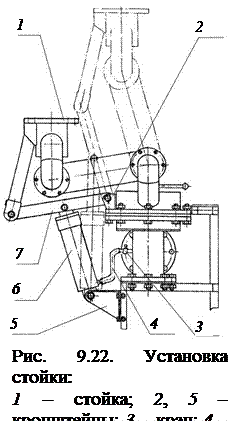
Лафетный ствол может подавать в очаг горения воду или воздушно-механическую пену. Управление им осуществляется вручную с помощью двух маховичков. Крепится лафетный ствол к специальной стойке.

Стойка предназначена для выдвижения лафетного ствола в рабочее положение и представляет собой сборную стальную конструкцию с подвижными фланцевыми соединениями. Крепится она к специальной раме.

Выдвижение стойки с лафетным стволом в рабочее положение производится гидроцилиндром под давлением воды, подаваемой насосом.

Гидроцилиндр 6 проушиной цилиндра крепится к кронштейну 5 (рис. 9.22) на раме. Проушина штока крепится к тяге 7, которая шарнирно закреплена в кронштейне 2. При подаче воды из насоса в цилиндр 6 его шток, выдвигаясь, повернет тягу 7 и стойка 1 с лафетным стволом поднимется вверх.

Для приведение в действие гидроцилиндра 6 необходимо открыть кран 3 подачи воды в поршневую полость гидроцилиндра. При выключении пожарного насоса давление в его коллекторе снижается и стойка с лафетным стволом под тяжестью собственной массы возвращается в транспортное положение. При этом вода будет выдавливаться из полости гидроцилиндра.

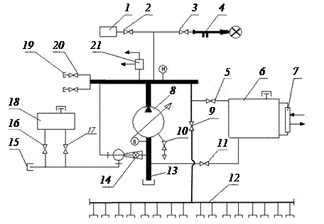
Ряд особенностей имеют водопенные коммуникации (рис. 9.23). Заполнение цистерны водой можно производить, заливая ее через люк от посторонних источников. При заправке с открытого водоема вода поступает через всасывающие рукава, предварительно подсоединенные к патрубку 6 насоса 7, работающий насос 7, открытую задвижку 12 и вентиль 17. Аналогичным образом осуществляется заправка цистерны и от водопроводной сети.

 
 

 

 


Рис. 9.23. Водопенные коммуникации АА-8/60-50/3 (43118)-549:

1 – цистерна; 2 – пенобак; 3 – вентиль Ду-25; 4 – пеносмеситель; 5 – клапан Ду-125;
6 – всасывающий патрубок; 7 – насос ПН-60; 8 – коллектор насоса; 9 – рукав напорный диаметром 77 мм; 10 – установка для покрытия пеной ВПП; 11 – вакуумный кран;
12 – задвижка; 13 – задвижка; 14 – лафетный ствол; 15 – гидроцилиндр подъема
лафетного ствола; 16 – шаровой кран; 17 – вентиль; 18 – вентиль Ду-25

 

При подаче воды лафетным стволом 14 из цистерны необходимо открыть клапан 5, задвижки 12 и 13. Для подъема лафетного ствола следует, открыв шаровой кран 16, обеспечить поступление воды в гидроцилиндр 15 подъема лафетного ствола.

К напорным патрубкам с задвижками А и В насоса 7 может быть подсоединен пеногенератор ГПС-600 или трехходовое разветвление РТ-80. К последнему могут быть подключены воздушно-пенные стволы СВП-4 и ствол РСК-50. Для подачи к ним воды (или раствора пенообразователя) применяются прорезиненные напорные рукава диаметром 77 мм и длиной 20 м.

К разветвлению или ГПС-600 прокладываются рукавные линии из прорезиненных напорных рукавов диаметром 51 мм и длиной 20 м.

На автомобиле предусматривается установка для покрытия пеной ВПП. Покрытие производится пеной средней кратности при аварийных посадках самолетов.

Установка является съемным агрегатом. Она состоит из двух пенных коллекторов 10. Каждый из них выполнен в виде трубы с одним подводящим и тремя отводящими патрубками. На отводящих патрубках устанавливаются генераторы пены ГПС-600. Подвод к ним раствора пенообразователя осуществляется по напорным рукавам 9, которые подсоединяются к напорным патрубкам с задвижками А и В коллектора пожарного насоса.

Собранная установка навешивается на задний бампер автомобиля. После этого она соединяется с напорными задвижками.

После навешивания установки запускается насос, открываются задвижка 13 и клапан 5 подачи пенообразователя, достигается давление
0,7 – 0,8 МПа (70 – 80 м вод.ст.) и открываются задвижки А и В напорных патрубков.

С началом выхода пены из генераторов начинается движение автомобиля в соответствии с выбранной схемой покрытия ВПП.

На автомобиле в передней части кузова крепится углекислотная установка. В ее состав входят два баллона с углекислотой массой по 25 кг в каждом и две катушки с рукавами 2´20 м. На одной катушке установлен раструб с рукавом, а на другой – ствол-пробойник. Интенсивность подачи углекислоты 3 кг/с.

Пожарные аэродромные автомобили имеют дополнительные средства тушения. Такими средствами могут быть переносные установки СЖБ-50, порошковые огнетушители ОП-100, углекислотные установки с запасом углекислоты в количестве 50 – 100 кг.

 







Date: 2015-05-09; view: 1793; Нарушение авторских прав



mydocx.ru - 2015-2026 year. (3.601 sec.) Все материалы представленные на сайте исключительно с целью ознакомления читателями и не преследуют коммерческих целей или нарушение авторских прав - Пожаловаться на публикацию