Главная Случайная страница


Полезное:

Как сделать разговор полезным и приятным Как сделать объемную звезду своими руками Как сделать то, что делать не хочется? Как сделать погремушку Как сделать так чтобы женщины сами знакомились с вами Как сделать идею коммерческой Как сделать хорошую растяжку ног? Как сделать наш разум здоровым? Как сделать, чтобы люди обманывали меньше Вопрос 4. Как сделать так, чтобы вас уважали и ценили? Как сделать лучше себе и другим людям Как сделать свидание интересным?


Категории:

АрхитектураАстрономияБиологияГеографияГеологияИнформатикаИскусствоИсторияКулинарияКультураМаркетингМатематикаМедицинаМенеджментОхрана трудаПравоПроизводствоПсихологияРелигияСоциологияСпортТехникаФизикаФилософияХимияЭкологияЭкономикаЭлектроника






Пожарные автомобили рукавные





 

Пожарные автомобили рукавные (АР) – специфические специальные автомобили. Они укомплектовываются большим количеством пожарных напорных рукавов диаметром 77, 110 или 150 мм. Общая длина рукавов достигает 2000 – 5000 м.

АР предназначены для обеспечения подачи большого количества воды на значительные расстояния, т.е. они используются только при тушении крупных пожаров. Они применяются только в комплексе с пожарными (или другими) насосными станциями или автоцистернами.

Специфика применения АР определяет ряд особых требований. Прежде всего, они должны сооружаться на полноприводных шасси, которые позволяют прокладывать рукавные линии при движении. АР оборудуются устройствами для скатки рукавов и их погрузки в кузов автомобиля. Скатанные рукава могут транспортироваться в кузове или на крыше АР. Для сохранности рукавов в кузове предусматривается специальная вентиляция под полом кузова. Возможно проветривание кузова через одно из его окон.

Общий вид АР-2(131) мод.133 представлен на рис. 9.4. На бампере автомобиля установлена лебедка, предназначенная для оказания помощи машинам, застрявшим в пути, и самовыталкивания. Лебедка потребляет мощность около 22 кВт. Ее привод осуществляется от коробки отбора мощности с помощью двух карданных валов и промежуточной опоры. От вала барабана лебедки осуществляется привод к специальному механизму для скатывания рукавов в скатки. Одновременно с помощью двух съемных приспособлений 8 (по обе стороны автомобиля) скатываются два рукава.

 


Рис. 9.4. Автомобиль пожарный рукавный АР-2(131) мод. 133:

1 – кабина; 2 – лафетный ствол; 3 – корзина; 4 – кузов; 5 – механизм погрузки скаток рукавов; 6 – отсеки с ПТВ; 7 – газовая сирена; 8 – механизм скатки рукавов

 

За трехместной кабиной 1 водителя установлен лафетный ствол 2. Подводящий трубопровод к нему выведен на правую сторону и закрыт заглушкой. Таким образом, после прокладки рукавной линии лафетным стволом можно тушить пожар. На некоторых АР лафетные стволы переносные.

На крыше кузова 4 откидные поручни образуют корзину 3, в которой после пожара может перевозиться часть пожарных рукавов.

Для хранения ПТВ в кузове предусмотрены ящики в отсеке 6. Два ящика находятся еще в задней части кузова. Сзади кузов закрыт двухстворчатыми дверями. Двери задних ящиков в открытом положении образуют площадку для укладки рукавов и подъема внутрь кузова.

Кузов оборудован быстросъемными стойками, которые образуют вертикальные симметричные секции для укладки рукавов.

Рукава соединяют и укладывают в секции змейкой. При движении АР и открытых дверях легко осуществляется прокладка рукавных линий.

Вентиляция уложенных в кузов рукавов осуществляется через четыре специальных отверстия в полу, закрываемых крышками, а также через дверной проем или люк крыши.

АР оборудован устройством 5 для загрузки скаток рукавов в кузов и газовой сиреной 7.

АР укомплектовывается различным оборудованием и инструментом. К ним относятся: зажимы рукавные, прожектор, катушки к нему и тренога, лампа паяльная и другое оборудование. Все оборудование и инструмент размещены в кабине водителя, в ящиках 6 кузова.

В настоящее время на вооружении ГПС могут быть использованы различные модели АР. Основные параметры показателей их характеристик представлены в табл. 9.2.

Таблица 9.2

№ п/п Показатели Размерность Модель АР
АР-2(131)133 АР-2(43105)215 АР-2(4310)*/ АР-2(43114)
          Базовое шасси   Колесная формула Мощность двигателя Максимальная скорость Численность боевого расчета Длина напорных линий: d = 150 мм d = 110 мм d = 77 мм Лафетный ствол ПЛС-60КС переносной ПЛС-20 Масса АР -   - кВт км/ч   человек м/шт.     шт. шт. кг ЗИЛ-131   6х6     1340/67 1760/88 2040/102   - КамАЗ-43105   6х6     1900/95+10 - 2800/140+10   - КамАЗ-4310 6х6 90/85   3/3   800/40 - 1200/60   1(40 л/с) - 1200/15100

* Для модели АР-2(43114) указаны (в знаменателе) отличия от АР-2(4310).

На АР первой и второй модели осуществлена механизированная намотка рукавов в скатки и их погрузка в кузов. На третьей модели производится только механизированная намотка рукавов в скатки.

Принципиальная схема механизма намотки рукавов в скатки на АР-2(131) представлена на рис. 9.5. Привод лебедки 3, имеющийся на АР, осуществляется от коробки отбора мощности 2, установленной на коробке передач 1. На валу с муфтой 4 закреплена ведущая звездочка 5 цепной передачи. С помощью цепи 6 приводится во вращение ведомая звездочка 7, закрепленная на валу 8. На концах вала 8 закреплены вилки 9 для намотки рукавов в скатки, их погрузка в кузов автомобиля производится с
помощью специального механизма, устроенного в корме автомобиля. Он состоит из основания 4 и скалки 2 люльки (рис. 9.6), шарнирно соединен-
ной со стрелой 3. Последняя совместно с сектором 6 поворачивается на оси
кронштейна 7. В положении, показан-ном на рисунке, скатка а легко сме-щается в кузов автомобиля. Специальным толкателем (на рисунке не показан) сектор 6 поворачивается на небольшой угол, а затем под тяжестью своей массы люлька перемещается в нижнее положение для погрузки на него скатки рукава. При включении пневмоцилиндра 1 сектор 6 будет поворачиваться тягой 8 с тросом и поднимать люльку в верхнее положение. На люльку могут укладываться две скатки диаметром 150 мм.


Пневматический цилиндр 1 двустороннего действия установлен под полом кузова, воздух к нему подводится от воздушного ресивера тормозной системы автомобиля.

Пожарный автомобиль рукавный АР-2(4310) отличается от АР-2(131) параметрами технической характеристики и особенностями конструкции механизма намотки рукавов и трансмиссии к нему.

Общий вид автомобиля представлен на рис. 9.7. Внутреннее пространство кузова справа и слева оборудовано тремя продольными секциями. В них «гармошкой» уложены пожарные рукава. Они соединены между собой в одну линию в каждой секции. Часть рукавов уложены в скатки.

Боковые шторные двери закрывают отсеки с пожарно-техническим вооружением 2. На передней стенке кузова установлена откидная лестница для подъема боевого расчета к лафетному стволу 3.

Механизм намотки рукавов 4 подвешен на тележке с роликами. Он может перемещаться по направляющей, закрепленной к днищу кузова в переднем левом нижнем отсеке.

Трансмиссия на АР предназначена для привода аксиально-поршневого нерегулируемого гидронасоса, создающего рабочее давление (5±1) МПа в гидросистеме. Трансмиссия состоит из КОМ и карданного вала, который подводит мощность к гидронасосу.

 

 

                   
   
3
 
1
   
2
   
4
         
5
 
 
 

 

 


Рис. 9.7. Автомобиль пожарный рукавный АР-2(4310) ПМ-538:

1 – шасси; 2 – отсек ПТВ; 3 – лафетный ствол; 4 – механизм намотки рукавов; 5 – кузов

 
 

 


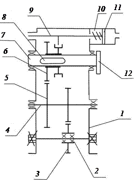
Рис. 9.8. Коробка отбора мощности:

1 – корпус; 2 – ось; 3 – шестерня; 4 – вал; 5 – блок шестерен; 6 – подвижная
шестерня включения; 7 – вал; 8 – шпонка; 9 – валик; 10 – пружина; 11 – поршень;
12 – муфта

 

Коробка отбора мощности устанавливается на правый люк коробки передач. Ее развернутая схема представлена на рис. 9.8. Шестерня 3 находится в постоянном зацеплении с блоком шестерен заднего хода коробки передач и через блок шестерен 5 передает движение на вал 4. Включается КОМ электропневматическим приводом из кабины водителя. При этом подвижная шестерня 6 с вилкой перемещается по валу 7 и входит в зацепление с блоком шестерен 5. Включение производится из кабины водителя. При выключении электропневматического привода пружиной 10 валик 9 с вилкой переместит шестерню 6 вправо. Шестерня 6 выйдет из зацепления с шестерней 5. Передаточное число КОМ равно 1,19.


Гидропривод состоит из нерегулируемого гидронасоса, гидрораспределителя, маслобака, гидромотора и трубопроводов. Гидронасос с помощью карданного вала крепится к фланцу 12 КОМ.

Механизм намотки состоит из трех частей: А – гидромотора; В – планетарного механизма и С – барабана намотки в сборе (рис. 9.9).

Гидромотор аксиально-поршневой. Так как гидронасос нерегулируемый, то гидромотор работает с постоянной скоростью.

Планетарный механизм – механизм с подвижными осями некоторых зубчатых колес. Передаточное отношение механизма, изображенного на рис. 9.9, в общем виде записывается так:

, (9.1)

 

где iabн – передаточное отношение от колеса а к колесу b при вращении водила Н; na и
nb – частоты вращения колес а и b; nН – частота вращения водила; za и zb – числа зубьев колес а и b.

Так как колесо b заторможено, то nb = 0 и тогда

. (9.2)

После преобразования запишем

, (9.3)

где Db и da – диаметры начальных окружностей колес b и а.

 

Частота вращения водила Н, а следовательно, и барабана в сборе, об/мин, будет равна

. (9.4)

Для рассматриваемого случая iabН = 4.

Барабан намотки состоит из ряда деталей. Между дисками 2 и 6 размещены два диска трения 7. Степень сжатия дисков и, следовательно, момента трения регулируется пружинами 4. При увеличении момента сопротивления на барабане больше допустимого произойдет пробуксовка в рассмотренном фрикционе и перегрузка мотора А будет предотвращена.

На барабане установлен ложемент для укладки рукавной головки.

В комплекте механизма намотки имеется специальный диск, который для формирования скатки устанавливается на барабан и крепится тремя гайками-барашками.

Включение механизма намотки может производиться либо с блока управления в кабине водителя, либо с коробки управления, расположенной в левом переднем отсеке за второй дверью.

Механизм намотки размещается на специальной тележке с роликами. Он может перемещаться по направляющей, которая прикреплена к днищу кузова в переднем левом нижнем отсеке.

Прокладка рукавных линий производится в следующей последовательности:

устанавливают АР у пожарной насосной станции;

открывают задние двери кузова и присоединяют один или два рукава к напорным патрубкам ПНС;

начинают движение на первой передаче по намеченной трассе;

члены боевого расчета следят за выходом пожарных рукавов из секций кузова.

После прокладки рукавных линий АР может использоваться для тушения пожара, подавая воду лафетным стволом. По проложенным рукавным линиям вода может подаваться в очаги горения лафетными или ручными стволами автоцистерн.


Намотка рукавов в скатки осуществляется в следующей последовательности:

разъединяют соединительные головки рукавов;

располагают рукава так, чтобы при движении АР рукава находились слева от машины;

открывают дверку отсека механизма намотки, расположенную в передней части кузова, и шторную дверь отсека ПТВ;

выдвигают механизм на себя до упора и закрепляют его фиксатором;

на барабан намотки устанавливают диск для формирования скатки;

включают КОМ;

устанавливают рукавную головку рукава в ложемент механизма намотки;

придерживая рукавную головку, включают механизм намотки тумблером, размещенном на коробке управления в отсеке ПТВ, – начнется намотка рукава на барабан механизма.

После формирования скатки ее снимают с барабана и укладывают в кузов.

 







Date: 2015-05-09; view: 1633; Нарушение авторских прав



mydocx.ru - 2015-2026 year. (0.473 sec.) Все материалы представленные на сайте исключительно с целью ознакомления читателями и не преследуют коммерческих целей или нарушение авторских прав - Пожаловаться на публикацию