Главная Случайная страница


Полезное:

Как сделать разговор полезным и приятным Как сделать объемную звезду своими руками Как сделать то, что делать не хочется? Как сделать погремушку Как сделать так чтобы женщины сами знакомились с вами Как сделать идею коммерческой Как сделать хорошую растяжку ног? Как сделать наш разум здоровым? Как сделать, чтобы люди обманывали меньше Вопрос 4. Как сделать так, чтобы вас уважали и ценили? Как сделать лучше себе и другим людям Как сделать свидание интересным?


Категории:

АрхитектураАстрономияБиологияГеографияГеологияИнформатикаИскусствоИсторияКулинарияКультураМаркетингМатематикаМедицинаМенеджментОхрана трудаПравоПроизводствоПсихологияРелигияСоциологияСпортТехникаФизикаФилософияХимияЭкологияЭкономикаЭлектроника






Устройство и принцип действия аппарата АИР-317





В состав аппарата АИР-317 (рис. 4.3) входят: рама 5 с подвесной системой, состоящей из ремней плечевых правого 1 и левого 12, концевых 9 и поясного 8; баллон с вентилем запорным 4; редуктор газовый 6; разъем 7; автомат легочный 10; маска 11; капилляр 3 с устройством сигнальным 2. Рама предназначена для крепления всех узлов и систем аппарата. Рама состоит из U-образного каркаса 3, из дюралюминивой трубки и стяжек 7,8 и 10 швеллерного профиля из нержавеющей стали. Торцевые концы каркаса закрыты заглушками 1, закрепленными винтами 2. На стяжке 10 шарнирно с помощью осей 13 закреплен поясок 12 с замком 11 для фиксации баллона на раме и опора 9 с пружиной для плечевых ремней. На стяжке 7 с помощью осей 6 установлены кронштейны 4 и 14 для крепления концевых ремней и с помощью винтов с гайками закреплены поясной и плечевые ремни. Плечевые ремни закреплены крест-накрест, и в пределах рамы выполняют роль амортизаторов. На стяжке 8 с помощью болта с гайкой шарнирно закреплен газовый редуктор. К кронштейну 4 крепится кронштейн 5 с кольцевой проушиной для пропуска капилляра. Баллон с запорным вентилем предназначен для хранения рабочего запаса сжатого воздуха. На цилиндрической части баллона, на стороне противопожарной противоположной штуцеру вентиля нанесены надписи «воздух» и «29,4 МПа». В комплект аппарата входят один рабочий и один запасной баллоны. Запорный вентиль с помощью конической резьбы ввинчен в горловину баллона 14.

Рис. 4.3. Схема АИР-317

1- правый плечевой ремень; 2 – винты; 3 – капилляр; 4 – баллон с кислородом; 5-рама; 6 – редуктор газовый; 7 – трубка; 8 – стяжка; 9 – опора; 10 – стяжка; 11 – замок; 12-левый плечевой ремень.

 

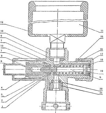
Вентиль (рис.4.4) состоит из корпуса 13 со штуцером 14 для подсоединения к редуктору; клапан 11 со вставкой 16; шточка 9 с пером 10; гайки сальниковой 7; маховичка, состоящего из обоймы 3 и облицовки 2; заглушки 1; гайки 4 и пружины 5. Герметичность вентиля обеспечивается прокладками 6,8 и 17. При хранении баллонов (рабочего и запасного) отдельно от аппарата в штуцер 18 ввинчивается заглушка 12. При вращении маховичка по часовой стрелке клапан 11, перемещаясь по резьбе в корпусе вентиля 15, прижимается вставкой 16 к седлу и перекрывает канал, по которому воздух поступает из баллона в редуктор. При вращении маховичка против часовой стрелки клапан отходит от седла и обеспечивает поступление воздуха из баллона в редуктор.

Рис. 4.4. Вентиль

1- заглушка; 2 – облицовка; 3 – обойма; 4 – гайка; 5 – пружина; 6,8, 17 – прокладка; 7 – сальниковая гайка; 9 – шточка; 10 – перо; 11 – клапан; 12 – заглушка; 13 - корпус; 14 – штуцер; 15 – вентиль; 16 – вставка.

 

 

Редуктор (рис.4.5) предназначен для преобразования высокого (первичного) давления воздуха в баллоне в диапазоне от 29,4 до 1 МПа до постоянного низкого (вторичного) давления в диапазоне от 9,7 до 0,85 МПа. В аппарате применен поршневой редуктор обратного действия с уравновешенным редукционным клапаном, что позволяет стабилизировать вторичное давление при изменяющемся в большом диапазоне первичном давлении. Редуктор выполнен в одном блоке с автоматическим перекрывателем капилляра манометра. Состоит из корпуса 7 с проушиной 19 для крепления редуктора к раме аппарата, вставки 4 с кольцами уплотнительными 3 и 5; седла редукционного клапана, включающего корпус 1 и вставку 2; шчточка 6, на котором с помощью гайки 31 и шайбы 28 закреплен поршень 30 с манжетой 29; рабочих пружин 39 и 40; гайки регулирующей 42, положение которой в корпусе фиксируется винтом 32. На корпусе редуктора для предупреждения загрязнения его полости надета облицовка 42, удерживаемая на корпусе обоймой 43. В корпусе редуктора имеется штуцер 10 для подсоединения капилляра манометра и воздуховода сигнального устройства с кольцом уплотнительным 8 и винтом 9, и штуцер 44 для подсоединения разъема. В корпусе редуктора ввинчен штуцер для подсоединения баллона, который состоит из непосредственно штуцера 21, гайки 22, фильтра 23, зафиксированного в штуцере гайкой 24. Герметичность соединения штуцера 21 с корпусом 7 обеспечивается кольцом уплотнительным 20. Герметичность соединения баллона с редуктором обеспечивается кольцом уплотнительным 25. В конструкции редуктора предусмотрен предохранительный клапан. Корпус клапана 34 ввинчен в поршень 30 редуктора. Герметичность соединения обеспечивается кольцом уплотнительным 33. Предохранительный клапан состоит из корпуса 34, шточка 35, пружины 36, направляющей 37 и гайки 38, фиксирующей положение направляющей в корпусе клапана. Автоматический перекрыватель капилляра манометра состоит из заглушки 11, гайки 12, шточка 26, поршня 15, гайки 17, колец уплотнительных 13,14,16,18 и кольца 27.


Редуктор работает следующим образом. При отсутствии давления воздуха в системе редуктора поршень 30 под действием пружины 39 и 40 перемещается вместе со шточком 6, отводя его коническую часть от вставки 2. При открытом вентиле баллона сжатый воздух под высоким давлением поступает через фильтр 23 по штуцеру 21 в полость редуктора и создает под поршнем 30 давление, величина которого зависит от степени сжатия пружин 39 и 40. При этом поршень вместе со шточком 6 переместится. Сжимая пружины 39 и 40 до тех пор, пока не установится равновесие между давлением воздуха на поршень и усилием сжатия пружин и не перекроется запор между вставкой 2 и конической частью шточка 6. При вдохе воздуха через легочный автомат давление под поршнем, уменьшается, поршень со шточком под действием пружин перемещается, создавая зазор между вставкой и конической частью шточка и обеспечивая поступление воздуха под поршень и далее в легочный автомат. Вращением гайки 41 можно изменить степень сжатия пружин 39 и 40, а следовательно, и давление в полости редуктора при котором наступает равновесие между усилием сжатия пружин и давлением воздуха на поршень. Предохранительный клапан работает следующим образом. При нормальной работе редуктора и вторичном давлении в его полости в установленных пределах вставка шточка 35 усилием пружины 36 прижата к седлу в корпусе 34. Когда вторичное давление в полости редуктора в результате нарушения его работы возрастает, шточок преодолевая усилие пружины, отходит от седла, и воздух из полости редуктора выходит в атмосферу. Вращением направляющей 37 можно изменить степень сжатия пружины 36, следовательно, и давление, при котором откроется предохранительный клапан. Автоматический перекрыватель манометра работает следующим образом. При открытии вентиля баллона, когда сжатый воздух под высоким давлением поступает в полость редуктора, он через дюзы в торце и боковой стенке шточка 26, поступает в полость, сообщающуюся с капилляром (между поршнем 15 и гайкой 17), и в полость между заглушкой 11 и поршнем 15. Так как диаметр дюзы в боковой стенке несколько больше, чем диаметр торцевой дюзы, давление под поршнем 15 больше давления в полости между заглушкой 11 и поршнем 15. При этом поршень перемещается в крайнее положение до упора в заглушку. При нарушении герметичности капилляра или манометра давление воздуха в полости между поршнем 15 и гайкой 17 уменьшается в полости между заглушкой 11 и поршнем 15 не изменяется. При этом поршень 15 отходит от заглушки 13, уплотнительное кольцо 16 прижимается к гайке 17, в результате чего, прекращается поступление сжатого воздуха в капилляр.

 

Рис. 4.5. Редуктор

1-корпус 2-вставка 3 и 5- кольца уплотнительные 4- вставка 6- шчточка 7- корпус 8- кольцо уплотнительное 9- винт 10-штуцер 11-заглушка 12-гайка 13-заглушка 14,16,18 -поршень уплотнительных колец 15-поршень 17-гайка 16-кольцо 17 -гайка 19-шточка 20-кольцо уплотнительное 21-штуцер 22-гайка 23-фильтр 24-гайка 25-кольцо уплотнительное 27-кольцо 28-шайба 29-манжета 30-поршень 31-гайка 32-винт 33-кольцо уплотнительное 34-корпус клапана 36-пружина 35-шточка 36-пружина 37-направляющая 38-гайка 39,40- пружины 42-облицовка 43-обойма 44-штуцер


 

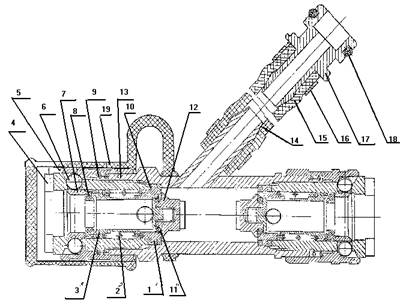
Разъем (рис. 4.6) предназначен для подсоединения к газовому редуктору легочного автомата и спасательного устройства. Разъем состоит из корпуса 13 со штуцером 14 и 17 для соединения разъема с газовым редуктором. Штуцера соединены шлангом 15, который зафиксирован на них кольцами 16. Герметичность соединения разъема с редуктором обеспечивается кольцом уплотнительным 18. В корпус разъема ввинчены два штуцера для подсоединения легочного автомата и спасательного устройства. Каждый штуцер состоит из корпуса 4; узла фиксации штуцера полсоединения легочного автомата или спасательного устройства, состоящего из обоймы 5, шариков 6, втулки 7, пружины 2, корпуса 3, кольца уплотнительного 31 и клапана 12. Герметичность соединения штуцеров для подсоединения легочного автомата и спасательного устройства с корпусом 13 разъема обеспечивается прокладками 16. Герметичность соединения штуцеров легочного автомата и спасательного устройства с разъемом обеспечивается манжетами 8. Штуцер для подсоединения спасательного устройства снабжен защитным колпаком 19. Этот штуцер может быть использован для подключения магистрали шланговой подачи воздуха или устройства поддува защитного костюма. При соединении с разъемом штуцера легочного автомата его торцевой конец, упираясь в манжету 8 и преодолевая сопротивление пружины 2, отводит клапан 12 с уплотнительным кольцом 11 от седла 1 и обеспечивает подачу воздуха из редуктора в легочный автомат. Кольцевой выступ штуцера легочного автомата при этом смещает внутрь разъема втулки 7, шарики 6, выходя из соприкосновения со втулкой 7, входят в кольцевую проточку штуцера легочного автомата. Обойма 5 под воздействием пружины 9 смещается и фиксирует шарики 6 в кольцевой проточке штуцера легочного автомата. Для отсоединения легочного автомата достаточно прижать штуцер и сдвинуть обойму 5. При этом штуцер легочного автомата вытолкнется из разъема усилием пружины 2. Аналогично осуществляется подсоединение к разъему спасательного устройства. Легочный автомат предназначен для автоматической подачи воздуха для дыхания человека.

Рис. 4.6. Разъем

1 – седло; 2 – пружина; 3,4 – корпус; 5 – обойма; 6 – шарики; 7 – втулка; 8 – манжета; 9 – пружина; 10 – кольцо; 11 – уплотнительное кольцо; 12 – клапан; 13 – корпус; 14,17 – штуцер; 15 – шланг; 16 – кольцо; 18 - уплотнительное кольцо.

 

Легочный автомат (рис. 4.7)состоит: из корпуса 9; мембраны 13, закрепленной в корпусе гайкой прижимной 10; штуцера 3; гайки 4 с облицовкой 6; заслонки 3 и щитка 1 прикрепленного к корпусу винтами 5; обоймы 11; пружины 12; клапана легочного автомата, состоящего из штока 7, втулок 8 и 17, корпуса клапана 18, пружины 19, седла 15 и кольца уплотнительного 14; соединения легочного автомата с разъемом, состоящего из корпуса 20, рукава соединительного 21 и штуцера 25. Корпус 20 соединен с седлом 15 штифтом, герметичность соединения обеспечивается кольцом уплотнительным 16. Соединительный рукав надет на корпус 20 и штуцер 23 и закреплен на каждом из них кольцами 22. Прорезь в щитке 1, по которой движется шток 7, при работе легочного автомата закрыта, надетой на шток 7 скользящей заслонкой 2. Легочный автомат гайкой 4 присоединяется к маске штуцером 23 к разъему. Работает легочный автомат следующим образом: при входе в корпус 9 создается вакууметрическое давление, под воздействием которого мембрана 13 прогибается внутрь, нажимает на втулку 8 и перекашивает шток 7. При этом в образовавшийся зазор между седлом 15 и корпусом клапана 18 поступает воздух. При выходе мембрана возвращается в исходное положение, клапан закрывается, подача воздуха прекращается. Для дополнительной подачи воздуха на вдох в центре обоймы 11 имеется кнопка, между кнопкой и мембраной 13 установлена пружина 12. При нажатии на кнопку мембрана прогибается, клапан перекашивается и воздух поступает на вдох. Маска предназначена для соединения дыхательных путей человека с легочным автоматом аппарата, а также для защиты органов дыхания и зрения от токсичной и задымленной окружающей среды. В аппарате АИР-317 применена панорамная маска ПМ-88. Капилляр предназначен для подсоединения к газовому редуктору сигнального устройства.


Рис. 4.7. Легочный автомат

1 – щиток; 2 – заслонка; 3 – штуцер; 4 – гайка; 5 – винт; 6 – облицовка; 7 – шток; 8,17 – втулка; 9 – корпус; 10 – гайка; 11 – обойма; 12 – пружина; 13 – мембрана; 14 – кольцо; 15 – седло; 16 – кольцо; 18 – клапан; 19 – пружина; 20 – корпус; 21 – соединительный рукав; 22 – кольцо; 23 – штуцер

 

Капилляр (рис. 4.8) состоит из двух штуцеров 2, впаянной в них свитой в спираль трубки высокого давления 3, двух штуцеров 6 соединенных шлангом 7. Штуцера 2 соединены между собой гибким тросом 1. Шланг 7 закреплен на штуцерах 6 облицовками 8. Штуцеры 2 зафиксированы внутри штуцеров 6 штифтами 4. Кольца уплотнительные 5 обеспечивают герметичность соединения штуцером 6 с редуктором и сигнальным устройством. Капилляр имеет симметричную конструкцию, одним из концов подсоединяется к редуктору, вторым к сигнальному устройству. Штуцеры 6 фиксируются в этих соединениях винтами, входящими в кольцевые проточки штуцеров. По трубке высокого давления из баллонов поступает в манометр и на звуковой указатель исчерпания рабочего запаса воздуха, по шлангу 7 воздух под редуцированным давлением передается на звуковой указатель.

Рис. 4.8. Капилляр

1-гибкий трос; 2-штуцеры; 3-трубки высокого давления; 4-штифты; 5-уплотнительные кольца; 6-штуцеры; 7-шланг; 8-облицовка

 

Сигнальное устройство (рис. 4.9) предназначено для визуального контроля по манометру давления сжатого воздуха в баллонах и для звуковой сигнализации о полном расходе рабочего запаса воздуха. Сигнальное устройство состоит из корпуса 10, манометра 11 с облицовкой 12 и прокладкой 9, втулки 8 с втулкой 1 и кольцом уплотнительным 7, свистка 6 с контргайкой 4, кожуха 2, кольца уплотнительного 3, шточка 5, втулки 14 с кольцом уплотнительным 13, гайки 17 с контргайкой 15, пружины 16, заглушки 19 с кольцом уплотнительным 18, кольца уплотнительного 20 и гайки 21. В шточке 5 просверлено на проход косое отверстие. Работает сигнальное устройство следующим образом. При открытом вентиле баллона воздух под высоким давлением через капилляр непосредственно поступает в манометр 11. Манометр показывает величину давления воздуха в баллоне. Кроме того, воздух с высоким давлением через радиальное отверстие во втулке 14 поступает в камеру между гайкой 17 и хвостовиком шточка 5. Шточок 5 пол действием высокого давления воздуха перемещается до упора во втулке 8, сжимая пружину 16. Оба выхода косого отверстия в шточке 5 при этом находятся за уплотнительным кольцом 7. По мере уменьшения давления в баллоне аппарата в процессе его эксплуатации и, соответственно, давление на хвостовик штока 5 пружина 16 перемещает шточок 5 к гайке 17. Когда ближний к уплотнительному кольцу выход косого отверстия в шточке 5 переместится за уплотнительное кольцо 7, воздух под редуцированным давлением поступает в свисток 6 через отверстия во втулке 8, косое отверстие в шточке 5, канал в корпусе 10 и боковое отверстие в гайке 21. При дальнейшем снижении давления воздуха в баллоне оба выхода косого отверстия в шточке 5 переместятся за уплотнительное кольцо 7, и подача воздуха в свисток прекратится. Регулировка давления срабатывания звукового сигнала производится за счет перемещения свистка 6 по резьбе в корпус 10. При этом перемещается и втулка 8 с втулкой 1 и уплотнительным кольцом. В комплект принадлежностей и приспособлений аппарата АИР-317 входят: спасательное устройство, состоящее из легочного автомата, лицевой части промышленного противогаза ГОСТ 12.4.166 (рост 2), поясного и прицепного ремней и контрольный манометр. Легочный автомат спасательного устройства по конструкции не отличается от легочного автомата основного пользователя, но снабжен более соединительным рукавом 21. легочный автомат при помощи штуцера 23 подсоединяется к разъему и при помощи гайки 4 соединяется с лицевой частью промышленного противогаза. Лицевая часть надевается на голову пострадавшего. В результате чего последний получает возможность дышать воздухом из аппарата АИР-317. Поясной ремень застегивается на талии пострадавшего. Пострадавший пристегивается к пожарному с помощью прицепного ремня. Контрольный манометр предназначен для проверки редуцированного давления и давления срабатывания предохранительного клапана редуктора, а также для регулировок редуктора и предохранительного клапана. Контрольный манометр снабжен штуцером, позволяющим подсоединять его к разъему вместо спасательного устройства.

Рис. 1.9. Сигнальное устройство

1-втулка; 2-кожух; 3,20-кольцо уплотнительное; 4-контргайка; 5-шточка; 6-свисток; 7-кольцо; 8-втулка; 9-прокладка; 10-корпус; 11-манометр; 12-облицовка; 13-кольцо; 14-втулка; 15-контргайка; 16-пружина; 17,21-гайка; 18-кольцо; 19-заглушка







Date: 2015-05-09; view: 2281; Нарушение авторских прав



mydocx.ru - 2015-2026 year. (1.068 sec.) Все материалы представленные на сайте исключительно с целью ознакомления читателями и не преследуют коммерческих целей или нарушение авторских прав - Пожаловаться на публикацию