Главная Случайная страница


Полезное:

Как сделать разговор полезным и приятным Как сделать объемную звезду своими руками Как сделать то, что делать не хочется? Как сделать погремушку Как сделать так чтобы женщины сами знакомились с вами Как сделать идею коммерческой Как сделать хорошую растяжку ног? Как сделать наш разум здоровым? Как сделать, чтобы люди обманывали меньше Вопрос 4. Как сделать так, чтобы вас уважали и ценили? Как сделать лучше себе и другим людям Как сделать свидание интересным?


Категории:

АрхитектураАстрономияБиологияГеографияГеологияИнформатикаИскусствоИсторияКулинарияКультураМаркетингМатематикаМедицинаМенеджментОхрана трудаПравоПроизводствоПсихологияРелигияСоциологияСпортТехникаФизикаФилософияХимияЭкологияЭкономикаЭлектроника






Устройство и принцип действия АП – 2000





1. Подвесная система.

Основой аппарата (рисунок 4.10) является подвесная система, служащая для монтажа на ней всех частей аппарата и его крепления на теле человека, включающая в себя основание 23, плечевые ремни 6, концевые ремни 22 и поясной ремень 21.

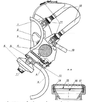
Рис.4.10 Аппарат дыхательный АП-2000

1 - маска; 2 - кнопка отключения легочного автомата; 3 - маховичок байпаса; 4 - легочный автомат; 5 - многофункциональная кнопка (байпаса и отключе­ния легочного автомата); 6 - плечевой ремень; 7 - шланг; 8 - баллон с венти­лем; 9 - шланг высокого давления; 10 - свисток; 11 - корпус сигнального уст­ройства; 12 - манометр; 13 - штекерный ниппель; 14 - шланг устройства для дозарядки; 15 - спасательное устройство; 16 - редуктор; 17 - кронштейн; 18 -маховичок вентиля; 19 - поясной ремень; 20 - замок подключения спасательно­го устройства; 21 - шланг для подключения спасательного устройства; 22 -концевой ремень; 23 - основание; 24 - ремень; 25 - замок; 26 - тройник.

 

На подвесной системе смонтированы следующие составные части аппарата:

- баллон с вентилем 8 (для исполнения 1,2,4) или два баллона с вентелями и тройником 26 (для исполнения)

- редуктор 16, закрепленный на основание 23 с помощью кронштейна 17.

- Сигнальное устройство с монометром 12, корпусом 11, свистком 10 и шлангом 9, идущим от редуктора 16 по левому плечевому ремню

- Шланг низкого давления 7, проложенный по правому плечевому ремню, соединяющий редуктор 16 с легочным автоматом 4

- Шланг 21 с легочным замком 20 для подключения спасательного устройства 15 к аппарату, идущий от редуктора 16 по правой части поясного ремня

- Шланг высокого давления 14 со штекером ниппелем 13 для дозарядки аппарата методом перепуска, идущий от редуктора 16 по левой части поясного ремня

Для более удобного крепления аппарата на теле пользователя в подвесной системе предусмотрена возможность регулировки длинны ремней.

Для регулировки положения плечевых ремней в зависимости от комплекции пользователя в верхней части основания аппарата предусмотрены две группы пазов.

 

2. Баллон с вентилем.

Баллон является емкостью для хранения запаса сжатого воздуха, пригодного для дыхания. Баллон 8 (рисунок 1) плотно уложен в ложемент основания 23, при этом верхняя часть баллона пристегивается к основанию с помощью ремня 24 с замком 25, вентели баллонов аппарата исполнения 3 соединены между собой тройником26 с резьбовыми штуцерами и маховичками.

Для защиты от повреждения поверхности металлокомпозитного баллона и продление срока его службы в процессе эксплуотации аппарата может применяться чехол. Чехол выполнен из плотной ткани красного цвета. На поверхности чехла нашита белая светоотражающая ткань, что позволяет контролировать местонахождение пользователя в условиях плохой видимости.

3. Сигнальное устройство.

Сигнальное устройство предназначено для подачи звукового сигнала, предупреждающего пользователя о снижении давления воздуха в баллоне до 5,5 – 6,8 МПа, и состоит из корпуса 11 (рисунок 4.10) и ввернутых в него свистка 10 и манометра 12.

Манометр аппарата предназначен для контроля давления сжатого воздуха в баллоне при открытом вентеле.

4. Редуктор.

Редуктор (рисунок 4.11) предназначен для понижения давления сжатого воздуха и подачи его к легочным автоматам аппарата и спасательного устройства.

Рис.4.11. Редуктор:

1 – корпус редуктора; 2- маховичок; 3 – резьбовой штуцер; 4 – кольцо 9В8.684.909; 5 – манжета; 6 – предохранительный клапан; 7 – пломба.

 

 

На корпусе 1 редуктора имеется резьбовой штуцер 3 с маховичком 2 для соединения с вентелем баллона (исполнение 1,2,и 4) или тройником (исполнение 3). Встроенный предохранительный клапан 6 редуктора защищает полость низкого давления аппарата от чрезмерного роста давления на выходе редуктора.

Редуктор обеспечивает работу без регулировки в течении всего срока службы и не подлежит разборки.

Редуктор опломбирован пломбировочной пастой при нарушении сохранности пломб претензии к работе редуктора предприятием изготовителем не принимаются.

5. Маска.

В состав аппарата в зависимости от комплектации могут входить два варианта масок:

- маска ПМ –2000 с легочным автоматом 9В5.893.497 –вариант 1;

- маска «Пана Сил» из неопрена или силикона с резиновым или сетчатым оголовьем с легочным автоматом 9В5.893.460 – вариант 2;

маска (рисунки 4.12, 4.13) предназначена для изоляции органов дыхания и зрения человека от окружающей среды, подачи воздуха от легочного автомата 6 в органы дыхания человека через клапаны вдоха 3, расположенного в подмасочнике 2, и удаления выдыхаемого воздуха через клапан выдоха 8 в окружающую среду.


Рис.4.12. Маска ПМ – 2000 с легочным автоматом (вариант 1)

1 - корпус маски; 2 - подмасочник; 3 - клапаны вдоха; 4 - переговорное устройство; 5 – гайка; б - позорный автомат; 7 - многофункцио­нальная кнопка; 8 - клапан выдоха; 9 - шланг легочного автомата; 10 – лямка; 11 – замок; 12 - ремни оголовья; 13 - крышка клапанной коробки; 14 – корпус; 15-сетка; 76 - мембрана; 17- кольцо.

Рис.4.13. Маска «Пана Сил» из неопрена или силикона с резиновым или сетчатым оголовьем с легочным автоматом (вариант 2)

1 - корпус маски; 2 - подмасочник; 3 - клапаны вдоха; 4 - переговорное устройство; 5 - кнопка отключения легочного автомата; 6 - легочный автомат; 7 - маховичок устройства дополнительной подачи (байпаса); 8 - клапан выдоха; 9 - шланг легочного автомата; 10 - лямка; 11 - замок; 12- ремни оголовья; 13- фиксатор; 14- крышка клапанной коробки.

 

В корпусе маски 1 имеется встроенное переговорное устройство 4, обеспечивающее возможность передачи речевых сообщений. В конструкции маски предусмотрена возможность регулировки длинны ремней оголовья 12.

6. Легочный автомат.

Легочный автомат 6 (рисунок 4.14) предназначен для подачи воздуха во внутреннюю полость маски с избыточным давлением, включения дополнительной непрерывной подачи воздуха при отказе легочного автомата или нехватки воздуха пользователю и принудительного выключения подачи воздуха после снятия маски.

 

 

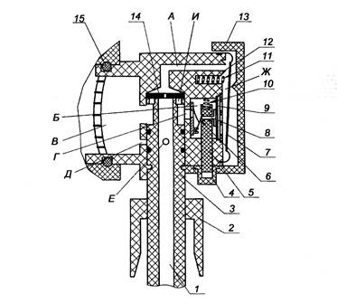
Рис. 4.14. Принципиальная схема легочного автомата.

 
 

1 - шланг легочного автомата; 2 - маховичок байпаса; 3 - шток; 4 - кноп­ка отключения легочного автомата; 5 - шток; 6 - плоская пружина; 7 -мембрана; 8 - седло; 9 - мембрана; 10 - пружина; 11 - пружина; 12 - седло; 13 - крышка; 14 - клапан; 15 - кольцо 054.111.22.

А - канал; Б, В, Ж- полости; Г, Д, Е, И - отверстия.

 

Легочный автомат крепится к маске с помощью гайки с резьбой М45х3 (вариант 1) или шарнирного соединения и фиксатора 13 (вариант 2)

 

7. Спасательное устройство.

Спасательное устройство (рисунок 4.15) предназначено для защиты органов дыхания и зрения пострадавшего человека при его спасении пользователем аппарата и выводе из зоны с непригодной для дыхания газовой средой.

Рис.4.15. Спасательное устройство

1 – маска спасательного устройства; 2 - легочный автомат; 3 - кнопка байпаса; 4 - шланг; 5 - гайка.

 

 

Спасательное устройство включает в себя:

- носимую в сумке маску 1, представляющую собой лицевую часть ШМП-1 рост 12.4.166

- легочный автомат 2 с кнопкой байпаса 3 и шлангом 4

легочный автомат крепится к маске с помощью гайки 5 с резьбой круглой 40х4.

Для подключения спасательного устройства к аппарату используется шланг 21 (рисунок 4.15) который предприятие изготовитель устанавливает на аппарате при заказе спасательного устройства.

В случае отсутствия заказа на редукторе устанавливается пробка 12 (рисунок 4.15). Конструктивно легочный автомат спасательного устройства отличается от легочного автомата аппарата (вариант 1) отсутствием возможности создания избыточного давления и типом резьбы крепления к маске.


8. Устройство для дозарядки аппарата воздухом.

Устройство для дозарядки аппарата воздухом представляет возможность не прерывая функционирования аппарата дозаряжать баллон аппарата методом перепуска.

Устройство включает в себя шланг высокого давления 14 (рисунок 4.10) со штекером ниппелем 13, устанавливаемый на аппарате предприятием изготовителем при заказе устройства для дозарядки и шланг с полумуфтой для подключения к стационарному баллону.

В случае отсутствия заказа устройства на редукторе устанавливается пробка 13 (рисунок 6).

9. Работа.

Включение в работу механизма легочного аппарата при открытом вентеле осуществляется автоматически – усилием первого вдоха пользователя. Выключение механизма легочного автомата при снятии маски с головы осуществляется принудительно – нажатием до упора на кнопку 5 (вариант 1) или на кнопку 2 (вариант 2).

Включение устройства дополнительной подачи воздуха (байпаса) осуществляется плавным нажатием на кнопку 5 и удержании ее в этом положении (вариант 1) или поворотом на 90* против часовой стрелки маховичка байпаса 3 (вариант 1).

Контроль давления воздуха осуществляется по манометру 12, смонтированному на шланге 9, который вынесен на левый плечевой ремень подвесной системы. Шкала манометра – фотолюминесцентная для использования при слабом освещении и в темноте.

Принцип работы представлен на принципиальной схеме аппарата (рисунок 4.16).

При закрытом вентеле 3.2 клапан 9.1 редуктора 9 открыт усилием пружины 9.2.

При включении в аппарат пользователь открывает вентель 3.2. Сжатый воздух, содержащийся в баллоне 3.1, через открытый вентель 3.2 (для исполнения 3 – через вентили и тройник 4) поступает на выход редуктора 9. Одновременно через шланг высокого давления 7 воздух поступает на сигнальное устройство 5.

Под действием давления воздуха, поступающего с выхода редуктора в полость Б, пружина 9.2 сжимается и клапан 9.1 закрывается. При отборе воздуха через шланг 11 давление в полости Б понижается и клапан 9.1 под действием пружины 9.2 открывается на определенную величину.

Устанавливается равновесное состояние, при котором воздух с давлением, сниженным до рабочей величены, определяемой усилием пружины 9.2, поступает по шлангу 11 на вход легочного автомата 1 и в полость шланга 8.

При отключенном легочном аппарате 1 и снятой с лица пользователя маске 2 фиксатор кнопки 1.8 находится в зацепленном с мембраной 1.4, которая усилием пружины 1.9 отведена в крайнее не рабочее положение и не касается опоры 1.6, а клапан 1.1 закрыт усилием пружины 1.2. При надетой на лицо маске в процессе первого вдоха в полости А легочного автомата 1 образуется разрежение. Под действием разности давлений мембрана 1.4 прогибается, соскакивает с фиксатора кнопки1.8 и переходит в рабочее состояние. Под действием усилия пружины 1.10 мембрана 1.4 нажимает на опору 1.6 и через шток 1.7 отклоняет клапан 1.1 от седла 1.5.


При отказе легочного автомата или при необходимости продувки подмасочного пространства клапан 1.1 открывается нажатием и удерживанием кнопки байпаса 1.8, при этом воздух идет непрерывным потоком. Следует помнить, что включение непрерывной дополнительной подачи уменьшает время защитного действия аппарата.

Легочный автомат при помощи пружины 1.10 совместно с подпружиненным клапаном выдоха 2.3 маски создает поток воздуха с избыточным давлением, который поступает вначале на панорамное стекло 2.1, предотвращая его запотевание, а затем через клапаны вдоха 2.2- в органы дыхания человека.

При выдохе в полости А давление повышается, воздействуя на мембрану 1.4 и пружину 1.10, сжимая ее. При этом клапан 1.1 закрывается, прекращая подачу воздуха, а клапан выдоха 2.3 открывается и выпускает выдыхаемый воздух в окружающею среду.

Отключение легочного автомата происходит при нажатии на кнопку 1.8 до упора, при этом фиксатор кнопки входит в гнездо мембраны 1.4, а усилие пружины 1.9 отводит мембраны в крайнее нерабочее положение.

При отключенном легочном автомате и снятой с лица пользователя маске шток 5 находится в утопленном состоянии, при этом плоская пружина 6 упирается в канавку штока и фиксирует его. Воздух по шлангу 1 поступает через отверстие в гибком клапане 14 и каналу А в подмембранную полость Ж. Давление воздуха прижимает мембрану 9 к седлу 8, при этом отверстие в мембране перекрывается, отсекая полость Ж от подмасочной полости В.

Под действием растущего в полости Ж давления мембрана 7 поворачивается на выступе крышки 13 и, преодолевая усилие пружины 11, прижимается к седлу 12. При этом канал А перекрывается, давление в канале и полости шланга 1 выравнивается, клапан 14 прижимается к седлу штока 3, перекрывая отверстие И.

При надетой на лицо маске в процессе первого вдоха в полости В и связанной с ней отверстием Г полости Б образуется разрежение.

Под действием разности давлений мембрана 9 прогибается и через седло 8 нажимает на пружину 6, которая при этом выходит из канавки штока 5, освобождая его. Под действием пружины 10 шток 5 с седлом 8 перемещается, открывает отверстие в мембране 9, соединяя полости Ж и В. Давление в полости Ж понижается, мембрана 7 под действием пружины 11 отходит из седла 12. Давление в канале А понижается, клапан 14 прогибается, и воздух через отверстие И в штоке 3 поступает в подмасочную полость В.

Подпружиненный клапан выдоха маски обеспечивает поддержание избыточного давления в полости В, в результате чего давление в полости В и связанных с ней полостях Б и Ж снова повышается. Далее процесс происходит описанным выше образом и приводит к закрытию клапана 14.

При выдохе открывается клапан выдоха маски и выпускает выдыхаемый воздух в окружающую среду.

Отключение легочного аппарата происходит при нажатии на кнопку 4, при этом шток 5 с седлом 8, перемещается, перекрывая отверстие в мембране 9, а пружина 6 попадает в канавку штока 5.

Включение дополнительной подачи воздуха осуществляется при повороте маховичка байпаса 2 против часовой стрелки на 90, отверстие Д и Е совмещаются и воздух поступает в полость В непрерывным потоком.

При понижении давления воздуха в баллоне в процессе работы до минимально допустимого значения срабатывает свисток 5.1 (рисунок 6) сигнального устройства 5, звуковым сигналом предупреждающий пользователя аппарата о том, что в баллоне остался только резервный запас воздуха и необходимо выйти из зоны с непригодной для дыхания газовой средой.

При необходимости эвакуации пострадавшего спасательное устройство 6 извлекается из сумки, ниппель 6.5 шланга 6.1 пристыковывается к замку 8.1 шланга 8. маска спасательного устройства 6.3 надевается на голову пострадавшего, в результате чего последний получает возможность дышать воздухом из аппарата.

При дозарядки баллона аппарата от стационарного баллона, оснащенного шлангом с полумуфтой, к нему пристыковывается штекерный ниппель шланга 10 аппарата.

 


 
 


1 Легочный автомат

1.1 -клапан; 1.2, 1.9, 1.10-пружина; 1.4 - мембрана; 1.5 - седло клапана; 1.6- опора, 1.7 - шток; 1.8- кнопка; 1.11 - крышка.

2 Маска:

2.1 - панорамное стекло; 2.2 - клапаны вдоха; 2.3 - клапан выдоха.

3. Баллон с вентилем:

3 1 - баллон; 3.2 - вентиль; 3.3 - маховичок; 3.4- кольцо 9В8.684.919.

4. Тройник:

4.1 - кольцо 9В8.684.909.

5 Сигнальное устройство:

5.1 - манометр; 5.2- свисток; 5.3 - стопорное кольцо; 5.4- кольцо.

6 Спасательное устройство:

6.1- шланг, 6.2- легочный автомат; 6.3 - маска; 6.4- кнопка байпаса; 6.5-ниппель.

Рисунок 4.16. Принципиальная

7. Шланг высокого давления:

7.1- кольце

8. Шланг для подключения спасательного устройства:

8.1 - замок; 8.2- втулка; 8 3 - шарик; 8.4- клапан.

9. Редуктор:

9.1 - клапан; 9.2 - пружина; 9.3 - кольцо 968.684.909.

10. Шланг со штекерным ниппелем для дозарядки баллонов

11. Шланг легочного автомата:

11.1 -кольцо

12,13 Пробки. (Устанавливаются в зависимости от комплектации взамен поз. 8 и 10 соответственно)

А. Б. полости → вдыхаемый воздух

=> выдыхаемый воздух.

 

схема аппарата АП-2000


Указания мер безопасности.

Для обеспечения безопасности при эксплуатации аппарата необходимо соблюдать нижеприведенные требования.

1. Баллоны, находящиеся в эксплуатации, должны подвергаться повторным гидравлическим испытаниям заводом — наполнителем и иметь соответствующее клеймо, зарегистрированное госгортехнадзором.

Наполнение сжатым воздухом баллонов с просроченным испытательным сроком категорически запрещается.

2. Запрещается производить подтяжку соединений, находящихся под высоким давлением, для устранения в них течи.

3. Во время работы и при передвижении в тесных проходах необходимо оберегать аппарат от ударов и повреждений.

4. Поскольку установленное для аппаратов рабочее давление 30,0 МПа относится к температуре + 20°С, то при заполнении баллонов необходимо учитывать температуру окружающего воздуха.

В таблице 3 приведена зависимость давления воздуха в баллоне аппарата от температуры окружающего воздуха (после того, как температура баллона сравняется с температурой окружающего воздуха).

 

Таблица 4.3

Температура окружающего воздуха,°С —30 —20 —10 0 +10 +20 +30 +40

Давление воздуха в баллоне, МПа 16,7 17,3 18,0 18,7 19,3 20,0 20,7 21,3

 

5. Баллоны для аппарата должны наполняться чистым, не имеющим вредных примесей атмосферным воздухом. Поэтому компрессоры, применяемые для накачки баллонов сжатым воздухом, должны снабжаться, кроме обычного водомаслоотделителя, специальным фильтром, поглощающим пары масла и прочие вредные газообразные примеси.

6. Безопасность при производстве работ в отравленной атмосфере должна обеспечиваться выполнением наставления по ГДЗС.

 

 







Date: 2015-05-09; view: 2788; Нарушение авторских прав



mydocx.ru - 2015-2026 year. (1.012 sec.) Все материалы представленные на сайте исключительно с целью ознакомления читателями и не преследуют коммерческих целей или нарушение авторских прав - Пожаловаться на публикацию