Главная Случайная страница


Полезное:

Как сделать разговор полезным и приятным Как сделать объемную звезду своими руками Как сделать то, что делать не хочется? Как сделать погремушку Как сделать так чтобы женщины сами знакомились с вами Как сделать идею коммерческой Как сделать хорошую растяжку ног? Как сделать наш разум здоровым? Как сделать, чтобы люди обманывали меньше Вопрос 4. Как сделать так, чтобы вас уважали и ценили? Как сделать лучше себе и другим людям Как сделать свидание интересным?


Категории:

АрхитектураАстрономияБиологияГеографияГеологияИнформатикаИскусствоИсторияКулинарияКультураМаркетингМатематикаМедицинаМенеджментОхрана трудаПравоПроизводствоПсихологияРелигияСоциологияСпортТехникаФизикаФилософияХимияЭкологияЭкономикаЭлектроника






Требования к системам заземления электроустановок





Системы электроснабжения классифицируются ГОСТ 30331.2—95 (МЭК 364—3—93) в зависимости от способа заземления распредели­тельной сети и примененных мер защиты от поражения электрическим током. Распределительные сети подразделяются на сети с заземленной нейтралью и сети с изолированной нейтралью. ГОСТ 30331.2—95 подразделяет распределительные сети в зависимости от конфигура­ции токоведущих проводников, включая нулевой рабочий (нейтраль­ный) проводник, и типов систем заземления. При этом используются следующие обозначения. Первая буква, I или Т, характеризует связь с землей токоведущих проводников (заземление сети). Вторая буква, I или N, характеризует связь с землей открытых проводящих частей (ОПЧ) и сторонних проводящих частей (СПЧ) (заземление оборудования).

Первая буква (I или Т). Первая буква I означает, что все то-коведущие части изолированы от земли или что одна точка сети связана с землей через сопротивление, или через разрядник, или воз­душный промежуток. Сети с изолированной нейтралью (I) могут быть: (1) весьма малыми сетями, такими, как сети безопасного сверхнизкого напряжения (БСНН) с электрическим отделением с помощью разде­ляющих трансформаторов, или (2) средними по размеру, такими, кото­рые используются для питания отдельных цехов, или (3) распредели­тельными сетями для питания целых районов города, такими, как трехфазные сети напряжением 230 В (система IT).

Первая буква Т указывает на прямую связь, по меньшей мере одной точки сети, с землей (terra). Например, питаемая от вторичной обмотки трансформатора, соединенной в звезду, трехфазная распре­делительная сеть с нейтральным проводником напряжением 127/220 или 220/380 В с нейтралью, соединенной с землей через заземляющее устройство.

Вторая буква (Т или N). Вторая буква означает тип соедине­ния между ОПЧ, защитным заземляющим проводником (заземление оборудования) электроустановки и землей. Вторая буква Т означает прямое соединение между ОПЧ и СПЧ и землей (terra), независимое от системного заземления, которое может содержать или не содержать то-коведущие части системы. Вторая буква N означает прямое соединение ОПЧ и СПЧ с заземленной точкой (точками) сети посредством PEN-или РЕ-проводника. Сетевое заземление и меры защиты от поражения электрическим током подлежат, каждое, независимому рассмотрению.

Последующие буквы (если таковые имеются) — устройство ну­левого рабочего и нулевого защитного проводника.

S — функция нулевого защитного и нулевого рабочего провод­ника обеспечивается раздельными проводниками.

С — функция нулевого защитного и нулевого рабочего провод­ников, объединенных в одном проводнике (PEN-проводник).

В табл. 16.1 приведены обозначения систем сетевого и защитно­го заземлений.

 

Таблица 16.1 Сетевое (рабочее) и защитное заземления

 

Обозначение системы Сетевое заземление Защитное заземление проводящих частей
IT Непосредственное соединение с землей отсутствует. Допускается соединение с землей через сопротивление, воздуш­ный промежуток, разрядник и т.д. Непосредственное соединение с землей, независимое от сетевого заземления
ТТ Соединение с землей в одной или не­скольких точках распределительной сети за пределами сети потребителя Непосредственное соеди­нение с землей, независи­мое от сетевого заземления
TN Соединение с землей в одной или нескольких точках распреде­лительной сети и в одной или более точках в сети потребителя Соединение с «сетевой землей» с помощью РЕ- или PEN-проводника
TI Соединение с землей в одной или нескольких точках распределительной сети Отсутствуют соединения с землей и с сетевым заземлением

 

Обозначения TN, TT и IT относятся только к конфигурации распределительных сетей. Эти обозначения имеют ограниченное от­ношение к различным методам, которые могут быть использованы для обеспечения защиты от поражения электрическим током, вклю­чая заземление ОПЧ. Хотя каждая система обеспечивается посредст­вом соединения ОПЧ с землей, эффективный метод, используемый в установке для защиты от поражения электрическим током, может включать другие меры защиты, например двойную изоляцию.

Конфигурация распределительной сети и меры, используемые для защиты от поражения электрическим током, являются, каждое, предметом самостоятельного рассмотрения.

На рис. 16.6...16.8 даны системы трехфазных сетей.

Система TN. Питающие сети системы TN имеют непосредст­венно присоединенную к земле точку. Открытые проводящие части электроустановки присоединяются к этой точке посредством нулевых защитных проводников.


В зависимости от устройства нулевого рабочего и нулевого за­щитного проводников различают следующие три типа системы TN:

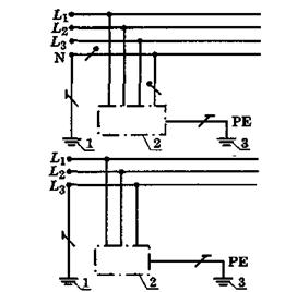
Система TN-S — нулевой рабочий и нулевой защитный про­водники работают раздельно по всей системе (рис. 16.6).

Система TN-C-S — функции нулевого рабочего и нулевого защит­ного проводников объединены в одном проводнике в части сети (рис. 16.7).

Система TN-C — функции нулевого рабочего и нулевого защитно­го проводников объединены в одном проводнике по всей сети (рис. 16.8).

Система ТТ. Питающая сеть системы ТТ имеет точку, непосред­ственно связанную с землей, а открытые проводящие части электро­установки присоединены к заземлителю, электрически независимому от заземлителя нейтрали источника питания (рис. 16.9).

Система IT. Питающая сеть системы IT не имеет непосредст­венной связи токоведущих частей с землей, а открытые проводящие части электроустановки заземлены (рис. 16.10).

 

 

 







Date: 2015-05-09; view: 1084; Нарушение авторских прав



mydocx.ru - 2015-2026 year. (0.555 sec.) Все материалы представленные на сайте исключительно с целью ознакомления читателями и не преследуют коммерческих целей или нарушение авторских прав - Пожаловаться на публикацию