Главная Случайная страница


Полезное:

Как сделать разговор полезным и приятным Как сделать объемную звезду своими руками Как сделать то, что делать не хочется? Как сделать погремушку Как сделать так чтобы женщины сами знакомились с вами Как сделать идею коммерческой Как сделать хорошую растяжку ног? Как сделать наш разум здоровым? Как сделать, чтобы люди обманывали меньше Вопрос 4. Как сделать так, чтобы вас уважали и ценили? Как сделать лучше себе и другим людям Как сделать свидание интересным?


Категории:

АрхитектураАстрономияБиологияГеографияГеологияИнформатикаИскусствоИсторияКулинарияКультураМаркетингМатематикаМедицинаМенеджментОхрана трудаПравоПроизводствоПсихологияРелигияСоциологияСпортТехникаФизикаФилософияХимияЭкологияЭкономикаЭлектроника






Ремонт газораспределительного и балансирного механизмов





Газораспределительный и балансирный механиз­мы ремонтируют в случаях обнаружения неисправностей в их работе (возможные неисправности указа­ны в прил. 1), а также если при общей разборке двига­теля выявлены повышенные износы, обгары, поломки или другие дефекты деталей.

Снятие и установка клапанов. Перед снятием клапа­нов рекомендуется пометить демонтированные голов­ки цилиндров (левая и правая) и клапаны рисками или кернами, а также вывернуть свечи зажигания во избе­жание их повреждения. Для снятия необходимо проде­лать следующее:

сжав при помощи съемника (рис. 59) пружины кла­пана, вынуть сухари и, постепенно отпуская пружины, снять тарелку, стакан и пружину;

проверить, нет ли наклепа на стержне клапана в ме­сте упора сухарей, мешающего выему клапана из нап­равляющей втулки; при необходимости зачистить нак­леп;

вынуть клапан из направляющей, таким же образом снять остальные клапаны, очистить их от нагара, лако­вых отложений и промыть. Очистить седла клапанов, впускные и выпускные каналы головки цилиндров, направляющие клапанов и промыть головки.

Рис. 59. Съемник пружин клапана:

1 — скоба; 2 — кольцевой упор; 3 — шток; 4 — планка; 5 — ры­чаг с кулачком

Проверить состояние клапанов, седел, направляю­щих втулок, пружин клапанов, стаканов, выполнить не­обходимый ремонт. На место клапаны устанавливаются в последовательности, обратной разборке.

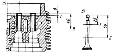
Проверка состояния стержней клапанов и их направ­ляющих втулок. Если по результатам осмотра нет осно­ваний для выбраковки клапанов (обгар рабочей фаски, задир на стержне), то следует измерить стержни клапа­нов в двух плоскостях, по двум взаимно перпендику­лярным направлениям (рис. 60, б) для определения их износа. Диаметр стержня нового выпускного клапана 6,923...6,938 мм, впускного — 6,945...6,960 мм (см. прил. 2). Непрямолинейность стержня не более 0,01 мм на длине цилиндрической части. Если диаметр стержня клапана менее 6,90 мм, то такой клапан следует заме­нить.

При отсутствии обгара или облома направляющих втулок клапана нужно измерить диаметр отверстий втулок для суждения об их пригодности по износу. Из­мерения (рис. 60, а) производят в трех плоскостях по двум направлениям: параллельно и перпендикулярно оси коленчатого вала. Диаметр отверстия новой направ­ляющей втулки клапана 6,992...7,020 мм. При износе втулки более 0,063 мм (диаметр более 7,083 мм) нап­равляющую втулку следует заменить.

Может возникнуть необходимость в замене клапана и до достижения предельного размера стержня по изно­су в зависимости от зазора в сопряжении со втулкой. Зазор определяется по результатам произведенных за-

Рис. 60. Схема замера направляющей втулки клапана (д) и стержня клапана (б)

меров и должен быть не более 0,1 мм для впускного и 0,15 мм для выпускного клапанов (предельно допусти­мые зазоры в эксплуатации соответственно 0,15 и 0,20 мм).

Замена направляющих втулок клапана. Для замены необходимо:

выпрессовать изношенную направляющую втулку клапана с помощью оправки и молотка или под прессом;

нагреть головку до температуры 190...210 °С и запрессовать в отверстие головки цилиндров новую направляющую втулку ремонтного размера — большую по наружному и меньшую по внутреннему диаметрам. Перед запрессовкой окунуть направляющую втулку в масло для двигателя. При запрессовке выдержать размер 15± 0,1 мм от верхнего торца втулки до плоскости головки.цилиндров (поверхность под шайбу пружины клапана), пользуясь оправкой (рис. 61);

после запрессовки направляющей втулки напрессо­вать на втулку опорную шайбу 9 пружины (см. рис. 10) и развернуть внутренний диаметр втулки до получения номинального размера 6,992...7,020 мм;

проверить прямолинейность отверстия во втулке оправкой диаметром 6,977± 0,002 мм. Оправка должна свободно проходить на всю длину втулки. Отверстие должно иметь блестящую поверхность без кольцевых рисок и задиров.

Шлифовка фасок головок клапанов. Если на фасках головок клапанов имеются значительная выработка, раковины, небольшие участки прогара или другие пов­реждения, нарушающие плотность посадки клапанов к седлам, то для удаления их необходимо прошлифовать фаски. Следы точечной эрозии на рабочей фаске не яв­ляются основанием для шлифовки клапанов, если они не нарушают уплотнения.

Рабочие фаски клапанов шлифуют на специальных шлифовальных станках или на универсальном оборудо­вании с помощью суппортно-шлифовального приспособ­ления под углом 45° к оси стержня. При шлифовании снимают минимальное количество металла, необходи­мое для того, чтобы вывести изъян.


После шлифования фаски необходимо проверить высоту цилиндрическогопояска головки клапанов: если эта высота окажется меньше 0,3 мм, то клапан следует заменить; при обнаружении погнутости стержня клапа­на его также следует заменить.

Проверяется также концентричность рабочей фаски клапана относительно его стержня на приспособлении с индикаторными головками (рис. 62). Взаимное биение поверхности фаски относительно стержня клапана долж­но быть не более 0,025 мм.

Шлифовка фасок седел клапанов. Эту операцию вы­полняют при замене направляющих втулок клапана, а также при износе фасок и для восстановления концент­ричности фасок относительно отверстий в направляю­щих втулках.

Рис. 61. Оправка для запр.сссовки направляющих втулок кла­панов:

1 — оправка; 2 — направляющая втулка клапана; 3 — направляющий штифт

Седла впускных и выпускных клапанов изготовле­ны из специального чугуна высокой твердости, поэтому их обрабатывают только шлифованием. Для шлифова­ния применяют шлифовальную машинку с электриче-

. Рис. 62. Проверка клапана на концентричность рабочей фаски головки и стержня:

1 - плита; 2 - призма; 3 - держатели; 4 — шарик; 5 - стойка; 6,7 -индикаторы

Рис. 63, Шлифовка фаски седла клапана

Рис. 64. Приспособление для проверки концентричности фаски седла клапана оси направляющей втулки: 1 — шариковая головка; 2 — вращающаяся муфта; 3 - держатель; 4 - оправка; 5 - инди­каторная головка

ским приводом (рис. 63). Машинка должна быть снаб­жена набором абразивных кругов с конусами 60, 90, 120°, наружным диаметром 27...28 мм и набором спе­циальных оправок, вставляемых в отверстия направ­ляющих втулок, и приспособлением для правки абра­зивных кругов.

Перед шлифовкой фаски нужно подобрать оправку, которая должна плотно входить в отверстие втулки. Шлифованный камень заправить под углом 89° ± 30'. Шлифование седла следует вести до тех пор, пока инст­румент не начнет снимать металл равномерно по всей окружности. При этом следует избегать излишнего съе-'ма металла.

Концентричность шлифованной фаски седла клапана и оси направляющей втулки проверяют приспособлени­ем с индикаторной головкой (рис. 64). Биение фасок седел впускных и выпускных клапанов должно быть не более 0,05 мм. При отсутствии приспособления мож­но ограничиться проверкой прилегания фаски клапана к седлу по краске.

После проверки концентричности нужно проверить ширину и место расположения на фаске поверхности соприкосновения головки клапана с седлом. Для этого необходимо нанести на седло клапана тонкий слой кра­ски (смесь масла с лазурью или ультрамарином), вста­вить клапан в его направляющую втулку и, прижимая к седлу, провернуть его. Поясок краски на рабочей фа­ске клапана должен располагаться посередине равно­мерно по всей окружности, а ширина пояска должна быть 1,2...1,8 мм для впускных и 1,4...2,0 мм для вы­пускных клапанов. Если указанные требования не вы­полнены, необходимо прошлифовать дополнительно седло клапана. При этом абразивный инструмент дол­жен иметь угол 60 или 120° в зависимости от того, ку­да требуется сместить рабочую фаску седла клапана (рис. 65).

Замена седла клапана. При обнаружении ослабления посадки седла клапана, трещин или значительных обга-ров седло подлежит замене. Седло вынимают вырезани­ем на станке или частями после преднамеренного обло­ма. Перед установкой нового седла следует зачистить гнездо от забоин и тщательно протереть. Нагреть голов­ку цилиндров до температуры 190...210° С. Седло нуж­но установить на головку так, чтобы фаска на наруж-


Рис. 65. Углы шлифовки сед­ла клапана: А — ширина фаски седла для впускных 1,2...1,8 мм и 1,4... 2,0 мм для выпускных клапанов

Рис. 66. Оправка для запрессовки седла клапана: 1 — оправка; 2 — седло клапана; 3 — подставка

ном диаметре седла была направлена к направляющей втулки клапана, и запрессовать его до упора оправкой (рис. 66) с диаметром направляющей части 261°'^ мм для седла впускного клапана и 22,81^ мм для 'седла выпускного клапана. После запрессовки седло следует зачеканить по контуру оправкой {рис. 67) и прошли­фовать на нем фаску, как описано в предыдущем раз­деле.

Притирка клапанов к седлам. Для обеспечения гер­метичности при шлифовке рабочих фасок клапанов или седел, при замене направляющей втулки или при незна­чительных износах седел и головок клапанов клапаны притирают к седлам. Эту операцию нужно выполнять в следующем порядке:

нанести на фаску головки клапана тонкий слой при­тирочной пасты, приготовленной в виде смеси мелкого шлифовального порошка (шлифпорошок электроко-рунд М14) с маслом для двигателя;

смазать стержень клапана маслом, установить его в направляющую втулку и закрепить в приспособлении (рис. 68);

вращая клапан поочередно в обе стороны, слегка прижимать к седлу.

При притирке клапанов не следует снимать с рабо­чих фасок клапанов и седел слишком много металла,

Рис. 67. Оправка для зачекаяки седла клапана: 1 — корпус; 2 — штифт; 3 — вставка; 4 — подставка

так как это сокращает число ремонтов седла и клапана и тем самым уменьшает общую продолжительность их службы.

К концу притирки нужно уменьшить содержание шлифовального порошка в притирочной пасте, а с мо­мента, когда притираемые поверхности станут гладки­ми и примут ровный серый цвет, притирку вести толь­ко на масле. Внешним признаком удовлетворительной притирки является замкнутый поясок одинакового ма­тово-серого цвета на рабочих поверхностях головки клапана и его седла. Ширина пояска должна быть 1,2... 1,8 мм для впускных и 1,4...2,0 мм для выпускных клапанов.

После притирки необходимо тщательно промыть клапаны и седла от притирочной пасты и проверить, не попила ли она на рабочую поверхность направляющих втулок, так как паста может привести к интенсивному износу направляющих втулок и стержней клапанов.

Для проверки герметичности клапанов необходимо собрать клапанный механизм и залить керосин во впу­скные и выпускные полости головки цилиндров. При выдержке в течение 3 мин пропуск керосина через кла­паны не допускается. В случае пропуска керосина при­тирку следует повторить.


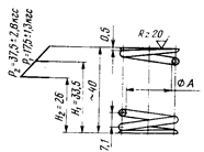
Проверка состояния клапанных пружин. Для про­верим измеряют длину пружины в свободном состоя­нии:и ее упругость (рис. 69).

Кроме того, следует проверить перпендикулярность оси пружины к опорному витку, для чего установить угольник на плиту и вплотную приставить к нему пру­жину, наибольшее расстояние верхнего витка до ребра угольника не должно быть более 1,4 мм. Если упругость пружины или ее длина меньше, чем указанные (см. рис. 68) на 5 % и более, пружину нужно заменить.

Если после шлифовки клапана и седла стержень клапана выступает настолько, что длина установленной пружины при закрытом клапане будет более 36 мм, то под пружину нужно установить дополнительную шайбу: тем, чтобы длина пружины при собранном клапанном механизме была в пределах 34...35 мм. В этом случае забочая упругость пружины будет восстановлена (рас-1етная величина длины пружины при закрытом клапане оставляет 33,03...35,07 мм).

Рис. 68. Приспособление для притирки клапанов: 1 - зажим; 2 — оправка; 3 — клапан ^—

 

Рис. 69. Упругость пружины клапана Материал — проволока

51ХФА-А-П-ХН-3,5;твердость HRC 42...50;А=20,4р^З

Проверка состояния наконечников клапанов. При разборке необходимо проверить наконечники стержней клапанов на отсутствие повышенного износа и трещин, нормальную (до упора) посадку на стержни выпуск­ных клапанов.

При наличии повреждений на поверхности наконеч­ника с носком коромысла его следует заменить. Уста­навливая новый наконечник, нужно проверить прилега­ние его по плоскости торца стержня выпускного клапа­на.

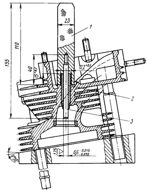
Проверка состояния коромысел клапанов и их ва­ликов. Перед разборкой рекомендуется пометить коро­мысла с тем, чтобы при сборке установить их на преж­нее место. Затем следует:

1 п £ вынуть шплинт 8 из кольцевой проточки на конце валика, снять шайбы 6, коромысла, втулки и пружины (см. рис. 16), промыть и протереть детали;

проверить чистоту рабочих поверхностей, незначи­тельные натиры зачистить (следы приработки на рабо­чих поверхностях носков коромысел зачищать не реко­мендуется);

прочистить и продуть сжатым воздухом отверстия подвода масла на валиках, коромыслах и регулировоч­ных винтах;

проверить посадку коромысел на валике. При по­дозрении на повышенный зазор измерить диаметр от­верстия в коромысле и валик на участках качения ко­ромысел (размеры деталей и предельный зазор указа­ны в-прил. 2);

проверить регулировочные винты на отсутствие по­вышенного износа сферической опорной поверхности и шатания в резьбовом соединении с коромыслом. При необходимости изношенные винты заменить;

осмотреть гайки регулировочных винтов, при нару­шении резьбы или смятых гранях гайки заменить;

проверить плотность посадки торцевых заглушек валиков коромысел, при обнаружении неплотности об­жать заглушку ударами молотка по оправке;

собрать коромысла клапанов с валиком, смазав ра­бочие поверхности маслом для двигателя и обратив внимание на правильное расположение коромысел кла­панов.

Проверка состояния толкателей клапанов в их штанг. Дпя этого следует:

вынутые толкатели промыть, протереть и тщательно осмотреть. Толкатели, имеющие на торцах, соприкасаю­щихся с кулачками распределительного вала, лучевые задиры, износ или выкрашивание поверхности, должны быть заменены новыми с тем, чтобы избежать в после­дующем повышенного износа кулачков распределитель­ного вала. Если на хорошо приработавшемся торце тол­кателя имеются только точечные следы выкрашиваний, такой толкатель заменять не рекомендуется;

проверить состояние выпуклой сферической поверх­ности толкателей, работающих по сфере наконечников штанг. Они должны иметь нормально приработанную поверхность, без задиров, негодные толкатели заменить;

проверить прямолинейность штанг, состояние сфериче­ских поверхностей наконечников и длину от сфер впа­дины и выступа, которая должна быть не менее 165,15 мм;

после проверки толкателей клапанов и штанг уста­новить их по ранее намеченным меткам; при монтаже обратить внимание на правильность установки толкате­лей выпускных клапанов первого и третьего цилиндров.

В процессе эксплуатации от естественного старения теряют эластичные свойства резиновые уплотнители ко­жухов штанг и сливных трубок. При затвердевании, на­личии остаточной деформации, надрывов или трещин уплотнители следует заменить.

Проверка состояния распределительного и балансир-ного валов. Для проверки необходимо:

тщательно промытый и насухо протертый распреде­лительный вал проверить по состоянию опорных шеек и кулачков. Замерить опорные шейки, определить зазо­ры и сравнить с данными, приведенными в прил. 2;

замерить кулачки распределительного вала по наи­большему и наименьшему профилю, при незначитель­ном износе вершин кулачков заполировать их, в про­тивном случае возможен ускоренный износ торцов даже новых толкателей. Если разность наибольшего и наименьшего размеров профиля хотя бы у одного из кулачков меньше 5,1 мм, вал заменить. В запасные части поставляются распределительный вал в сборе с шестерней распределительного вала и втулкой проти­вовеса:

при установке нового распределительного вала или ведомой шестерни проверить зазоры в зацеплении ше­стерни привода распределения, как описано в разд. "Снятие и установка распределительного вала и балан-сирного механизма с двигателя, снятого с автомобиля";

в случае ослабления крепления шестерни распреде­лительного вала к фланцу расклепать заклепки и прос­верлить еще три отверстия диаметром 6 мм. Эти отвер­стия затем развернуть разверткой до размера 6,1_ мм и установить в них три заклепки 6х20 мм. Головки вновь установленных заклепок не должны быть выше старых;

при необходимости замены шестерни распредели­тельного вала вследствие повышенного износа, скола

Рис. 70. Расточка шестерни распределительного вала под ремонтную втулку:

1 - шастерня распределительного вала; 2 - ремонтная втулка (материал АЖ9-4); 3 — отремонтированная шестерня; В — отверстие диаметром 2,9 мм в шестерне и втулке сверлить совместно и поставить штифт диаметром 3х8 мм

зубьев или других дефектов старые заклепки срезать i проверить состояние фланца распределительного вала забоины и заусенцы зачистить. При деформации отвер стий под заклепки их рассверлить на диаметр 7 мм, раз вернуть вместе с новой шестерней и соединить новым1 заклепками 7 мм. Положение метки на шестерне (дл? совмещения с шестерней на коленчатом валу) относи тельно профиля кулачков распределительного валг обеспечивается за счет асимметричного расположения отверстий под заклепки (рис. 70);

проверить состояние поверхности зубьев шестерня распределительного вала (как работавшей, так и ново{ в случае замены). Даже незначительные заусенцы и за боины на зубьях вызывают повышенный шум в работе зацепления. Обнаруженные забоины и заусенцы тща тельно зачистить;

при повышенном износе опор балансирного валг восстановить монтажный зазор (см. прил. 2) установ­кой втулок. Для этого расточить шестерню (см. рис. 70). нагреть распределительный вал с шестерней до темпе­ратуры 100...120 °С, запрессовать втулки до упора. подрезать торцы втулок и расточить в окончательный размер. Рабочие поверхности деталей балансирного ме­ханизма (см. рис. 14) не должны иметь задиров или прихватов. Зацепление шестерни привода балансирного вала проверить, как описано в разд. "Снятие и установ­ка распределительного вала и балансирного механизма с двигателя, снятого с автомобиля".

Детали балансирного механизма балансируют стати­чески в комплекте, показанном на рис. 14. Дисбаланс не должен превышать 2,5 кг-см. При необходимости за­мены одной из деталей (кроме болта и сухаря) меняет­ся весь комплект.







Date: 2015-05-05; view: 786; Нарушение авторских прав



mydocx.ru - 2015-2026 year. (0.644 sec.) Все материалы представленные на сайте исключительно с целью ознакомления читателями и не преследуют коммерческих целей или нарушение авторских прав - Пожаловаться на публикацию