Главная Случайная страница


Полезное:

Как сделать разговор полезным и приятным Как сделать объемную звезду своими руками Как сделать то, что делать не хочется? Как сделать погремушку Как сделать так чтобы женщины сами знакомились с вами Как сделать идею коммерческой Как сделать хорошую растяжку ног? Как сделать наш разум здоровым? Как сделать, чтобы люди обманывали меньше Вопрос 4. Как сделать так, чтобы вас уважали и ценили? Как сделать лучше себе и другим людям Как сделать свидание интересным?


Категории:

АрхитектураАстрономияБиологияГеографияГеологияИнформатикаИскусствоИсторияКулинарияКультураМаркетингМатематикаМедицинаМенеджментОхрана трудаПравоПроизводствоПсихологияРелигияСоциологияСпортТехникаФизикаФилософияХимияЭкологияЭкономикаЭлектроника






Ремонт кривошипно-шатунного механизма





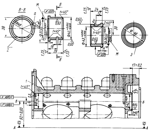
Проверка состояния и ремонт картера двигателя. бартер двигателя обычно не требует ремонта до пробе­га более 125 тыс. км. Наиболее характерной неисправ­ностью в процессе эксплуатации являются случаи вы-рыва шпилек крепления цилиндров и головок цилинд­ров. Эту неисправность устраняют постановкой шпиль­ки (рис. 49) с увеличенной резьбой ввертной части до М12. Для постановки шпильки необходимо снять цилиндр и, приняв меры, предохраняющие от засорения масляной полости двигателя, в отверстии с сорванной резьбой на­резать резьбу М12х1,75 на глубину 29 мм (непер­пендикулярность оси резьбы к привалочной плоскости цилиндров должна быть не более 0,4 мм на длине 100 мм). Перед завертыванием резьбу на шпильке не­обходимо смазать бакелитовым лаком. Величина высту-пания шпильки от привалочной плоскости под цилинд­ры указана на рис. 5.

При полной разборке двигателя следует тщательно промывать картер, обратив особое внимание на про­мывку масляных полостей. После промывки нужно проверить привалочные и рабочие поверхности наотсут-

Рис. 49. Шпилька крепле­ния головок цилиндров (ре­монтная) Сталь 40Х. Твер­дость HRC 23...29

ствие забоин, местных вмятин, трещин и др. При нали­чии забоин и вмятин их следует аккуратно зачистить, при наличии трещин заварить вольфрамовым электро­дом в среде аргона или заменить картер. Необходимо замерить гнезда под опоры, подшипники распредели­тельного вала и под задний коренной подшипник и дан­ные измерений сравнить с допустимыми износами (см. прил. 2).

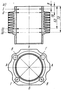
Если износы гнезд картера под подшипники распре­делительного вала превышают допустимые, следует вы­полнить ремонт картера. Для этого расточить гнезда картера и установить ремонтные подшипники (рис. 50).

Ремонтные подшипники нужно изготавливать из алюминиевого сплава следующего химического состава в процентах: Zn 4,5...5,5; Si 1,0...l,6;Mg 0,25...0,50; Mn < 0,15; Fe < 0,4; Си 1,0...1,4; Pb 0,8...1,5; А1— остальное, рекомендуемый сплав применяется для из­готовления вкладышей коренных подшипников.

Допускается изготавливать подшипники из магние­вого сплава МЛ-5. Перед запрессовкой подшипников картер нужно нагреть до температуры 190...210 °С, совместить пазы, выполненные на подшипниках с мас-лоподводящими каналами в картере, и запрессовать их в картер; просверлить отверстие диаметром 6 и глуби­ной 10 мм в подшипнике 2 передней опоры распредели­тельного вала совместно с картером коленчатого вала и поставить алюминиевый стопор; проверить индикатор­ным нутромером диаметр подшипников (и при необхо­димости развернуть) и соосность подшипников общей оправкой, выполненной ступенчато диаметрами 36,98^°'° ' и 36,51*°'" ', или новым распределительным валом. Оправка должна проходить свободно без заеда­ний.

Проверка состояния и ремонт цилиндров. После снятия с двигателя и промывки цилиндры следует про­верить на отсутствие облома ребер, рисок, задиров зер­кала цилиндров; при необходимости риски и задиры зачистить мелкой наждачной шкуркой, затертой мелом и покрытой маслом. После зачистки цилиндры нужно тщательно промыть, чтобы не осталось следов абразива. Мелкие риски, не мешающие дальнейшей работе, выво­дить не следует.

Рис. 50. Расточка картера коленчатого вала под ремонтные

подшипники распределительного вала:

1 — картер коленчатого вала; 2,3 — ремонтные подшипники опор рас­пределительного вала; А—-А — ось коленчатого вала; Б—Б — ось распре­делительного вала; а - сверлить диаметром 6 мм на глубину 10 мм в сборе с картером двигателя, поставить штифт 6х10 мм;М — размеры вы­держать после запрессовки подшипников в картер Втулки изготовить из материала с химическим составом в %:

Zn=4,S...5,5; Si=l,0...1,65; Mq=0,25...0,50; Mn<0,15; Fe<0,5: Cu ~- 1,0...1,4; Рв =0,8...1,5; Al — остальное

При наличии уступа в верхней части зеркала цилинд­ра (на границе работы верхнего компрессионного коль­ца) необходимо снять уступ серповидным шабером или специальным абразивным инструментом. Эту работу нужно выполнить аккуратно с тем, чтобы не снять ме­талла ниже уступа.

Пригодность цилиндра для дальнейшей работы по своим геометрическим размерам определяют, замеряя внутренний диаметр индикаторным нутромером в ука-

Рис. 61. Схема замера:

а — диаметр зеркала цилиндра; б — юбки поршня; D D — ось коленча­того вала; А—-А — по II поясу контрольный размер юбки поршня, равный

^ '^-0,03 ^

занных на рис. 51, а плоскостях (А—А, Б—Б, В—В и 1-Г).

Изношенность цилиндра характеризуется величиной износа 1 пояса (средняя величина от замера в четырех направлениях). В этом поясе износ обычно'наибольший, кроме того, от размера в этом поясе зависит зазор в стыке первого компрессионного кольца.


Для определения зазора между юбкой поршня и ци­линдром принимается средний диаметр от размера в че­тырех направлениях по III поясу. При увеличении диа­метров цилиндров более 72,120 мм при замере по пер­вому поясу цилиндры подлежат ремонту.

Цилиндры двигателя необходимо обрабатывать до диаметра 72,25^"'^ мм и сортировать на три группы: 1) 72,24...72,25^2) 72,25...72,26; 3) 72,26...72,27 мм. Обработанное зеркало цилиндра должно удовлетво­рять следующим требованиям: овальность и конусность цилиндра допускаются до 0,015 мм; шероховатость по-

верхности не более 0,25 мкм, биение посадочных тор-цев относительно диаметра 72,25^'^ мм не более

0,03 мм на крайних точках, а поверхностей диаметра

^^^ " ^^^14^^ ~ ^ более 0,08 мм. После обра­ботки поверхность зеркала цилиндра следует тщатель­но промыть.

При необходимости замены цилиндров в запасные части поставляются цилиндры номинальных размеров, сортированные на три группы. Обозначение группы на­носится краской (красной, желтой, зеленой) на верхних ребрах (см. прил. 2).

Проверка состояния и замена поршней. Для замены поршня следует:

извлечь стопорные кольца поршневого пальца из ка-№ibok бобышек поршня, вставить винт приспособления для выпрессовки поршневого пальца (рис. 52) в отвер­стие пальца и ввернуть наконечник 3, навернув гайку 1 приспособления, выпрессовать поршневой палец и снять поршень;

очистить от нагара днище поршня и канавки под поршневые кольца (канавки удобно очищать от нагара старым поломанным поршневым кольцом, соблюдая при этом осторожность); очистить и продуть отверстия для отвода масла из канавки под маслосъемные кольца;

Рис. 52. Приспособление для выпрессовки поршневого пальца: 1 — гайка; 2 — оправка; 3 – наконечник

при визуальном осмотре поршней особо тщательно осмотреть их на отсутствие трещин, при наличии тре­щин поршень заменить;

глубокие натиры и следы задиров или прихватов за­чистить. Диаметр юбки поршня замерить по схеме, приведенной на рис. 51, б. Для определения зазора меж­ду юбкой поршня и поверхностью цилиндра берется за­мер во втором поясе в плоскости А—А. Контрольный замер у нового поршня по второму поясу должен быть равен 71,93...71,96 мм. Внутренний диаметр бобышек поршня (под поршневой палец) замеряют обычно в даух направлениях — по оси поршня и перпендикуляр­но оси; каждую бобышку замеряют в двух поясах. Вы­соту кольцевых канавок под поршневые кольца заме­ряют в четырех точках, расположенных взаимно перпен-дакулярно. Данные замеров сопоставляют с размера­ми прил. 2 и при необходимости заменяют поршни.

Поршень подлежит замене при износе юбки во вто­ром поясе в плоскости А—А до диаметра 71,778 мм, при увеличении размера ширины канавок под компрес­сионные поршневые кольца более 2,160 мм, увеличении зазора между новым компрессионным кольцом и ка­навкой поршня более 0,18 мм (рис. 53), при износе от­верстия под поршневой палец до диаметра 20,032 мм или при наличии трещин, задиров, прогаров и др.

Для замены поршней в качестве запасных частей выпускают поршни номинального и одного ремонтного размеров с подобранными поршневыми пальцами и стопорными кольцами. Поршни ремонтных размеров увеличены по наружному диаметру на 0,25 мм против номинальных.


Для обеспечения требуемого зазора между нижней частью юбки поршня и цилиндром (в пределах 0,05... 0,07 мм) поршни номинального размера сортируют на три группы (см. прил. 2). Буквенное обозначение груп­пы (А, Б, В) наносят на наружной поверхности днища поршня, а на днище поршня ремонтного размера нано­сят действительный размер ремонтного увеличения юб­ки поршня. Размеры юбки ремонтных поршней и ци­линдров после расточки даны в табл. 3.

Таким образом, поршни и цилиндры подбирают сог­ласно маркировке. При первой смене поршней в изно-

Рис. 53. Проверка зазора между канавкой поршня и поршневым кольцом

Рис. 54. Проверка теплового зааора в стыке замка порш­невого кольца, вставленного в цилиндр

шенный цилиндр без расточки следует устанавливать поршни номинального размера, преимущественно груп­пы "В". Разница в массе самого тяжелого и самого лег­кого поршня для одного двигателя не должна превы­шать 3 г.

Сборку поршня с шатуном рекомендуется выпол­нять в следующей последовательности:

вставить стопорное кольцо в одну из бобышек так, чтобы оно плотно село в канавку;

нагреть поршень до температуры 80...85 °С и сов­местить его с шатуном, направив стрелку на днище порш­ня и номер на шатуне в одну сторону;

смазать поршневой палец маслом для двигателя и вставить его в отверстие бобышек поршня и во втулку верхней головки шатуна, — в нагретый поршень палец входит под легким нажатием руки. Когда палец упрет-

Таблииа 3

Группа Диаметр юбки порш­ней ремонтного раз­мера, мм Диаметр цилиндра после ремонта, мм Зазор, мм
А Б В 72,18...72,19 72,19...72,20 72,20...72,21 72,24. 72,25. 72,26. ..72,25..72,26..72,27 0,05.. 0,05.. 0,05.. ..0,07..0,07..0,07
           

 

ся в стопорное кольцо, вставить второе кольцо. После остывания поршня палец должен быть неподвижным в отверстиях бобышек поршня, но подвижным во втулке шатуна;

установить поршневые кольца, как показано на рис.7. Проверка состояния и замена поршневых колец. Ле-]эед проверкой поршневые кольца нужно тщательно очистить от нагара и липких отложений и промыть. Ос­новная проверка заключается в определении теплового зазора в замке поршневого кольца, вставленного в ци­линдр (рис. 54). Поршневые кольца при этом вставля­ют в цилиндр, проталкивая его донышком поршня на глубину 8...10 мм. Зазор в стыке работающего кольца не должен превышать 1,5 мм.

Проверяют также приработку поршневого кольца по цилиндру. При наличии следа прорыва газов поршне­вое кольцо подлежит замене.

Поршневые кольца поставляются в запасные части номинального и одного ремонтного размеров комплек­тами на один двигатель. Кольца ремонтного размера от-- личаются от колец номинального размера наружным диаметром, увеличенным на 0,25 мм. Их устанавливают только на ремонтные поршни при расшлифовке цилинд­ров на соответствующий размер. Перед установкой сле­дует очистить поршневые кольца от консервации и тща­тельно промыть, затем подобрать их для каждого ци­линдра. После подбора комплектов по каждому цилинд­ру нужно проверить зазор в стыке поршневых колец. При установке в новый цилиндр он должен быть 0,21... 0,55 мм для компрессионных и 0,9... 1,5 мм для дисков маслосъемных колец (при необходимости припилить). Зазор в стыке новых компрессионных поршневых ко­лец, устанавливаемых в работавшие цилиндры, не дол­жен превышать 0,93 мм.


Перед установкой поршневых колец на поршни про­веряют легкость перемещения поршневых колец, про-катыванием кольца в канавках поршня (рис. 55) с тем, чтобы убедиться в чистоте канавок, отсутствии забоин и пр. Кольца надевают на поршни при помощи оправки (рис. 56), соблюдая осторожность, чтобы их не поло­мать и не деформировать. Установку колец начинают с нижнего маслосъемного кольца; в нижнюю канавку

Рис. 55. Проверка свободного переме­щения поршневого кольца в канавке поршня прокатываНием

устанавливают радиальный расширитель 5 (см. рис. 7), нижний диск 3, осевой расширитель 4 и верхний диск, затем устанавливают нижнее и верхнее компрессион­ные кольца. При установке компрессионных колец пря­моугольная фаска, выполненная на внутренней поверх­ности, должна быть обращена вверх. После установки колец нужно смазать поршни и поршневые кольца мас­лом и еще раз проверить легкость перемещения колец в канавках и расставить стыки колец, как показано на рис. 7.

Подбор и замена поршневых пальцев. Поршневые пальцы редко заменяют без замен поршней, так как их износ, как правило, очень мал. Поэтому в запасные ча­сти поставляют поршни в комплекте с поршневыми пальцами, подобранные по цветовой маркировке, нане­сенной на бобышке поршня и внутренней поверхности пальца (в комплект входят также стопорные кольца). Маркировка обозначает одну из четырех размерных групп, отличающихся друг от друга на 0,0025 мм. Раз­меры поршневого пальца и диаметр бобышки поршня под палец каждой из размерных групп указаны в прил. 2.

Запрещается устанавливать поршневой палец в но­вый поршень другой размерной группы, так как это приводит к деформации поршня и возможен его задир.

При замене поршневого пальца на работавшем порш­не его подбирают по данным замера диаметра бобышек для обеспечения натяга до 0,005 мм. После подбора поршневого пальца по поршню его проверяют по втулке верхней головки шатуна. Монтажный зазор между втулкой и пальцем должен быть 0,002...0,007 мм для новых деталей и не более 0,025 мм для работавших; предельно допустимый зазор — 0,05 мм. Новый порш­невой палец подбирается по втулке верхней головки шатуна по цветовой маркировке четырех размерных групп. На шатуне маркировка наносится краской у верх­ней головки (см. прил. 2).

Сопряжение новых поршневых пальцев с втулками шатунов проверяется проталкиванием тщательно про­тертого поршневого пальца в насухо протертую втулку верхней головки шатуна снебольшимусилием (рис. 57). Ощутимого люфта при этом не должно быть. Для до­стижения такого сопряжения допускается устанавливать детали смежных размерных групп.

Проверка состояния шатунов и их замена. Шатуны проверяют на отсутствие забоин, трещин, вмятин, состояние поверхностей, размеры подшипников ниж­ней и верхней головок шатуна, параллельность осей

Рис. 66. Оправка для надевания на поршень поршневых колец: 1 — поршень; 2 — оправка

Рис. 57. Проверка правиль­ности подбора поршневого пальца к втулке верхней головки шатуна

нижней и верхней головок шатуна. При отсутствии су­щественных механических повреждений мелкие забои­ны и вмятины следует аккуратно зачистить. При нали­чии значительных механических повреждений или тре-шин шатун подлежит замене. Болты шатуна не должны иметь даже незначительных следов вытягивания; по всей цилиндрической поверхности болта размер должен быть одинаковым.

Резьба шатунного болта не должна иметь вмятин и следов срыва. Постановка болта шатуна для дальней­шей работы даже с незначительными повреждениями не допускается, так как это может привести к обрыву бол­та шатуна и вследствие этого к тяжелой аварии.

Подшипник верхней головки шатуна представляет собой бронзовую втулку из ленты толщиной 1 мм. Из-носостойкость ее, как правило, высокая, и потребность в замене даже при капитальном ремонте возникает ред­ко. Однако в аварийных случаях при наличии прихва­тов или задиров втулку выпрессовывают и заменяют новой. В запасные части поставляют заготовку из ленты, которую запрессовывают в верхнюю головку шатуна, а затем проглаживают гладкой брошью в размер 19,855... 19,865 мм. Стык втулки располагают справа, глядя на лицевую сторону стержня шатуна (где нанесен номер детали). Затем сверлят отверстие диаметром 4 мм для подвода масла и развертывают втулку в размер 201^ ^ ^ ' (нецилиндричность не более 0,0025 мм, разностенность втулки не более 0,2 мм); с торцов втулки снимают фа­ску 1х45°.

Параллельность оси верхней и нижней голорок ша­туна удобно проверять на приспособлении, показанном на рис. 58. Непараллельность осей допускается не более 0,04 мм на длийе 100 мм. При необходимости можно при помощи опоры 4 произвести рихтовку, шатуна.

При замене шатунов их подбирают так, чтобы по массе шатуны одного двигателя не отличались друг от друга более чем на 10 г. По массе шатуны разбиты на четыре группы, цвет маркировки группы наносится на крышке шатуна (см. рис. 8):

красный............................ 392...402 г желтый................ ^............402...412 " зеленый.............................412...422 " белый..............................422...432 "

Рис. 58. Приспособление для контроля и рихтовки шатунов: / — оправка; 2 — шайба; 3 — зажимная рукоятка; 4 — опора; 5 — шаб­лон; 6 — направляющая втулка

Проверка и замена вкладышей коренных и шатун­ных подшипников. При решении вопроса о необходи­мости замены вкладышей подшипников следует иметь в виду, что диаметральный износ вкладышей и шеек коленчатого вала не всегда служит определяющим кри­терием. В процессе работы двигателя в антифрикцион­ный слой вкладышей вкрапливается значительное ко­личество твердых частиц (продуктов износа деталей, абразивных частиц, засасываемых в цилиндры двигате­ля с воздухом и т. п.). Поэтому такие вкладыши, имея часто незначительный диаметральный износ, способны вызвать в дальнейшем ускоренный и усиленный износ шеек коленчатого вала. Следует также учитывать, что шатунные подшипники работают в более тяжелых ус­ловиях, чем коренные. Интенсивность их износа не­сколько превышает интенсивность износа коренных подшипников. Таким образом, к решению вопроса о замене вкладышей необходим дифференцированный подход в отношении коренных и шатунных подшипни­ков. Во всех случаях удовлетворительного состояния поверхности вкладышей коренных подшипников кри­терием необходимости их замены служит величина диа­метрального зазора в подшипнике.

При оценке состояния вкладышей осмотром следу­ет иметь в виду, что поверхность антифрикционного слоя считается удовлетворительной, если на ней нет за-диров, выкрашиваний антифрикционного сплава и вдавленных в сплав инородных материалов.

Для замены изношенных или поврежденных вкла­дышей в запасные части поставляются вкладыши корен­ных и шатунных подшипников номинального и двух ремонтных размеров. Вкладыши ремонтного размера отличаются от вкладышей номинального размера умень­шенными на 0,25 и 0,5 мм внутренними диаметрами. Коренные и шатунные подшипники ремонтных разме­ров устанавливают только после перешлифовки шеек коленчатого вала. Коренные подшипники рекомендует­ся менять все одновременно, чтобы избежать повышен­ного прогиба коленчатого вала. При замене коренных подшипников необходимо проследить за правильной установкой вкладышей, совпадением отверстий для подвода смазки и др.

После замены вкладышей как с одновременной пе­решлифовкой шеек коленчатого вала, так и без нее сле­дует обязательно проверить диаметральный зазор в каж­дом подшипнике (это можно сделать измерением шей­ки коленчатого вала, вкладышей (в паре) данного под­шипника и подшипников с последующими несложными расчетами). Тем самым проверяется правильность вы­бора вкладышей и подшипников.

Диаметр нижней головки шатуна измеряют при вло­женных вкладышах и затянутых с необходимым усили­ем болтов крышки шатуна. Диаметры коренных под­шипников замеряют в запрессованном (в переднюю и собранную среднюю опору) виде.

Диаметральные зазоры между шейками коленчато­го вала и подшипниками должны быть 0,030...0,135 мм для коренных подшипников и 0,026...0,071 мм для шатунных (см. прил. 2). Еслив результате перешлифов­ки диаметры шеек коленчатого вала уменьшены и вкла­дыши ремонтных размеров окажутся непригодными, то необходимо собрать двигатель с новым валом. Для такого случая в запасные части поставляется комплект, состоящий из коленчатого вала, маховика без сцепле­ния и корпуса центрифуги, сбалансированный динами­чески (допустимый дисбаланс не более 15 гс-см)

Тонкостенные сменные вкладыши шатунных под­шипников коленчатого вала изготовлены с высокой точностью. Требуемая величина диаметрального зазора в подшипнике обеспечивается только надлежащими диаметрами шеек коленчатого вала, получаемых при перешлифовке. Поэтому вкладыши при ремонте двига­теля заменяют без каких-либо подгоночных операций и только попарно. Замена одного вкладыша из пары не допускается.

Из сказанного также следует, что для получения тре­буемого диаметрального зазора в подшипнике запре­щается спиливать или пришабривать стыки вкладышей или крышек подшипников, а также устанавливать прок­ладки между вкладышем и его постелью.

Невыполнение этих указаний приведет к тому, что будет нарушена правильность геометрической формы подшипников, ухудшится теплоотвод от них, и вклады­ши быстро откажут в работе.

Проверка состояния коленчатого вала. Снятый с двигателя коленчатый вал (см. рис. 9) нужно тщатель­но промыть, обратив внимание на очистку внутренних масляных полостей, и продуть их сжатым воз духом. За­тем необходимо осмотреть состояние коренных и ша­тунных шеек коленчатого вала на отсутствие грубых рисок, натиров, следов прихвата или повышенного из­носа, проверить также состояние штифтов, фиксирую­щих положение маховика (они не должны быть дефор­мированы), нет ли трещин на торце коленчатого вала у основания штифтов, какова сохранность резьбы под болт маховика и болт крепления корпуса центрифуги.

При удовлетворительном состоянии коленчатого ва­ла по результатам осмотра его годность к дальнейшей эксплуатации определяют замером коренных и ша­тунных шеек. Шейки коленчатого вада замеряются в двух взаимно перпендикулярных плоскостях по двум поясам на расстоянии 1,5...2 мм от галтелей. Получен­ные размеры сопоставляют с размерами коренных и шатунных подшипников. Если зазоры в коренных под­шипниках не более 0,15 мм, а овальность и конусность шеек не превышают 0,02 (овальность и конусность ше­ек нового коленчатого вала не более 0,01 мм), колен­чатый вал может быть оставлен для дальнейшей эксплуатации со старыми подшипниками. О критериях за­мены вкладышей коренных и шатунных подшипников было указано выше (см. разд. "Проверка и замена вкла-дышей коренных и шатунных подшипников).

Если зазоры в коренных подшипниках близки к предельно допустимым, но размеры коренных шеек не менее 49,92, шатунных — 44,88 мм (износ в пределах 0,06...0,08 мм), коленчатый вал может быть оставлен дл:я дальнейшей эксплуатации с новыми коренными и шатунными подшипниками номинального размера. При износе коренных шеек коленчатого вала до размера 49,92 мм, шатунных шеек до размера менее 44,88 мм или при существенных неисправностях по визуальному осмотру коленчатый вал подлежит замене или ремонту.

Ремонт коленчатого вала заключается в перешли­фовке коренных и шатунных шеек с уменьшением диа­метра на 0,25 или 0,5 мм против номинального (табл. 4).

При этом коренные и шатунные шейки допускается обрабатывать каждую в отдельности в зависимости от повреждений под необходимый ремонтный размер. Раз­мер между щеками шатунных шеек необходимо вы­держивать 21*°?' мм, радиус галтелей для коренных и шатунных шеек 2,0^^ мм. После обработки все кана­лы нужно очистить от'стружки и промыть.

Обработанные шейки коленчатого вала должны удов­летворять следующим условиям: овальность и конус­ность всех коренных и шатунных шеек не должны пре­вышать 0,010 мм; шероховатость поверхности должна быть не более 0,20 мкм; непараллельность осей шатун­ных шеек осям коренных шеек — не более 0,01 мм на длине шейки. При установке на крайних коренных шей-ках биение средней коренной шейки не должна превы­шать 0,02 мм.

Таблица 4

 
Ремонтные уменьшения ко­ренных и шатунных вклады- Диаметр шеек коленчатого вала после ремонта, мм
  коренных шатунных
Р1 (-0,25) Р 2 (-0,50) 49,75±0,01 44,75„„^ 49,б±0,01 ^0.^

 

Проверка состояния маховика заключается в про­верке прилегания ведомого диска сцепления, ступицы, зубчатого о^ода и отверстий под штифты маховика (см. рис. 9).

Плоскость прилегания ведомого диска не должна иметь рисок и задиров. Незначительные риски удаляют­ся шлифованием, шероховатость поверхности не долж­на превышать 0,63 мкм, биение указанной плоскости в сборе с коленчатым валом не более 0,15 мм на край­них точках. Ступицу маховика при наличии задиров или следов выработки на наружном диаметре нужно шлифовать. Диаметр ступицы после шлифовки должен быть не менее 57,8_ мм, а шероховатость поверхно­сти не более 0,20 мкм.ьиение на указанном диаметре в сборе с коленчатым валом должно быть не более 0,10 мм. При наличии трещин на ступице маховик следует за­менить.

На зубчатом венце маховика не должно быть забо­ин, сколов зубьев и других повреждений. При наличии забоин и мелких сколов их следует зачистить, а при зна­чительных повреждениях зубчатый венец следует за­менить. Перед напрессовкой венец нужно нагреть до температуры 200...230 °С, а затем установить на ма­ховик фаской на внутреннем диаметре и напрессовать его до упора. Если отверстия под штифты разбиты, пе­ред снятием маховика нужно пометить взаимное поло­жение маховика и коленчатого вала, а затем:

снять маховик, зачистить выпучины металла на сту­пице маховика в отверстиях под штифты;

установить маховик на коленчатый вал согласно на­несенным меткам и между имеющимися штифтами на диаметре 38 мм просверлить четыре отверстия диамет­ром 5,9 мм на глубину 16,5 мм и развернуть разверт­кой диаметром 6^^^ мм на глубину 15 мм;

после этого снять маховик и развернуть четыре от­верстия в маховике на диаметр 6^^^ мм, а в колен­чатый вал запрессовать четыре штифта диаметром 6_ мм, длиной 14,5 мм; утопание штифтов от пло­скости ступицы маховика должно быть 0,5...1,0 мм.

В случае отсутствия меток и невозможности устано­вить первоначальную установку маховика на коленча­том вале после указанного ремонта или замены махо­вика обязательно нужно произвести динамическую балансировку коленчатого вала с маховиком, как указа­но в разд. "Конструктивные особенности двигателя".

Проверка состояния манжет коленчатого вала. Пос­ле длительной эксплуатации двигателя манжеты колен­чатого вала требуют замены. В случае разборки двига­теля с малым пробегом, но требующим снятия колен­чатого вала, манжеты необходимо тщательно осмотреть. При наличии на рабочей кромке даже незначительных трещин или надрывов, следов отслоения от арматуры, затвердевания материала или деформации манжету сле­дует заменить. При установке манжеты на перешлифо­ванную ступицу или корпус центрифуги нужно укоро­тить ее пружину на 1 мм. После запрессовки манжеты рабочую кромку необходимо смазать смазкой № 158 или Литол-24.







Date: 2015-05-05; view: 902; Нарушение авторских прав



mydocx.ru - 2015-2026 year. (1.592 sec.) Все материалы представленные на сайте исключительно с целью ознакомления читателями и не преследуют коммерческих целей или нарушение авторских прав - Пожаловаться на публикацию