Главная Случайная страница


Полезное:

Как сделать разговор полезным и приятным Как сделать объемную звезду своими руками Как сделать то, что делать не хочется? Как сделать погремушку Как сделать так чтобы женщины сами знакомились с вами Как сделать идею коммерческой Как сделать хорошую растяжку ног? Как сделать наш разум здоровым? Как сделать, чтобы люди обманывали меньше Вопрос 4. Как сделать так, чтобы вас уважали и ценили? Как сделать лучше себе и другим людям Как сделать свидание интересным?


Категории:

АрхитектураАстрономияБиологияГеографияГеологияИнформатикаИскусствоИсторияКулинарияКультураМаркетингМатематикаМедицинаМенеджментОхрана трудаПравоПроизводствоПсихологияРелигияСоциологияСпортТехникаФизикаФилософияХимияЭкологияЭкономикаЭлектроника






Смазочная Система двигателя





СМАЗОЧНАЯ СИСТЕМА ДВИГАТЕЛЯ предназначена для подачи предварительно очищенного и охлажденного масла к парам трения.

На двигателе применена комбинированная система смазки, в которой часть деталей смазывается под давлением, часть самотеком, а часть разбрызгиванием. Система смазки с "мокрым" картером.

Система смазки (рисунок 1.4.3-1) включает масляный насос 1, фильтр очистки масла 3, теплообменник масляный 6, картер масляный 13, маслоналивную горловину, трубку указателя уровня и указатель уровня масла.

Рисунок 1.4.3-1 – Схема смазочной системы:

1 – насос масляный; 2 – клапан; 3 – фильтр очистки масла; 4 – перепускной клапан; 5 – частичнопоточный фильтроэлемент; 6 – водомасляный теплообменник; 7, 8 и 9 – приборы контроля;
10 – форсунки охлаждения поршней; 11 – термоклапан; 12 – полнопоточный фильтроэлемент; 13 – картер масляный; 14 – клапан предохранительный; 15 – желоб маслораспределительный;
16 – прокладка поддона

Давление в смазочной системе (главной масляной магистрали) должно быть в пределах 0,39…0,54 МПа (4,0…5,5 кгс/см2) при номинальной частоте вращения коленчатого вала двигателя и температуре охлаждающей жидкости 80…95 °С и не менее 0,10 МПа (1,0 кгс/см2) при минимальной частоте вращения холостого хода.

Для снижения аэрации масла и обеспечения работы двигателя на кренах на некоторые комплектации двигателей между блоком цилиндров и фланцем картера масляного устанавливается маслораспределительный желоб.

Различные комплектации двигателей могут отличаться формой картера масляного, расположением и глубиной копильника масла. Соответственно, масляный насос имеет различные маслозаборники. Двигатели могут оснащаться маслоналивной горловиной и указателем уровня масла, расположенными в передней крышке или на картере маховика, при этом трубки указателя отличаются длиной.

Конфигурация и основные размеры картеров масляных, маслозаборников и трубок указателя уровня показаны в таблице. 1.4.3-1

Таблица 1.4.3-1

НАСОС МАСЛЯНЫЙ (рисунок 1.4.3-2) закреплен на нижней плоскости блока цилиндров.

Зазор в зацеплении зубчатых колес привода регулируется прокладками толщиной 0,4 мм, устанавливаемыми между привалочными плоскостями насоса и блока цилиндров, и должен составлять 0,15…0,35 мм. Момент затяжки болтов крепления масляного насоса к блоку должен быть 49,0…68,6 Н∙м (5,0…7,0 кгс∙м).

 

Рисунок 1.4.3-2 – Насос масляный:

1 – крышка; 2 – корпус; 3 – шестерня ведущая; 4 – ведомое зубчатое колесо; 5 – шпонка; 6 – гайка; 7 – шестерня ведомая; 8 – ось; 9 – шплинт; 10 – пробка; 11, 12 – пружины; 13 – клапан; 14 – шарик; 15 – шайбы регулировочные

 

 

Масляный насос шестеренный, односекционный. Он состоит из корпуса 2, крышки 1 и шестерен 3 и 7. В крышке расположен клапан смазочной системы 13, с пружиной 11, отрегулированный на давление срабатывания 392…439 кПа (4,0…4,5 кгс/см2). Насос имеет в нагнетающем канале предохранительный клапан, выполненный в виде шарика 14 подпружиненного пружиной 12. Давление срабатывания клапана 931…1127 кПа (9,5…11,5 кгс/см2).

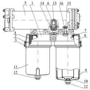
ФИЛЬТР МАСЛЯНЫЙ (рисунок 1.4.3-3) закреплен на правой стороне блока цилиндров и состоит из корпуса 1, двух колпаков 11 и 9, в которых установлены полнопоточный 8 и частичнопоточный 4 фильтроэлементы.

 

Рисунок 1.4.3-3 – Фильтр масляный с теплообменником:

1 – корпус фильтра; 2, 3 – уплотнительные кольца; 4 – частично-поточный фильтрующий элемент; 5 – теплообменник; 6 – термосиловой датчик; 7 – прокладка; 8 – полнопоточный фильтрующий элемент; 9, 11 – колпаки; 10 – упорная пружина; 12 – сливные пробки; 13 – поршень термоклапана; 14 – пружина термоклапана; 15 – перепускной клапан; 16 – пружина перепускного клапана

 

Колпаки на резьбе вворачиваются в корпус. Уплотнение колпаков в корпусе осуществляются кольцами 2 и 3.

В корпусе фильтра расположены перепускной клапан 15, отрегулированный на давление срабатывания 147…216 кПа (1,5…2,2 кгс/см2), и термоклапан включения масляного теплообменника.

Очистка масла в фильтре комбинированная. Через полнопоточный фильтроэлемент 8 проходит основной поток масла перед поступлением к потребителям, тонкость очистки масла от примесей, при этом, составляет 40 мкм. Через частичнопоточный фильтроэлемент 4 проходит 3…5 л/мин, где удаляются примеси размерами более 5 мкм. Из частичнопоточного фильтроэлемента масло сливается в картер. При такой схеме достигается высокая степень очистки масла от примесей.


ТЕРМОКЛАПАН ВКЛЮЧЕНИЯ ТЕПЛООБМЕННИКА МАСЛЯНОГО (рисунок 1.4.3-3) состоит из подпружиненного поршня 13 с термосиловым датчиком 6. При температуре масла ниже 93 °С поршень находится в верхнем положении и основная часть потока масла, минуя теплообменник, поступает в двигатель. При достижении температуры масла омывающего термосиловой датчик 95+2 °С, активная масса, находящаяся в баллоне, начинает плавиться и, увеличиваясь в объеме, перемещает шток датчика и поршень 13. При температуре масла 110+2 °С поршень разобщает полости в фильтре до и после теплообменника и весь поток масла идет через теплообменник. При превышении температуры масла выше 120 °С срабатывает датчик аварийной температуры и на щитке приборов загорается сигнальная лампочка.

ТЕПЛООБМЕННИК МАСЛЯНЫЙ 5 (рисунок 1.4.3-3) установлен на масляном фильтре, кожухотрубного типа, сборный. Внутри трубок проходит охлаждающая жидкость из системы охлаждения двигателя, снаружи – масло. Со стороны масла трубки имеют оребрение в виде охлаждающих пластин. Поток масла в теплообменнике шесть раз пересекает трубки с охлаждающей жидкостью, чем достигается высокая эффективность охлаждения масла.

На двигателях с перспективной системой топливоподачи «CR» более повышена эффективность отвода тепла, в связи с чем применение при ремонте теплообменников двигателей с традиционной топливной аппаратурой не рекомендуется.

КАРТЕР МАСЛЯНЫЙ 13 (рисунок 1.4.3-1) штампованный, крепится к блоку цилиндров через резинопробковую прокладку. Двигатели могут комплектоваться различными масляными картерами в зависимости от назначения (см. таблицу 1.4.3-1), объем заливаемого в картер масла приведен в разделе «Эксплуатационные материалы» настоящего руководства.

СИСТЕМА ВЕНТИЛЯЦИИ КАРТЕРА (рисунок 1.4.3-4) открытая. Картерные газы отводятся из штанговой полости второго цилиндра через угольник 1 в трубу 3 и далее попадают в маслоотделитель 6, где отделенное масло через отверстие в картере агрегатов по трубке гидрозатвора 9 сливается назад в картер масляный, а очищенные картерные газы через трубку отводятся в атмосферу.

 

Рисунок 1.4.3-4 – Система вентиляции картера двигателя:

1 – угольник; 2, 5 – уплотнительные кольца; 3 – труба; 4 – кольцо стопорное; 6 – маслоотделитель; 7 – кляммер; 8 – болт; 9 – гидрозатвор; 10 – картер маховика (агрегатов); 11 – масляный картер

 

 







Date: 2015-05-05; view: 1117; Нарушение авторских прав



mydocx.ru - 2015-2026 year. (0.329 sec.) Все материалы представленные на сайте исключительно с целью ознакомления читателями и не преследуют коммерческих целей или нарушение авторских прав - Пожаловаться на публикацию