Главная Случайная страница


Полезное:

Как сделать разговор полезным и приятным Как сделать объемную звезду своими руками Как сделать то, что делать не хочется? Как сделать погремушку Как сделать так чтобы женщины сами знакомились с вами Как сделать идею коммерческой Как сделать хорошую растяжку ног? Как сделать наш разум здоровым? Как сделать, чтобы люди обманывали меньше Вопрос 4. Как сделать так, чтобы вас уважали и ценили? Как сделать лучше себе и другим людям Как сделать свидание интересным?


Категории:

АрхитектураАстрономияБиологияГеографияГеологияИнформатикаИскусствоИсторияКулинарияКультураМаркетингМатематикаМедицинаМенеджментОхрана трудаПравоПроизводствоПсихологияРелигияСоциологияСпортТехникаФизикаФилософияХимияЭкологияЭкономикаЭлектроника






Система газотурбинного наддува и охлаждения наддувочного воздуха





СИСТЕМА обеспечивает за счет использования части энергии отработавших газов подачу предварительно сжатого и охлажденного воздуха в цилиндры двигателя. Это позволяет увеличить плотность заряда воздуха, поступающего в цилиндры, и в том же рабочем объеме сжечь большее количество топлива, т.е. повысить литровую мощность двигателя. Применение наддува на двигателе расширяет эксплуатационные возможности транспортного средства при движении в горных условиях.

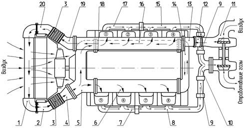
Рисунок 1.4.4-1 – Схема газотурбинного наддува с одним турбокомпрессором:

1 – теплообменник охлаждения наддувочного воздуха; 2 – патрубок теплообменника левый; 3 – рукав; 4 – патрубок подводящий; 5 – патрубок соединительный; 6 – коллектор впускной левый; 7 – коллектор выпускной передний левый; 8 – коллектор выпускной задний левый; 9 – труба соединительная; 10 – тройник; 11 – турбокомпрессор; 12 – компенсатор; 13 – патрубок впускной; 14 – патрубок объединительный; 15 – коллектор выпускной задний правый; 16 – труба подводящая; 17 – коллектор выпускной передний правый; 18 – коллектор впускной правый;
19 – патрубок отводящий; 20 – патрубок теплообменника правый

Рисунок 1.4.4-2 – Схема газотурбинного наддува с двумя турбокомпрессорами:

1 – теплообменник охлаждения наддувочного воздуха; 2 – радиатор системы охлаждения; 3 – вентилятор; 4 – двигатель; 5, 6 – турбокомпрессоры

Система газотурбинного наддува и охлаждения наддувочного воздуха двигателя (рисунки 1.4.4-1 и 1.4.4-2) состоит из одного или двух взаимозаменяемых турбокомпрессоров (ТКР), выпускных и впускных коллекторов и патрубков, теплообменника охлаждения наддувочного воздуха (ТОНВ) 1 типа «воздух-воздух», подводящих и отводящих трубопроводов.

Выпускные коллекторы и патрубки системы изготовлены из высокопрочного чугуна. Уплотнение газовых стыков между установочными фланцами турбины ТКР, выпускных патрубков и коллекторов осуществляется прокладками из жаростойкой стали. Прокладки являются деталями одноразового использования и при переборках системы подлежат замене. Газовый стык между выпускным коллектором и головкой цилиндра уплотняется прокладкой из асбостального листа, окантованного лентой из жаростойкой стали.

Выпускные коллекторы крепятся к головкам цилиндров болтами. Для компенсации угловых перемещений, возникающих при нагреве, под головки болтов крепления выпускного коллектора устанавливаются специальные сферические шайбы.

Система турбонаддува и охлаждения наддувочного воздуха двигателя должна быть герметична. Из-за утечки отработавших газов или воздуха снижается производительность ТКР, что приводит к снижению мощности двигателя. Кроме этого, при негерметичности впускного тракта чистого воздуха в ТКР и цилиндры двигателя попадает пыль, что приводит к «пылевому» износу лопаток колеса компрессора и деталей цилиндропоршневой группы, а в итоге, к преждевременному выходу двигателя из строя.

Смазка подшипников ТКР осуществляется из системы смазки двигателя через фторопластовые трубки с металлической оплеткой. Слив масла из турбокомпрессоров осуществляется по стальным трубкам сильфонной конструкции в картер двигателя.

На двигателях устанавливаются два турбокомпрессора модели S2B/7624TAE/0,76D9 фирмы «BorgWarner» или модели ТКР 7С-6 (КАМАЗ), а также может устанавливаться один турбокомпрессор модели S300G 13809700007 фирмы «BorgWarner».

 

 

 

Рисунок 1.4.4-3 – Турбокомпрессор ТКР 7С-6:

1 – корпус компрессора; 2 – крышка; 3 – корпус подшипников; 4 – под-шипник упорный; 5 – подшипник; 6 – кольцо стопорное; 7 – корпус турбины; 8 – кольцо уплотнительное; 9 – колесо турбины; 10 – вал ротора; 11 – экран турбины; 12, 17 – планки; 13, 18 – болты; 14 – маслосбрасы-вающий экран; 15 – втулка; 16 – маслоотражатель; 19 – гайка; 20 – колесо компрессора; 22 – диффузор; 24 – переходник; 25 – прокладка, 21, 23 – кольцо уплотнительное (резиновое)

 

 

ТУРБОКОМПРЕССОР ТКР 7С-6 (рисунок 1.4.4-3) состоит из центростремительной турбины и центробежного компрессора, соединенных между собой подшипниковым узлом. Турбина с двухзаходным корпусом преобразовывает энергию выхлопных газов в кинетическую энергию вращения ротора турбокомпрессора, которая затем в компрессорной ступени превращается в работу сжатия воздуха.

Ротор и колесо компрессора динамически балансируются с высокой точностью на специальных балансировочных станках.

Втулка, маслоотражатель, колесо компрессора устанавливаются на вал ротора и затягиваются гайкой крутящим моментом 7,8…9,8 Н×м (0,8…1,0 кгс×м). После сборки ротор с колесом компрессора дополнительно не балансируется, лишь проверяется радиальное биение цапф вала.

Для устранения утечек воздуха в соединении «корпус компрессора – корпус подшипников» устанавливается резиновое уплотнительное кольцо 21.

Корпусы турбины и компрессора крепятся к корпусу подшипников с помощью болтов 13, 18 и планок 12, 17. Такая конструкция позволяет устанавливать корпусы под любым углом друг к другу, что в свою очередь облегчает установку ТКР на двигателе.

 
ТУРБОКОМПРЕССОРЫ S2B/7624TAE/0,76D9 правый и левый (обозначение левого турбокомпрессора 1274 970 0003, правого – 1274 970 0004) не имеют конструктивных отличий, отличаются только разворотом корпусов турбины и компрессора.

Турбокомпрессоры фирмы «BorgWarner» и КАМАЗ имеют аналогичную конструкцию. Турбокомпрессор S300G 13809700007 дополнительно оборудован перепускным клапаном регулировки давления наддува.







Date: 2015-05-05; view: 1260; Нарушение авторских прав



mydocx.ru - 2015-2026 year. (2.811 sec.) Все материалы представленные на сайте исключительно с целью ознакомления читателями и не преследуют коммерческих целей или нарушение авторских прав - Пожаловаться на публикацию