Главная Случайная страница


Полезное:

Как сделать разговор полезным и приятным Как сделать объемную звезду своими руками Как сделать то, что делать не хочется? Как сделать погремушку Как сделать так чтобы женщины сами знакомились с вами Как сделать идею коммерческой Как сделать хорошую растяжку ног? Как сделать наш разум здоровым? Как сделать, чтобы люди обманывали меньше Вопрос 4. Как сделать так, чтобы вас уважали и ценили? Как сделать лучше себе и другим людям Как сделать свидание интересным?


Категории:

АрхитектураАстрономияБиологияГеографияГеологияИнформатикаИскусствоИсторияКулинарияКультураМаркетингМатематикаМедицинаМенеджментОхрана трудаПравоПроизводствоПсихологияРелигияСоциологияСпортТехникаФизикаФилософияХимияЭкологияЭкономикаЭлектроника






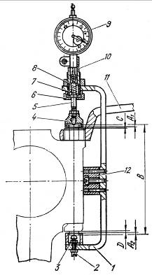
Затяжка шатунных болтов





Степень затяжки шатунных болтов рекомендуется контролировать величиной их удлинения, которая должна быть в пределах 0,32—0,34 мм от первоначальной длины болта. Для контроля величины удлинения нужно использовать специальное приспособление, показанное на рис. 44.

Перед затяжкой болтов отрегулирвать приспособление путем установки размеров A1, А2 и В.

Размер A1 установить в пределах 4,3-0,1 мм перемещением наконечника 4 вдоль стержня 5, после чего зафиксировать наконечник в нужном положении гайкой.

Размер Аз отрегулировать в пределах 1,8-0,1 мм ходом упора 2 относительно колпака 3. Упор зафиксировать гайками.

Перемещая стакан 10

_________

Рис. 44. Приспособление для замера удлинения шатунных болтов при затяжке:

7 — скоба; 2 — упор; 3 — колпак; 4 — наконечник; 5 — стержень; 6 — крышка; 7 — пружина; 8 — шайба; 9 — индикатор с ценой деления 0,01 мм; 10— стакан; 11 — накидной ключ 24 мм;

12 — призма

относительно скобы 1¸ установить размер 140 мм (размер В) между торцами упора 2 и стержня 5 и закрепить стакан гайкой.

Вставить стержень индикатора 9 в отверстие стакана 10 до упора в торец стержня 5 так, чтобы стрелка индикатора повернулась на один-два оборота, и закрепить индикатор в этом положении стяжным винтом. Убедиться, что при нажатии пальцем на наконечник 4 до упора в крышку 6 стакана 10 стрелка индикатора все время движется. Такое положение индикатора необходимо для того, чтобы при любом размере «В» в процессе контроля затяжки шатунного болта стержень индикатора не доходил до своего упора и стрелка все время перемещалась. В таком состоянии приспособление можно использовать для контроля степени затяжки шатунных болтов.

Перед затяжкой смазать моторным маслом резьбу болта и навернуть от руки гайку до упора в крышку шатуна.

Надеть накидной ключ 11 на гайку шатунного болта, наконечник 4 приспособления установить на резьбовую часть болта. Затем при упоре торца стержня 5 в торец шатунного болта надеть колпак 3 на цилиндрическую часть головки болта, потянув вниз скобу 1. При этом обратить внимание на то, чтобы между гайкой шатунного болта и наконечником 4, а также между колпаком 3 и головкой шатунного болта были гарантированные зазоры «С» и «D» не менее 0,2 мм, так как при отсутствии указанных зазоров стрелка индикатора или не будет совсем отклоняться (стержень 5 не касается торца болта) или будет показывать неправильно (упор 2 не касается торца цилиндрической части головки болта).

Убедившись, что необходимые зазоры есть, установить стрелку индикатора на нуль и затянуть накидным ключом гайку шатунного болта до показания индикатора 0,32—0,34 мм.

При отсутствии специального приспособления для затяжки шатунных болтов по удлинению допускается

 

 

проводить затяжку следующим способом:







Date: 2015-05-05; view: 1278; Нарушение авторских прав



mydocx.ru - 2015-2026 year. (0.578 sec.) Все материалы представленные на сайте исключительно с целью ознакомления читателями и не преследуют коммерческих целей или нарушение авторских прав - Пожаловаться на публикацию