Главная Случайная страница


Полезное:

Как сделать разговор полезным и приятным Как сделать объемную звезду своими руками Как сделать то, что делать не хочется? Как сделать погремушку Как сделать так чтобы женщины сами знакомились с вами Как сделать идею коммерческой Как сделать хорошую растяжку ног? Как сделать наш разум здоровым? Как сделать, чтобы люди обманывали меньше Вопрос 4. Как сделать так, чтобы вас уважали и ценили? Как сделать лучше себе и другим людям Как сделать свидание интересным?


Категории:

АрхитектураАстрономияБиологияГеографияГеологияИнформатикаИскусствоИсторияКулинарияКультураМаркетингМатематикаМедицинаМенеджментОхрана трудаПравоПроизводствоПсихологияРелигияСоциологияСпортТехникаФизикаФилософияХимияЭкологияЭкономикаЭлектроника






Обмотка фазного ротора





 

Тип обмотки и общие положения. Обычно в роторах применяют двухслойную волновую обмотку из медных изолированных стержней прямоугольного поперечного сечения. В пазу располагают по два стержня (один над другим, большей стороной по высоте паза). Следовательно, количество проводников в пазу N п2 = 2. Если по расчету сечение эффективного стержня получается больше 100 мм2, то его разделяют на два элементарных; тогда по ширине паза располагают два

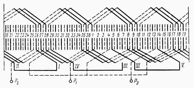
стержня, изолированных вместе. Основные свойства двухслойных волновых обмоток ротора и методы выполнения их подробно освещены в [8; 22]. На рис. 9-14 приведена для примера развернутая схема двухслойной волновой обмотки фазного ротора. Количество пазов ротора z2 должно выбираться с учетом рекомендаций, приведенных в § 9-3, и, в частности, табл. 9-12. Количество пазов на полюс и фазу ротора q2 определяется по (9-8). Обмотка имеет одну параллельную ветвь а 2 = 1. Количество последовательно соединенных витков обмотки одной фазы

 . (9-101)

Шаги обмотки для целого и дробного q 2 находят следующим образом. При целом q 2 шаги секций с передней (со стороны выводов) и с задней стороны у п2 и у’ п2 принимаются равными 3 q 2, а шаг в конце обхода ротора укороченный: у’’ п2 = 3 q 2 – 1. При дробном q 2 шаг обмотки с передней стороны у п2 = 3 q 2 – 1/2, с задней у’ п2 = 3 q 2 + 1/2, а шаг в конце обхода у’’ п2 = 3 q 2 – 1/2. Обмотка с дробным q 2 считается обмоткой с укороченным шагом; при этом 2 ≈ 0,96. Коэффициенты распределения k р2, укорочения k у2 и обмоточный коэффициент k об2 определяются так же, как для обмотки статора по (9-9), (9-12), (9-13) с заменой q 1 на q 2, z 1 на z 2, 1 на 2.

 

Рис. 9-14. Схема двухслойной волновой обмотки фазного ротор (одной фазы)

Z2=36; 2p=4; q2=3;

 

 

Таблица 9-19

2 р Вз2max (Тл) для двигателей со степенью защиты
IP44 IP23
  1,8 – 2,2 1,9 – 2,35
6 – 12 1,7 – 2,1 1,7 – 2,1
Примечание. См. примечание к табл. 9-16

Таблица 9-20

2 р hп2, мм 2 р hп2, мм
  33,5 + 0,024 D н1   29 + 0,024 D н1
6 –12 31,4 + 0,024 D н1 10 и 12 25,8 + 0,024 D н1

 

Коэффициент трансформации ЭДС и тока

(9-102)

Электродвижущая сила обмотки (В)

(9-103)

При соединении обмотки ротора в звезду напряжение на кольцах (В)

(9-104)

Для уменьшения тока, проходящего через кольца, и соответственно потерь в щеточном контакте рекомендуется выбирать отношение напряжения к току кольца = 0,6÷2,5 (большие значения для больших двигателей), но Uк должно быть не больше 1200 В.

На контактных кольцах асинхронного двигателя с фазным ротором устанавливаются металлографитные щетки марки МГ4.

Обмотка фазного ротора с прямоугольными полузакрытыми пазами. Прямоугольные полузакрытые пазы фазного ротора имеют форму, показанную на рис. 9-15.

 

 

Рис.9-15. пазы фазного ротора прямоугольные полузакрытые

 

Они применяются в электродвигателях с h≥ 225 мм. Для нахождения ширины зубца в наиболее узком месте b з2min следует принять значение индукции в этой части зубца В’ з2max по табл. 9-19 и определить предварительное значение b’ з2min по (9-83). Предварительное значение высоты паза ротора h’ п2 берут по табл. 9-20.

Этим определяется предварительное значение высоты спинки ротора h’ с2 и магнитная индукция в спинке ротора В’ с2, которая не должна превышать 1,6 Тл. Затем находят предварительную ширину паза и допустимые высоту и ширину стержня обмотки ротора. Определяют ближайшие стандартные размеры стержня и его сечение. Потом устанавливают окончательные размеры зубцовой зоны, высоту спинки ротора, индукции и размеры катушки обмотки.

Ниже приведены (для классов нагревостойкости B, F и Н) значения общей толщины изоляции в пазу ротора по высоте и ширине h и2 и 2 b и2, включающие толщину изоляции стержня, размеры прокладок и припусков на укладку:

 


Высота оси вращения h, мм 225 – 250 280 – 335 400 – 450
Высота h и2, мм 4,3 4,5 7,1
Ширина 2 b и2, мм 1,4 1,6 3,0

 

Значение h и2 не учитывает высоту клина h к2. Размеры следует принимать такими: для клина h к2 = 2 мм (при h≤ 250 мм), h к2 = 2,5 мм (при h= 280÷355 мм), h к2 = 3,5 мм (при h >355 мм); для шлица h ш2 = 1,0 мм, b ш2 = 1,5 мм. Конструкция изоляции обмоток фазного ротора представлена в приложении 22. Размеры прямоугольных полузакрытых пазов ротора и расположенных в них проводов рассчитывают в такой последовательности:

 

 

Предварительные значения
Высота паза (мм) h’ п2 – по табл. 9-20  
Высота спинки ротора (мм) h’ с2 – по (9-67)  
Магнитная индукция в спинке ротора (Тл) В’ с2 – по (9-68)  
Зубцовое деление по наружному диаметру ротора (мм) t 2 – по (9-69)  
Магнитная индукция в наиболее узком месте зубца, ротора (Тл) B’ з2max – по табл. 9-19  
Ширина зубца в наиболее узком месте (мм) b’ з2min – по (9-83)  
Ширина паза, (мм) b’ п2 – по (9-84)  
Размеры стержня по высоте, (мм) (9-105)
То же, по ширине (мм) (9-106)
Ближайшие стандартные размеры стержня (мм) и его сечение (мм2) h ст, b ст, S ст, – по приложению 2  
Количество элементарных стержней в одном эффективном Обычно с 2 = 1; при S ст ≥100 мм2 можно принять с 2 = 2, 3 и 4
Уточненные значения
Высота паза (мм) (9-107)
Ширина паза, (мм) (9-108)
Высота спинки ротора (мм) h с2 – по (9-67)  
Магнитная индукция в спинке ротора (Тл) В с2 – по (9-68)  
Ширина зубца в наиболее узком месте (мм) b з2min – по (9-90)  
Магнитная индукция в наиболее узком месте зубца, (Тл) B’ з2max – по (9-91)  
Среднее зубцовое деление ротора (мм) (9-109)
Средняя ширина катушки обмотки (мм) (9-110)
Средняя длина лобовой части катушки обмотки (мм) при U к ≤750 В     (9-111)
при U к>750 В (9-112)
Средняя длина витка обмотки (мм) (9-113)
Вылет лобовой части обмотки (мм): при U к ≤750 В   (9-114)
при U к>750 В (9-115)
Здесь у п. ср2 – средний шаг секции по пазам, равной полусумме шагов с передней и с задней стороны; h c и b c = 0,3 для h≤ 350 мм, а h c и b c = 0,35 мм для h≥ 400 мм

 

Пример расчета машины







Date: 2015-05-05; view: 2157; Нарушение авторских прав



mydocx.ru - 2015-2026 year. (1.403 sec.) Все материалы представленные на сайте исключительно с целью ознакомления читателями и не преследуют коммерческих целей или нарушение авторских прав - Пожаловаться на публикацию