Главная Случайная страница


Полезное:

Как сделать разговор полезным и приятным Как сделать объемную звезду своими руками Как сделать то, что делать не хочется? Как сделать погремушку Как сделать так чтобы женщины сами знакомились с вами Как сделать идею коммерческой Как сделать хорошую растяжку ног? Как сделать наш разум здоровым? Как сделать, чтобы люди обманывали меньше Вопрос 4. Как сделать так, чтобы вас уважали и ценили? Как сделать лучше себе и другим людям Как сделать свидание интересным?


Категории:

АрхитектураАстрономияБиологияГеографияГеологияИнформатикаИскусствоИсторияКулинарияКультураМаркетингМатематикаМедицинаМенеджментОхрана трудаПравоПроизводствоПсихологияРелигияСоциологияСпортТехникаФизикаФилософияХимияЭкологияЭкономикаЭлектроника






Конструктивные разновидности турбобуров





- односекционные бесшпиндельные типа Т12;

- односекционные бесшпиндельные унифицированные типа ТУ-К;

- секционные бесшпиндельные типа ТС;

- секционные шпиндельные унифицированные типа ТСШ1; 2Т-К;

ЗТ-К;

- секционные шпиндельные для бурения алмазными долотами типа ТСША;

- секционные шпиндельные с наклонной линией давления, со ступенями гидродинамического торможения типа АГТШ;

- с плавающими статорами типа ТПС;

- редукторные типа ТР;

- турбинные отклонители типа ТО;

- турбобуры-отклонители с независимой подвеской валов турбинной секции типа ТО2;

- шпиндель-отклонитель типа ШО1;

- для отбора образцов пород (керна) — колонковые трубодолота типа КТД;

- керноприемное устройство типа УКТ.

Рис. 7. Односекционный турбобур

1 и 24 – переводники; 2 – втулка корпуса; 3 – корпус; 4 – контргайка; 5 – колпак; 6 – роторная гайка; 7 и 10 – диски пяты; 8 – подпятник; 9 – кольцо пяты; 11 и 18 – регулировочные кольца; 12 и 17 – уплотнительные кольца; 13 – статор; 14 – ротор; 15 – втулка средней опоры; 16 – средняя опора; 19 – упор; 20 – шпонка; 21 – втулка нижней опоры; 22 – ниппель; 23 – вал.

 

 

 

Рис. 8. Конструктивная схема турбинно-винтового низкообо-ротного двигателя ТНВ.

 

Рис. 9. Редукторный турбобур ТРМ-195.

А – турбина; В – опорный узел; С – редуктор-вставка;

Д - опорный узел; Е – долото.

 

.

 

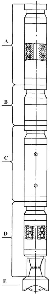
Рис. 10. Устройство керноотбор-ное турбинное 2УКТ-172/40.

1-турбинная секция; 2 - шпиндель; 3-бурголовка; 4 – керно-приёмник; 5 - ступень турбины; 6 – осевая опора.

 

Отличительной особенностью этого турбобура является то, что его вал имеет сквозное центральное отверстие

Кроме перечисленных конструктивныхразновидностей турбобуров выпускаются роторно-турбинные буры ( IРТБ) и реактивно-турбинные буры ( IIРТБ), предназначенные для бурения скважин большого диаметра и шахтных стволов.







Date: 2015-05-05; view: 784; Нарушение авторских прав



mydocx.ru - 2015-2026 year. (0.747 sec.) Все материалы представленные на сайте исключительно с целью ознакомления читателями и не преследуют коммерческих целей или нарушение авторских прав - Пожаловаться на публикацию