Главная Случайная страница


Полезное:

Как сделать разговор полезным и приятным Как сделать объемную звезду своими руками Как сделать то, что делать не хочется? Как сделать погремушку Как сделать так чтобы женщины сами знакомились с вами Как сделать идею коммерческой Как сделать хорошую растяжку ног? Как сделать наш разум здоровым? Как сделать, чтобы люди обманывали меньше Вопрос 4. Как сделать так, чтобы вас уважали и ценили? Как сделать лучше себе и другим людям Как сделать свидание интересным?


Категории:

АрхитектураАстрономияБиологияГеографияГеологияИнформатикаИскусствоИсторияКулинарияКультураМаркетингМатематикаМедицинаМенеджментОхрана трудаПравоПроизводствоПсихологияРелигияСоциологияСпортТехникаФизикаФилософияХимияЭкологияЭкономикаЭлектроника






Открытые сооружения





В открытых физкультурно-спортивных сооружениях в первую очередь надо устранить внешние строительные барьеры: поверхность покрытия дорожек для сообщения между открытыми сооружениями должна быть нескользя­щей и с фактурой, не слишком грубой для инвалидных колясок (рис. 13. 18).

Освещение должно располагаться на высоте инвалида в коляске и быть ровным и достаточно ярким (в расчете на людей с частичной потерей зре­ния). Указатели должны быть четкими и хорошо освещенными. Необходимо тщательно спроектировать бортовые камни, перекрестки и пандусы, обес­печить удобный доступ с автостоянок.




 


452 физкультурно-спортивные сооружения

Открытые сооружения для занятий легкой атлетикой не требуют слож­ных мероприятий. Но следует иметь в виду, что сооружения могут использо­ваться для регулярных учебно-тренировочных занятий инвалидов; для со­ревнований, когда на стадионе может оказаться много инвалидов в коляс­ках; для соревнований в присутствии зрителей-инвалидов.

В первом случае для регулярных занятий необходим горизонтальный доступ к беговой дорожке минимум в двух точках в сочетании с плоским (без ступеней) доступом к раздевальным.

Во втором случае, когда на стадионе много инвалидов, перед трибунами вокруг беговой дорожки следует организовать плоское место для спортсме­нов-инвалидов в колясках, чтобы они могли наблюдать за теми видами со­ревнований, в которых не участвуют. В барьере вокруг дорожки нужны раз­рывы во избежание затора, создаваемого инвалидными колясками.

В третьем случае, когда на трибунах и террасах среди зрителей есть инва­лиды, нужны широкие площадки, где могут поместиться инвалидные кресла.

Специальные планировочные мероприятия при занятиях бегом в основ­ном относятся к организации мест занятий инвалидов по зрению.

Для слепых и слабовидящих, ориентирующихся по звуку, очень важна защита сооружений от внешнего шума, эха. Для этого предлагаются акусти­ческие стены, обваловка площадок, использование зеленых насаждений (рис. 13.19).




 


ФИЗКУЛЬТУРНО-СПОРТИВНЫЕ СООРУЖЕНИЯ, ИСПОЛЬЗУЕМЫЕ ДЛЯ ЗАНЯТИЙ ИНВАЛИДОВ_________________________ 453

Для ориентации по периметру устраивается полоса в форме двускатной крыши шириной 2 м и высотой в коньке 12-25 см. Далее без перепадов -переход от полосы ориентации к покрытию беговой дорожки. Полоса ориен­тации должна отличаться по материалу от покрытия дорожки для бега или покрытия площадки (газона) для игр: газон - грунт, газон - искусственный материал.

Минимальная длина дорожки для занятий бегом по кругу - 250 м, шири­на (на 2 дорожки - с учетом разделительных полос) - 2,49 м.

Для ориентации инвалидов следует предусмотреть:

- различный материал дорожки и полосы ориентации;

- полосы ориентации шириной 1,2 - 1,5 м;

- зоны безопасности по внешнему контуру зон ориентации шириной 1 м;

- обозначение поворота сменой покрытия на расстоянии 2,4 м до начала
поворота;

- виражи на повороте (максимальный уклон 6 %).

Дорожка для бега по прямой (длина 100 м, зона старта 5 м, зона финиша 25 м) изолируется от дорожки для бега по кругу. Покрытие зон и финиша должно отличаться от покрытия дорожки.

Стартовая линия должна быть осязаема. Ширина двух дорожек - 2,24 м и 0,15 м — на границы и среднюю линию (разных цветов), ширина полос ори­ентации - 1,2 - 1,5 м, зон безопасности -1 м.

Обратный путь к старту должен быть отделен от дорожки для бега. Мини­мальное расстояние между ними - 2,5 м, ширина пути 0,8 - 1,2 м. Основной ориентир - звуковой маяк (рис. 13.20).

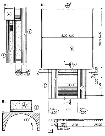
Размеры места для прыжков в длину для инвалидов по зрению 5-8 м х 9-10 м. Дорожка для разбега длиной 25 м, шириной 1,5 - 3 м, полосы ориента­ции 1,2 - 2 м с каждой стороны.




 


454 физкультурно-спортивные сооружения

Для ориентации за 4 м от края ямы устраивается фактурная полоса: 2,7 м - зона оповещения, 0,8 м - толчковая зона, 0,5 м - мягкое покрытие. Акусти­ческий ориентир - звуковой маяк за ямой. Обратный путь устраивается от­дельно от дорожки для разбега (ширина пути 1 - 1,3 м), на расстоянии 2,5 м (рис. 13.21).

При прыжках в длину для инвалидов с ПОДА вместо доски для отталки­вания организуется зона длиной 80 см с расстоянием от передней кромки не более 1 см.

Для выполнения прыжков в высоту рекомендуется фактурной поверхно­стью выделить зону разбега. Рейка или матерчатые щиты, цветные, контра­стные, для ориентации можно повесить на рейку платок. Толщина подушки приземления 0,5 - 0,6 м.


На игровых площадках для инвалидов требуются полосы ориентации и безопасности (рис.13.22).По опыту Германии, зафиксированному в нор­мах, рекомендуются такие размеры полей и площадок: 68 х 105 м, 27 х 45 м, 27 х 15 м, 7 х 14 м, 5 х 25 м.

Специальные планировочные приспособления необходимы для доступа инвалидов с ПОДА к лужайке для игр в кегли. Канавку вокруг лужайки мож­но перекрыть небольшим съемным пандусом (рис 13.23).

Открытые бассейны. Все рекомендации по крытым бассейнам примени­мы и к открытым. Если из открытых бассейнов выходят через односторон­ние турникеты, то должен существовать обходной путь для инвалидов. Все внешние площадки должны иметь помещение из нескользкого материала с минимальным количеством стыков.

На путях сообщения между открытым бассейном и общественными зо­нами (солярием, террасой кафе) не должно быть перепада уровней.




 


ФИЗКУЛЬТУРНО-СПОРТИВНЫЕ СООРУЖЕНИЯ, ИСПОЛЬЗУЕМЫЕ ДЛЯ ЗАНЯТИЙ ИНВАЛИДОВ_________________________ 455





 


Досуговые бассейны дают более широкие возможности для использова­ния их инвалидами: в них больше места вокруг ванны, вход легкий - по отлогому берегу, и обеспечивается непосредственное сообщение между ван­ной и зонами отдыха. Однако при устройстве волновой машины следует пре­дусматривать борта с торцов ванны.

Инвалиды могут спускаться в воду по съемному пандусу. Максимальный уклон пандуса 1: 20.

Выполнение всего комплекса специальных архитектурных, конструктив­ных и технических мероприятий, рассмотренных в данном разделе, помо­жет создать условия, в которых инвалиды смогут заниматься физкультурой и спортом вместе и наравне со здоровыми людьми.







Date: 2015-06-07; view: 716; Нарушение авторских прав



mydocx.ru - 2015-2026 year. (0.873 sec.) Все материалы представленные на сайте исключительно с целью ознакомления читателями и не преследуют коммерческих целей или нарушение авторских прав - Пожаловаться на публикацию