Главная Случайная страница


Полезное:

Как сделать разговор полезным и приятным Как сделать объемную звезду своими руками Как сделать то, что делать не хочется? Как сделать погремушку Как сделать так чтобы женщины сами знакомились с вами Как сделать идею коммерческой Как сделать хорошую растяжку ног? Как сделать наш разум здоровым? Как сделать, чтобы люди обманывали меньше Вопрос 4. Как сделать так, чтобы вас уважали и ценили? Как сделать лучше себе и другим людям Как сделать свидание интересным?


Категории:

АрхитектураАстрономияБиологияГеографияГеологияИнформатикаИскусствоИсторияКулинарияКультураМаркетингМатематикаМедицинаМенеджментОхрана трудаПравоПроизводствоПсихологияРелигияСоциологияСпортТехникаФизикаФилософияХимияЭкологияЭкономикаЭлектроника






Устройство типового двигателя постоянного тока





В двигателе постоянного тока много рамок, подобных той, что изображена на рис. 2.4. Каждая рамка представляет собой обмотку, состоящую из нескольких витков (рис. 2.5).

 
 
 
 
 

Рис. 2.5. Рамка с током в двигателе постоянного тока:

а, б – контактные пластины коллектора;

1 – коллектор; 2 – щетка; 3 – пружина; 4 – нерабочая часть обмотки

Обмотка рамки имеет активную рабочую часть на длине l – эточасть обмотки, которую пронизывает магнитный поток, и лобовые, не рабочие части 4. Концы обмотки присоединены к контактным пластинам a и б коллектора. Число пластин коллектора соответствует числу рамок на роторе (якоре) двигателя. К коллектору пружинами 3 прижимаются щетки 2. К щеткам подводится ток от источника постоянного тока. Набор щеток образует щеточный аппарат.

Момент, развиваемый двигателем, равен

(2.3)

где z 1 – число витков в одной рамке;

z 2 – число рамок;

z – число витков обмотки двигателя.

Фотография и схемы, поясняющие конструкцию ротора, приведены на рис. 2.6.

а

 
 
 
 
 
 
 
 
 
 
 
 
 
 
 
 

б в

Рис. 2.6. Ротор двигателя постоянного тока:

а – фотография; б – поперечное сечение; в – продольное сечение;

1 – коллектор; 2 – щеточный аппарат; 3 – задний щит; 4 – провода;
5 – пазы; 6 – ротор; 7 – магнитный поток; 8 – проводник; 9 – башмак;
10 – электромагнит; 11 – корпус; 12 – вал; 13 – подшипник;
14 – передний щит

Провода 4 обмоток уложены в пазы 5 ротора 6. Ротор выполнен из стали с хорошей магнитной проводимостью и фактически представляет собой магнитопровод. Магнитный поток 7 пронизывает проводники 8, проходит через ротор 6, стальные накладки (башмаки) 9, магниты или электромагниты 10 и замыкается по стальному корпусу 11. С целью уменьшения потерь потока (увеличения индукции В) участки с низкой магнитной проводимостью, например, воздушные зазоры, сводятся к минимуму.В продольном сечении (рис. 2.6, б) ротор 6 имеет вид цилиндра с пазами. Ротор и коллектор 1 посажены на вал 12. Вал опирается на подшипники 13, которые закреплены в гнездах переднего щита 14 и заднего щита 3. Щеточный аппарат 2 закреплен на заднем щите (иногда на переднем щите) с возможностью регулировки углового положения щеток относительно полюсов магнитов. Регулировка нужна для выведения щеток на электрическую нейтраль и предотвращения искрения в контакте щеток с коллектором. Корпус двигателя, круглой или квадратной формы, одновременно служит магнитопроводом.

2.2.2 Высокомоментные двигатели

Согласно формулам (2.2) и (2.3) момент, развиваемый двигателем, можно увеличить, увеличивая значения B, I, l, r, z.

Магнитная индукция В может быть увеличена при применении высокоэффективных, с большой энергией, постоянных магнитов из магнитотвердых ферритов, например, феррита стронция, кобальтосодержащих сплавов типа ЮНДК, редкоземельных сплавов типа Sm-Co, сплавов типа Nd-Fe-B, а также при применении “сильных” электромагнитов.

Количество магнитов в корпусе электродвигателя должно быть максимально большим (минимум свободного места), потери магнитного потока должны быть сведены к минимуму.

Ток I может быть увеличен при эффективном охлаждении двигателя, например с помощью водяной рубашки. Длина l рабочей части проводников может быть большой в “длинных” двигателях.

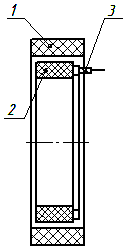
Увеличение радиуса r ротора достигается в двигателях большого диаметра, которые, как правило, имеют структуру кольца (рис. 2.7), не имеют собственного корпуса и подшипниковых опор и встраиваются в механизм.

В современной технике, особенно мобильной и ручной, любые электродвигатели, не только высокомоментные электродвигатели постоянного тока, часто встраиваются в механизм или механизм встраивается в двигатель. В этом случае конструкция получается компактной и легкой.

а б в

Рис. 2.7. Двигатель со структурой кольца:

а – ротор; б – статор; в – схема двигателя;

1 – статор; 2 – ротор; 3 – щеточный аппарат

Число проводников z увеличивают, делая пазы в роторе максимально большими по сечению. Ограничения диктуются прочностью ротора и потерями магнитного потока.







Date: 2015-09-24; view: 778; Нарушение авторских прав



mydocx.ru - 2015-2026 year. (0.689 sec.) Все материалы представленные на сайте исключительно с целью ознакомления читателями и не преследуют коммерческих целей или нарушение авторских прав - Пожаловаться на публикацию