Главная Случайная страница


Полезное:

Как сделать разговор полезным и приятным Как сделать объемную звезду своими руками Как сделать то, что делать не хочется? Как сделать погремушку Как сделать так чтобы женщины сами знакомились с вами Как сделать идею коммерческой Как сделать хорошую растяжку ног? Как сделать наш разум здоровым? Как сделать, чтобы люди обманывали меньше Вопрос 4. Как сделать так, чтобы вас уважали и ценили? Как сделать лучше себе и другим людям Как сделать свидание интересным?


Категории:

АрхитектураАстрономияБиологияГеографияГеологияИнформатикаИскусствоИсторияКулинарияКультураМаркетингМатематикаМедицинаМенеджментОхрана трудаПравоПроизводствоПсихологияРелигияСоциологияСпортТехникаФизикаФилософияХимияЭкологияЭкономикаЭлектроника






Дополнительные практические советы





Предлагаемая технология не подменяет обычное огородничество, а лишь выводит его на более высокий уровень. Поэтому, как и принято в растениеводстве, необходимо соблюдать севооборот, сортообновление, правила предпосевной обработки семян, ухода за посевами и посадками, а также другие агрономические приемы. Земля и продукты питания, которые мы получаем от нее и благодаря ей, становятся дороже во всем мире, поэтому тонкости технологии приобретают все большее значение.

Основной индикатор почвы — дождевые черви. Если их нет - ищите причину.

Одна из главных причин обеднения почвенного сообщества животных (в том числе и дождевых червей) - неразумное вмешательство человека в природу. Сюда относятся загрязнение почв промышленными выбросами, уплотнение сельскохозяйственными машинами, химизация. Серьезный урон зоофауне почвы наносит обработка ее с оборотом пласта: перепахивание и перекапывание.

Ч. Дарвин писал: “... Задолго до изобретения плуга почва правильно обрабатывалась дождевыми червями и всегда будет обрабатываться ими”. Делая многокилометровые ходы в почве, они рыхлят ее и обогащают своими выделениями - копролитами (до 100 тонн на гектар). А ведь это готовый гумус. Оставляя растительные остатки в межах, мы помогаем почвенным животным, а они помогают нам. Кроме того, дождевые черви могут разлагать ДДТ и другие органические ядохимикаты, а также захоранивают продукты промышленных и радиоактивных загрязнений. Узнайте, где рыболовы накапывают червей, и пополните ими свой огород для размножения.

Самая благоприятная среда для обитания дождевых червей, когда РН почвы равна 7-8, т. е. она нейтральная или слабощелочная, и достигается достаточная аэрация участка. Аэрацию мы обеспечиваем ручным плоскорезом. Если участок закислен, то почву произвесткуем, расходуя 30-60 кг доломитовой муки на сотку земли. Хорошие результаты дает гашеная известь и древесная зола. Раскисляет почву и навоз.

Основная причина отсутствия дождевых червей - недостаток органического вещества, служащего для них пищей. Земледельцы, имеющие возможность вносить большое количество навоза, знают, как обильно расселяются черви. И наоборот: если земля обедняется органическим веществом, имеющиеся черви в поисках пищи мигрируют в другое место.

Предложенная нетрадиционная технология огородничества учитывает, что кормом для червей может быть не только навоз, но и ботва, трава, солома, опавшие листья, ветки деревьев, опилки, отбросы кухни, содержимое выгребных ям, отходы забоя животных, кар гон, бумага и другие гниющие органические вещества. Их укладывают в межи. Очень влажные - навоз, - на дно. Сверху - сухие: торф, опилки. См. рис. 1.

Особый интерес представляет органика, выращиваемая здесь же, на грядках, вслед за уборкой культурных растений или до их посева.

Вот данные, полученные учеными. Дождевой червь пропускает за сутки через себя количество почвы, равное его весу. Средний вес червя — полграмма. На земле средней ценности - около 5000 червей на сотку. За сутки через кишечник червей пройдет 2, 5 кг почвы. За теплый период года (для средней полосы - 200 дней) - 500 кг. Если у вас 10 соток земли и с зоофауной “мирное сосуществование”, то есть не копаете и не пашете, - то за год черви удобрят участок пятью тоннами биогумуса. Целая тракторная тележка.

При более полном использовании требований технологии, то есть когда после редиса, лука-пера и других, рано убираемых культур, выращивают вторым урожаем зеленое удобрение, плотность заселения дождевых червей и, соответственно, биогумуса - возрастает.

Биогумус значительно эффективней хорошего навоза. Считается, что полученного от одной коровы навоза достаточно, чтобы удобрить полгектара земли. Биогумусом же, выработанным червями из этого навоза, с той же эффективностью можно удобрить 2, 5 гектара.

Как расположить грядки?

На выбор в первую очередь влияет, куда стекают дождевые и талые воды.

Если надо получить раннюю продукцию, то грядку лучше разместить с запада на восток. Ее боковая поверхность будет обращена на юг и лучше прогреется солнцем. Чтобы усилить эффект, надо сделать грядку “запад-восток” со склоном ее поверхности на юг. Это не составит большого труда, если рыхлить грядку плоскорезом, стоя на северной меже.

Если хотите иметь весь огород со склоном на юг, то каждый раз рыхлите грядки, передвигаясь по северным межам. Склон на юг со временем получится сам собой. Особенно это важно для северных районов, где за счет искусственного южного склона увеличится время деятельности обитателей почвы.


Для более равномерной и лучшей освещенности всех растений, что означает снижение в них нитратов, расположите грядки с севера на юг.

Семена всех огородных растений, в том числе и сидератных, неплохо замачивать перед посевом в настое сухих и сырых грибов. В них содержится большое количество микроэлементов. Недостаток даже одного из них снижает урожай.

Для подкормок, особенно огурцов и помидор, используйте настой ботвы и травы в бочке с водой. Неплохо для затравки брожения микроорганизмов добавить с полведра коровяка. Когда настой станет неприятно пахнуть, - используйте подкормку (1 литр на ведро воды), избегая попадания ее на листья.

Повышает энергию прорастания семян замачивание их в талой воде из снега и льда (даже из холодильника). Еще лучше результаты от “живой” воды, полученной с помощью электролизера.

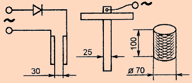
Простой электролизер можно сделать самому. Для этого потребуются: диод средней мощности, две пластины из нержавейки, полоска из оргстекла или текстолита толщиной 5-7 мм, отрезок провода с вилкой и кусок брезента
(см.рис. 4).


Рис.4

В полулитровую банку укладываем сшитый брезентовый мешочек, наливаем не кипяченую воду и вставляем электроды: один - в мешочек, другой - в воду банки. Убедившись в безопасности, включаем прибор в электрическую сеть на 3-5 мин. Доводить до кипения нельзя. Отключаем вилку от сети. Снимаем прибор. Вытаскиваем мешочек с водой и быстро сливаем в стакан. В банке - одна вода, в стакане - другая.

Вода с беловато-мутноватым оттенком, полученная от минусового электрода - “живая”. От плюсового электрода - "мертвая". Она очень прозрачная, иногда с желтизной. И та и другая обладают необыкновенными свойствами.

“Мертвая” действует дезинфицирующе. В ней обеззараживают семена, выдерживая 5-10 мин.

“Живая” вода стимулирует энергию прорастания семян. Их выдерживают в ней от нескольких минут до нескольких дней, в зависимости от культуры. Эффективно действует 2-3 часа. Если замачивают дольше (морковь, петрушка, лук-чернушка), то воду следует заменять на свежеприготовленную и остуженную до температуры чуть выше комнатной. Семена лучше замачивать в тряпочке, чтобы “дышали”.

Особенно большую прибавку урожая от замачивания семян в “живой” воде дают морковь, петрушка и лук-чернушка. Чуть смоченная рожь (на сидерат) в гот же день проклевывается - быстрее сейте. Подержанный минут десять в воде лук-репка быстро дает корешки. Не допускайте их более 10 мм. Сажайте лук в канавки, проделанные плоскорезом, лук быстро пойдет в рост, больше получит живительной, талой весенней влаги.

Некоторые огородники обрабатывают семена омагниченной водой и водой, постоявшей на солнечном свету 3-4 дня.

Семена отбирайте от самых урожайных и здоровых растений.

Картофель убирайте созревший, но в возможно ранние сроки, когда он меньше поражен болезнями. Ранняя уборка позволяет на том же участке вырастить до зимы больше зеленой массы сидератной культуры на корм дождевым червям.

Чтобы картофель гарантийно хорошо хранился, необходимо пересыпать его листьями рябины. Ее фитонциды убивают болезнетворные споры фитофторы, что оздоровляет клубни. Для этой же цели, если позволяет площадь, неплохо высадить на земельном участке 3-4 рябины.

Огород “весь в грядках” меньше поражается вредителями и болезнями. Чтобы дополнительно улучшить воздушный режим участка, через 2-3 грядки высокорослой культуры (картофель) разместите 2 грядки низкорослой. Затем снова 2-3 грядки высокорослой. В этом случае высокорослые растения служат кулисой для защиты теплолюбивых культур от холодных ветров и даже легких заморозков.

После освоения нетрадиционной технологии огородничества не рекомендуется перепахивать и перекапывать участок, так как это нарушит внутренний мир почвы, снизит ее биологическую активность и урожай. Исключение составляют только сильно заросшие сорняками грядки (например, клубника последнего года пользования). Затвердевшую почву (недостает органики') рыхлите длиннорогими вилами без оборота пласта.







Date: 2015-09-18; view: 498; Нарушение авторских прав



mydocx.ru - 2015-2026 year. (0.654 sec.) Все материалы представленные на сайте исключительно с целью ознакомления читателями и не преследуют коммерческих целей или нарушение авторских прав - Пожаловаться на публикацию