Главная Случайная страница


Полезное:

Как сделать разговор полезным и приятным Как сделать объемную звезду своими руками Как сделать то, что делать не хочется? Как сделать погремушку Как сделать так чтобы женщины сами знакомились с вами Как сделать идею коммерческой Как сделать хорошую растяжку ног? Как сделать наш разум здоровым? Как сделать, чтобы люди обманывали меньше Вопрос 4. Как сделать так, чтобы вас уважали и ценили? Как сделать лучше себе и другим людям Как сделать свидание интересным?


Категории:

АрхитектураАстрономияБиологияГеографияГеологияИнформатикаИскусствоИсторияКулинарияКультураМаркетингМатематикаМедицинаМенеджментОхрана трудаПравоПроизводствоПсихологияРелигияСоциологияСпортТехникаФизикаФилософияХимияЭкологияЭкономикаЭлектроника






Нелинейные элементы и их характеристики





При действии в цепи постоянных ЭДС и напряжений значение постоянного тока в ней определяется сопротивлениями и проводимостями G элементов цепи, т.е. эти параметры являются основными. Что касается ёмкости и индуктивности, то они в случае нелинейных цепей постоянного тока играют роль лишь при решении вопроса об устойчивости режима в такой цепи. Но и в цепи переменного тока для многих нелинейных элементов основное значение имеют их сопротивление и проводимость. В связи с этим рассмотрим такие нелинейные элементы и их характеристики, основными параметрами которых являются сопротивление и проводимость.

Для элемента, характеризуемого постоянным сопротивлением, ВАХ – прямая линия (рис. 9.1).

.

Характеристики нелинейных элементов принято подразделять на статические и динамические. Под статическими понимаются характеристики, полученные при очень медленном (бесконечно медленном) изменении тока или напряжения. Динамические характеристики дают связь между напряжением и током при быстрых их изменениях. Эти характеристики могут отличаться от статических, например, вследствие тепловой инерции.

Существуют понятия статического и динамического сопротивлений, а также статической и динамической проводимостей. Под статическим сопротивлением (R c) при данном токе называется отношение напряжения, соответствующее указанному току по статической характеристике, к величине этого тока (рис. 9.2). Величина, обратная статическому сопротивлению, называется статической проводимостью.

, υ, a – масштабы напряжения и тока.

.

Под динамическим сопротивлением (R д) в данной точке динамической характеристики называется производная напряжения по току в указанной точке динамической характеристики. Величина, обратная динамическому сопротивлению, называется динамической проводимостью (G д). Пусть динамическая характеристика совпадает со статической. Тогда динамическое сопротивление можно определить из приведённой статической характеристики следующим образом:

, где β – угол наклона касательной к динамической характеристике к оси абсцисс.

.

Все указанные параметры R ст, R д, меняются от точки к точке, т.е. зависят от тока. Для пассивных элементов, т.е. не содержащих источников энергии, всегда R c > 0, G c > 0, но R д, G д положительны только для точек, лежащих на восходящей части характеристики и отрицательны для точек падающей части (рис. 9.3).

 

9.2. Вольт-амперные характеристики некоторых нелинейных элементов

1. Полупроводниковый диод, его ампер-вольтная характеристика приведена на рис. 9.4.

2. В технике высокого напряжения находят применение тиритовые нелинейные элементы, выполненные из керамического материала – тирита. Характеристика тирита имеет вид (рис. 9.5)

Сопротивление тирита с увеличением напряжения падает, т.е. проводимость увеличивается. Такая зависимость проводимости от напряжения позволяет использовать тиритовые элементы для защиты установок высокого напряжения электрических станций, трансформаторов подстанций и т.д. от перенапряжений. Устанавливают так называемые тиритовые разрядники (Т) (рис. 9.6), включённые через искровой промежуток и параллельно с защищаемой установкой (N) между линией переменного тока высокого напряжения (ВН) и землёй.

При номинальном напряжении искровой промежуток не пробит и через разрядник ток не проходит. При превышении номинального напряжения искровой промежуток пробивается и через разрядник проходит большой ток, т.е. с повышением напряжения сопротивление его резко падает. В итоге линия (ВН) разряжается на тиритовый разрядник (Т) и напряжение на линии падает. При этом сопротивление разрядника возрастает, и ток через него падает. Резкое уменьшение тока приводит к прекращению разряда в искровом промежутке и, следовательно, к прекращению тока в цепи разрядника.

3. Большое практическое значение имеет электрическая дуга, являющаяся нелинейным элементом электрических цепей. На рис. 9.7 схематично изображена электрическая дуга, горящая в воздухе при атмосферном давлении между угольными электродами.

Активная часть катода (К), излучающая электроны ē, имеет температуру ~ 3000°С. Часть А анода, бомбардируемая электронами ē, имеет температуру ~ 4000°С. Между активными частями К и А располагается сама дуга Д, температура которой ~ 5000°С. В области дуги газ находится в ионизированном состоянии, основными носителями тока являются ē.

В настоящее время как источник света электрическая дуга используется в прожекторах и проекционных аппаратах. В металлургии мощные дуги применяются в дуговых печах. Большое распространение получила электросварка электрической дугой.


Электрическая дуга имеет нелинейную характеристику, которая показана на рис. 9.8.

Можно видеть, что с увеличением тока, напряжение дуги падаeт.

 

9.3. Расчёт простых цепей с пассивными нелинейными

элементами

Графический метод расчета.

а) Последовательное соединение нелинейных элементов.

Цепь, которую необходимо рассчитать, приведена на рис. 9.9. В этой цепи два нелинейных элемента соединены последовательно.

Характеристики нелинейных элементов , даны в виде графиков на рис. 9.10.

В данном случае по законам Кирхгофа можно записать , .

Поэтому, складывая ординаты характеристик и , находим характеристику . Располагая этой характеристикой, нетрудно найти ток i, u 1, u 2 для любого режима.

Например, для напряжения u=u* (рис. 9.10).

Этот метод может быть распространён на случай любого числа последовательно соединенных нелинейных и линейных элементов.

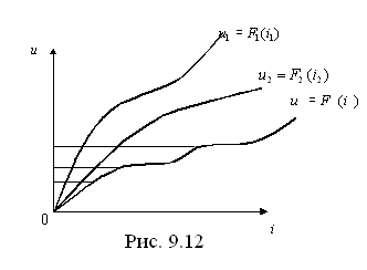
б) Случай параллельного соединения нелинейных элементов (рис. 9.11).

Характеристики нелинейных элементов u 1 =F 1(i 1), u 2 =F 2(i 2) приведены на рис. 9.12.

В этом случае в соответствии с законами Кирхгофа имеем i=i 1 +i 2,

Поэтому, складывая абсциссы кривых и , получаем характеристику .

в) Рассмотрим смешанное соединение (рис. 9.13).

Характеристики нелинейных элементов известны (рис. 9.14). Вольт-амперная характеристика линейного сопротивления записывается следующим образом: .

Согласно законам Кирхгофа, имеем уравнения , , .

Складываем сначала ординаты кривых . Получаем кривую .

Складывая затем абсциссы кривых и , получим зависимость . Располагая приведёнными кривыми, можно найти все напряжения и токи, если задано одно из этих напряжений или один из этих токов.

г). Расчёт простых нелинейных цепей, содержащих источники ЭДС (рис. 9.15).

Заданы характеристика ,величина и направление ЭДС “ e ”.

По второму закону Кирхгофа с учётом направления обхода имеем:

Пусть ebc >0. Тогда имеем случай, показанный на рис. 9.16. Случаю, когда ebc <0, соответствует рис. 9.17.

Т.о. учёт ЭДС можно произвести путём соответствующего смещения характеристики нелинейного элемента, включённого с источником ЭДС последовательно. Поэтому расчёт нелинейных цепей, содержащих источники ЭДС, производится теми же методами, что и расчёт пассивных нелинейных цепей.

Пример. Необходимо рассчитать цепь, показанную на рис. 9.18.

Известны ; величины и направления ЭДС e 1 > 0, e 2 > 0(рис. 9.19, 9.20).

Задаёмся направлением токов во всех ветвях. Строим выше указанным способом результирующую характеристику всех ветвей.

(рис. 9.19), (рис. 9.20).

Складываем абсциссы кривых , , находим (рис. 9.21).

 

 

9.4. Расчёт простых нелинейных цепей постоянного тока итерационным методом

Термин «итерация» происходит от латинского слова и означает «повторение».

Для расчёта цепей с нелинейными элементами очень часто применяют итерационный метод решения нелинейных алгебраических уравнений.

Для уяснения сущности метода рассмотрим эквивалентную схему, на которой источник ЭДС Е и сопротивление rв (рис. 9.22) представляют произвольную линейную часть первоначальной схемы, т.е. представляют некоторый эквивалентный источник.


Пусть внешняя характеристика эквивалентного источника совпадает с прямой 1 (рис. 9.23), а характеристика нелинейного элемента даётся кривой 2.

Если решение производить геометрическим путем, то точка “ а ” пересечения характеристик определяет режим цепи, т.е. напряжение и ток в этом режиме.

Если данную задачу решать численным способом, например итерационным методом, необходимо поступить следующим образом:

1. Совершаем, так называемое, нулевое приближение. Для этого задаём напряжение U 0 равное, например, Е и по кривой 2 находим ток I 0.







Date: 2015-09-17; view: 2973; Нарушение авторских прав



mydocx.ru - 2015-2026 year. (0.519 sec.) Все материалы представленные на сайте исключительно с целью ознакомления читателями и не преследуют коммерческих целей или нарушение авторских прав - Пожаловаться на публикацию