Главная Случайная страница


Полезное:

Как сделать разговор полезным и приятным Как сделать объемную звезду своими руками Как сделать то, что делать не хочется? Как сделать погремушку Как сделать так чтобы женщины сами знакомились с вами Как сделать идею коммерческой Как сделать хорошую растяжку ног? Как сделать наш разум здоровым? Как сделать, чтобы люди обманывали меньше Вопрос 4. Как сделать так, чтобы вас уважали и ценили? Как сделать лучше себе и другим людям Как сделать свидание интересным?


Категории:

АрхитектураАстрономияБиологияГеографияГеологияИнформатикаИскусствоИсторияКулинарияКультураМаркетингМатематикаМедицинаМенеджментОхрана трудаПравоПроизводствоПсихологияРелигияСоциологияСпортТехникаФизикаФилософияХимияЭкологияЭкономикаЭлектроника






Грунтование кровельной листовой стали





Одним из недостатков стальной кровли является ее быстрая коррозия при неблагоприятных экологических и атмосферных условиях. Для того чтобы кровля прослужила дольше, листовой материал необходимо загрунтовать.

Грунтование – несложная операция, которая заключается в том, что стальные листы, предварительно очищенные от пыли, покрываются с обеих сторон натуральной олифой. Олифа наносится ровным слоем на всю поверхность листа, а чтобы избежать пропусков, в бесцветную и прозрачную олифу надо добавить небольшое количество тертого сурика в соотношении 10: 1.

На стол устанавливается металлический противень, в который наливается олифа, смешанная с суриком. Туда же на ребро ставится стальной лист, и кровельщик, поддерживая его одной рукой, другой рукой при помощи смоченной в олифе ветоши протирает сначала одну сторону, а потом другую.

Выполнять эту операцию рекомендуется с некоторым давлением.

По ее окончании необходимо убедиться, что на листе нет пропусков и затеков олифы, и только после этого приступать к другому листу.

Загрунтованные стальные листы перед использованием должны быть хорошо просушены.

Этот тип покрытия чаще всего используют при строительстве малоэтажных жилых домов с уклоном кровли 25–45°. Кровля из асбестоцементных листов отличается достаточной прочностью, долговечностью, огнеустойчивостью и экономичностью.

Обрешетку под такую кровлю делают из брусков сечением 50 х 50 мм или 60 х 40 мм, которые прибивают на расстоянии 500 мм друг от друга, что составляет чуть меньше половины асбестоцементного листа.

Желательно, чтобы кровельные работы выполняли 4 человека. Перед их началом необходимо рассортировать все листы в зависимости от направления их укладки. Если укладку ведут справа налево, то листы надо подобрать так, чтобы крайняя правая волна на них была рядовой, а крайняя левая – перекрываемой. У стандартных асбестоцементных листов высота рядовой волны составляет 54 мм, а перекрываемой – 45 мм. Отобранные листы собирают в стопки по три обычных и одному укороченному и размещают вдоль стены.

Для ведения монтажа необходимо сделать подмостки и приготовить прочную веревку. Один человек подает листы своему напарнику, находящемуся на подмостках, а два других, стоя на обрешетке, принимают и устанавливают листы.

Для того чтобы асбестоцементные листы прикрепить к обрешетке, в них делают 3–4 отверстия для гвоздей или шурупов.

Отверстия проделывают с помощью дрели таким образом, чтобы они располагались на гребне волны, а их диаметр был примерно на 2–3 мм больше диаметра гвоздя или шурупа.

Кровельные работы начинают с карнизного ряда, правильность установки которого контролируют шнуром-причалкой. Кладут листы снизу вверх горизонтальными рядами. Соседние листы соединяют внахлестку на целую волну или на ее половину. Листы второго ряда напускают на листы первого ряда на 100–150 мм (величина напуска зависит от того, какой у крыши уклон: чем он больше, тем напуск меньше).

Для удобства работ перед их началом вдоль карнизной доски крепят противоветровые скобы по две на каждый лист, так, чтобы своими отогнутыми концами они крепко удерживали асбестоцементный лист за гребни волны. После того как будет уложен первый ряд, по нему мелом или карандашом намечают линию нахлестки и укладывают второй ряд.

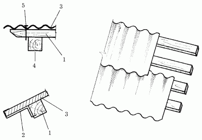
Асбестоцемент крепят к основанию оцинкованными гвоздями длиной 70–90 мм или шурупами, под шляпки которых подкладывают шайбы из оцинкованной стали, резины, либо прокладки, сделанные из двух слоев рубероида (рис. 68).

Рис. 68. Крепление асбоцементных волнистых листов: 1 – бруски; 2 – скоба; 3 – лист; 4 – свес фронтона; 5 – гвоздь.

 

Гвозди в обрешетку следует забивать сверху через асбестоцементный лист, в противном случае на последнем могут образоваться трещины и сколы.

После окончания кровельных работ шляпки гвоздей, а также все имеющиеся подозрительные трещины покрывают суриковой замазкой.

Укладывать асбестоцементные листы можно двумя способами: вразбежку, смещая их в сторону в каждом вышележащем ряду, или строго один над другим.

Более надежным и простым является первый способ, так как при укладывании листов друг над другом без смещения один лист по краям перекрывается четырьмя соседними, в результате чего образуются щели, через которые может проникать влага. Чтобы избежать этого, предварительно углы листов необходимо обрезать.

Черепичная кровля предназначена не только для покрытия и защиты кровли от внешних воздействий, но и служит в качестве декоративного украшения, которое зачастую до неузнаваемости преображает небольшой дачный коттедж, делая его похожим на домик сказочной феи. Кроме того, черепичная кровля обладает рядом достоинств. Среди них можно выделить пожаробезопасность, большой срок службы, легкость монтажа.


Черепица обладает большой массой, и потому конструкция обрешетки должна весить несколько больше, чем обрешетка, например, под асбофанеру или асбестоцемент. Уклон кровли должен составлять не менее 40–45°.

Обрешетку под кровлю, которая будет выложена черепицей, составляют из широких досок или деревянных брусков сечением 0,5 х 0,5 или 0,6 х 0,4 см. Заготовленные доски или бруски раскладывают вдоль линии карниза с учетом того, что прикрепленная затем черепица верхнего ряда будет довольно легко входить в венчик черепицы нижнего.

При этом количество черепиц, составляющих вертикальные и горизонтальные ряды, обязательно должно быть равно целому числу.

Бруски или доски следует прикреплять, направляя их от конька к карнизу. После возведения обрешетки по краю карниза необходимо уложить доски, ширина которых составляет 15 см.

Для удобства проведения работ по укладке черепицы по карнизному краю доски лучше всего прикрепить уравнительную рейку.

Далее черепицу поднимают на крышу и раскладывают на ходовых мостиках длиной до 5 м с тем расчетом, чтобы ее хватило на составление 2–3 рядов. Дальнейшие работы кровельщик выполняет, сидя на треугольной скамье, которую для обеспечения безопасности следует прикрепить к обрешетке.

Кровля из асбофанеры имеет ряд достоинств: долгий срок эксплуатации, пожаробезопасность и легкость сборки. Однако при этом существует один недостаток: данный материал достаточно хрупкий и требует бережного обращения при монтаже.

Обрешетку под кровлю из асбофанеры делают из деревянных брусков, сечение которых составляет 0,5 х 0,5 см.

Покрытие кровли асбофанерой начинают вести с карниза. После завершения первого ряда кладут второй, при этом один лист нужно накладывать на другой так, чтобы ширина нахлеста была равна 10–14 см. Данная величина зависит от угла уклона кровли: чем он круче, тем меньше напуск.

Горизонтальные ряды покрытия составляют также из листов, уложенных внахлест. При этом один лист должен заходить на другой на величину, равную ширине или 0,5 ширины волны.

Приготовленные и разложенные листы асбофанеры крепят к обрешетке, используя предназначенные для этого шиферные гвозди.

Под них подкладывают две шайбы (верхнюю изготавливают из кровельного железа, а нижнюю – из толя или рубероида) и забивают молотком. По окончании работ шляпки гвоздей для предотвращения коррозии покрывают олифой или суриковой замазкой.

Кровли из рулонных материалов легки, экономичны и в том случае, когда их выполняют с соблюдением всех технологических требований, достаточно надежны. К их недостаткам можно отнести малую огнестойкость, небольшую механическую прочность и неэстетичность, поэтому чаще всего их используют при возведении хозяйственных построек.

Кровли из рулонных материалов представляют собой гибкий изоляционный ковер, который настилают насухо или наклеивают на основание при помощи горячих и холодных мастик.

Рулонные кровли выполняют одно-, двух– или трехслойными (чаще двухслойными). В толевых кровлях оба слоя делаются из толя, в рубероидных – нижний слой делают из пергамина или подкладочного рубероида.


Как правило, такой вид кровли применяют на пологих скатах, уклон которых не превышает 12°.

Основание под кровлю может быть одно– или двухслойным. Последнее предпочтительнее. Однослойное сплошное основание делают из досок толщиной 25 и шириной 90–120 мм. Первый, несущий, слой двухслойного основания выполняют из досок толщиной 25 и шириной 100–120 мм, уложенных с зазором 45–50 мм. Второй, выравнивающий, выполняют из досок толщиной 15–20 мм и шириной 80–100 мм, уложенных вплотную друг к другу под углом 45° к карнизу.

Для того чтобы кровельный материал при работе не скатывался, предварительно его надо подержать некоторое время в раскатанном виде или перемотать в рулон обратной стороной.

При покрытии насухо рулонный материал настилают в два слоя: один – вдоль карниза, другой – перпендикулярно к нему. Каждый слой по краям прибивают гвоздями. Окончательное крепление покрытия осуществляют с помощью реек сечением 30 х 30 мм, прибитых перпендикулярно к карнизу.

Покрыть кровлю рулонным материалом сухим способом можно и по-другому. Для этого к обрешетке перпендикулярно к карнизу прибивают треугольные бруски сечением 50 х 50 мм (рис. 75).

Рис. 75. Устройство кровли с использованием треугольных брусков: 1 – рулонный материал; 2 – треугольный брусок; 3 – насадка из рубероида или толя.

 

Расстояние между брусками должно быть меньше ширины рулонного материала на 100 мм. Разрезанные заранее полотна двойным слоем укладывают между брусками и прибивают толевыми гвоздями через каждые 500 мм. В таком случае на гребне бруска получается шов, который перекрывают накладкой из сложенного вдвое толя или рубероида. Затем накладку прибивают толевыми гвоздями. На свесах крыши рулонный материал заворачивают под обрешетку на 100 мм и закрепляют толевыми гвоздями. На коньке и ребрах его загибают на 150 мм и прижимают двумя досками толщиной 25 мм и шириной 150 мм.

Последнее время широкое распространение, особенно на Севере, получили кровли из синтетических плит. Они выпускаются плоскими и волнистыми, в виде рулонов и имеют стеклопластиковую основу. Кровли из этого материала настилают так же, как и кровли из асбестоцементных плит, перед которыми они имеют несомненное преимущество: они более декоративны и легки (рис. 76).

Рис. 76. Общий вид кровли из синтетических плиток.

Обрешетку под плиты устраивают из сплошных рядов теса, толщина которого 25 мм, а ширина не более 120 мм, потому что более широкие дощечки, как правило, сильно коробятся.

Сначала на обрешетку укладывают слой толя и прибивают его, используя специальные толевые гвозди. На ребрах, разжелобках и коньках стелют рубероид. И толь, и рубероид кладут, перекрывая нижележащий лист на 100 мм. Затем в направлении от свесов к коньку кладут синтетические плиты, каждую из которых прибивают к основанию толевыми гвоздями с широкой шляпкой.


Фасонные плиты, а также карнизные и коньковые крепят при помощи не только гвоздей, но и эластичной мастики. Под плиты, лежащие вокруг трубы, кладут оцинкованный стальной воротник, который для удобства делают из двух частей. Части воротника затем заделывают суриковой краской. С боков и снизу воротник на 150–170 мм выпускают, а сверху заправляют под плиты.

27.Вычертить венчающую часть наружных каменных стен: карниз.

Рис. Карнизы: а - кирпичный; б - железобетонный; в - кирпично-железобетонный; г - деревянный с открытыми кобылками; д - деревянный зашитый досками. 1 - профиль штукатурного карниза; 2 - участок деревянной обрешетки у карниза; 3 - стропильная нога; 4 - кобылка; 5 - мауэрлат; 6 - толь; 7 - проволочная скрутка; 8 - костыль (ерш); 9 - чердачное перекрытие; 10 - стальной анкер в швах между плитами; 11 - карнизная железобетонная плита плоская; 12 - капельник; 13 - уголок; 14 - карнизная железобетонная плита фигурная; 15 - обшивка досками; 16 - доска, заделанная в стену

№33. начертить венчающую часть наружной стены: карниз

Венчающий карниз

Конструкция венчающего карниза конца XVIII в.: 1 — кирпич; 2 — белый камень; 3 — железные связи

№34. Выполнить детали устройства оконного блока с раздельными переплетами в кипичных стенах

 

№36. Выполнить поперечный разрез чердачной скатной крыши по деревянным стропилам с висячими стропилами

 

№35. Выполнить поперечный разрез чердачной скатной крыши по деревянным стропилам с наслонными стропилами

 







Date: 2015-09-05; view: 3033; Нарушение авторских прав



mydocx.ru - 2015-2026 year. (1.001 sec.) Все материалы представленные на сайте исключительно с целью ознакомления читателями и не преследуют коммерческих целей или нарушение авторских прав - Пожаловаться на публикацию